Студопедия

Главная страница Случайная страница

КАТЕГОРИИ:

АвтомобилиАстрономияБиологияГеографияДом и садДругие языкиДругоеИнформатикаИсторияКультураЛитератураЛогикаМатематикаМедицинаМеталлургияМеханикаОбразованиеОхрана трудаПедагогикаПолитикаПравоПсихологияРелигияРиторикаСоциологияСпортСтроительствоТехнологияТуризмФизикаФилософияФинансыХимияЧерчениеЭкологияЭкономикаЭлектроника






Сущность наплавки.






Одной из важных отраслей современной сварочной техники является наплавка – нанесение расплавленного металла на поверхность изделия, нагретую до оплавления или до температуры надежного смачивания жидким наплавленным металлом. Наплавленный металл связан с основным металлом весьма прочно и образует одно целое с изделием. Толщина слоя от 0, 5 до 10 мм и более. Это один из наиболее распространенных способов повышения износостойкости и восстановления деталей и конструкций. Наплавка позволяет создавать биметаллические изделия, у которых высокая прочность и низкая стоимость сочетаются с большой долговечностью в условиях эксплуатации. Многократное повторное восстановление изношенных деталей во много раз уменьшает расход металла для изготовления запасных частей оборудования. Путем наплавки на рабочей поверхности изделия получаем сплав, обладающий комплексом свойств - износостойкостью, кислотоупорностью, жаростойкостью и т.д. Масса наплавленного металла не превышает нескольких процентов от массы изделия. При ремонте восстанавливаются первоначальные размеры и свойства поверхности деталей. Увеличение стойкости важно, если от нее зависит работа того или иного агрегата, а его замена связана с простоем. Дуговая наплавка в отличие от сварки развивалась гораздо медленнее. Ручная износостойкая наплавка открытой дугой известна с 20-х годов прошлого столетия, но ее промышленное применение ограничивалось коренными ее недостатками: низкой производительностью, высококвалифицированной рабочей силой, тяжелыми условиями труда, непостоянным качеством наплавленного металла, обилием различных дефектов. Для наплавки наибольшее применение получила дуговая сварка плавящимся электродом. Требования к качеству наплавленного металла строже чем к сварным швам. Наплавленный металл по свойствам должен существенно отличаться от основного металла. Часто в нем недопустимы поры, трещины и иные пороки, поэтому требования к нему строже, чем к сварным швам. Автоматическая наплавка свободна от перечисленных недостатков и способствовала успешному ее внедрению. Механизированная наплавка – это непрерывность процесса, которая достигается использованием электродной проволоки или ленты в виде больших мотков; в подводе тока к электроду на минимальное расстояние от дуги, что позволяет применять токи большой силы без нагрева электрода; в применении различных способов защиты расплавленного металла от вредного воздействия воздуха. Оптимальный состав наплавленного металла должен быть выбран с учетом особенностей его эксплуатации, а электродная проволока, флюс, термический режим наплавки – так, чтобы наплавленный металл обладал необходимым химическим составом и физическими свойствами. Процессы наплавки применяются при ремонте и восстановлении первоначальных размеров и свойств изделий, изготовлении новых изделий с целью обеспечения надлежащих свойств конкретных поверхностей. При восстановлении наплавку обычно выполняют тем же металлом, из которого изготовлено изделие, однако это не всегда целесообразно. Иногда необходимо получить металл, отличающийся от металла детали, так как условия эксплуатации поверхностных слоев могут значительно отличаться от условий эксплуатации всего изделия. Изготовление изделия целиком из металла, который обеспечивает эксплуатационную надежность работы его поверхностей не экономно. Целесообразно изготавливать изделие из более дешевого, но достаточно работоспособного металла и только на поверхностях, работающих в особых условиях, иметь по толщине необходимый слой другого материала (применять биметалл). Это может быть достигнуто: поверхностным упрочнением (поверхностная закалка, электроискровая и другие виды обработки); нанесением тонких поверхностных слоев значительной толщины на поверхность (на низкоуглеродистую сталь нанесением бронзы, коррозионностойкой стали и др.) Для успешного развития наплавки промышленностью выпускается углеродистая, легированная стальная проволока 56 марок, специальная наплавочная проволока 28 марок, различные флюсы и специальные наплавочные электроды. Развитие наплавки направлено в первую очередь на полную механизацию трудоемких наплавочных работ за счет автоматической и полуавтоматической наплавки. Разрабатываются новые технологии. Характеристика основных способов наплавки.Различные дуговые способы наплавки отличаются друг от друга тепловой подготовкой основного и наплавляемого металлов. Например, плазменная наплавка прямого и косвенного действия (при косвенном действии меньшее проплавление основного металла). Применение порошков, наплавочных колец путем их расплавления и подплавления на заготовке основного металла дугой с неплавящимся электродом позволяет не увеличивать долю основного металла в наплавленном слое.

Из-за износа деталей ежегодные убытки в промышленности всех стран мира составляют многие миллиарды долларов, поскольку при остановках оборудования (связанных с его ремонтом) выпуск продукции на предприятии снижается. В процессе эксплуатации изделия подвергаются следующим видам износа:

 

1. Износ типа «металл по металлу» – при трении качения и скольжения деталей относительно друг друга с недостаточным количеством смазки или совсем без нее.

2. Ударный износ – при воздействии ударных или сжимающих нагрузок, приводящих к смятию и растрескиванию рабочих поверхностей.

3. Совместный ударно-абразивный износ – при воздействии ударных нагрузок и режущего действия скользящих по инструменту твердых частиц, что приводит к выкрашиванию, растрескиванию и стачиванию рабочих поверхностей.

4. Интенсивный абразивный износ – в результате воздействия сыпучих материалов, приводящего к стачиванию и эрозии рабочей поверхности. Его разновидностью является износ типа «металл по земле», встречающийся у оборудования, используемого при землеройных работах. Также разновидностью его можно считать эрозионный износ при воздействии на рабочую поверхность запыленного газового потока.

5. Коррозионный износ – в результате коррозионного воздействия окружающей среды, а также вследствие окисления при повышенных температурах.

6. Кавитационный износ – имеет место в гидравлических системах. На практике обычно реальный износ является результатом комбинированного воздействия нескольких указанных выше видов износа, причем почти всегда один из них превалирует. Для противостояния износу рабочие поверхности необходимо упрочнять.

Один из наиболее эффективных способов упрочнения – электродуговая наплавка. Это недорогой метод продления срока службы металлических изделий нанесением на их поверхность защитного слоя. Он применяется не только для ремонта изношенных элементов конструкции, но и для придания особых свойств поверхностям новых изделий перед вводом их в эксплуатацию. Помимо увеличения срока эксплуатации изделий, метод наплавки имеет и другие достоинства:

• Сокращается количество запасных частей эксплуатируемого оборудования.

• Увеличивается эффективность эксплуатации оборудования в связи с сокращением времени его простоя.

• Основная часть (основа) детали может быть выполнена из дешевой низколегированной стали.

• Снижаются расходы на обслуживание оборудования.

 

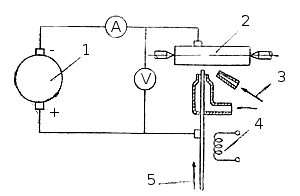
2.2 Автоматическая наплавка твердых сплавов предпочтительнее ручной наплавки как по качеству получаемой наплавки, так и по значительно большей производительности. Получение высоких механических и металлургических свойств наплавки при этом методе достигается легированием наплавленного металла хромом, марганцем, углеродом, вольфрамом и другими элементами путем применения стандартной электродной или специальных порошковых проволок. В качестве флюса используются стандартные плавленные и специальные легирующие керамические флюсы. При наплавке малогабаритных деталей полого сечения для охлаждения детали и предупреждения растекания расплавленного (основного и наплавленного) металла и шлака внутренняя поверхность омывается проточной водой. Восстановление опорных валков прокатных станов (отбеленный чугун или низколегированная сталь) производится автоматической наплавкой малоуглеродистой электродной проволокой (Св-08) под керамическим флюсом, за счет которого осуществляется легирование наплавленного слоя углеродом, марганцем, хромом или наплавкой порошковой проволокой (марки ПП-ЗХВ8), обеспечивающей легирование (углеродом, ванадием, хромом и др.) металла под плавленным флюсом АН-20. Автоматическая дуговая наплавка под флюсом при использовании обычных режимов и электродной проволоки обеспечивает m = 0, 45÷ 0, 65. Введение в зону дуги дополнительной изолированной присадочной проволоки позволяет снизить т до 0, 17. Замена проволоки лентой или использование электродной проволоки в сочетании с поперечными колебаниями обеспечивает надежную наплавку при m = 0, 08÷ 0, 15. Снижение т до 0, 2—0, 3 достигается также при многоэлектродной наплавке, когда несколько электродных проволок подсоединяют к одному зажиму источника питания, а дуга блуждает с одного электрода на другой и горит в общей полости. Наплавка ведется как при использовании плавленых флюсов, так и керамических. Состав флюса и электродной проволоки выбирают в зависимости от состава наплавленного слоя. В качестве электродного металла используют сварочную проволоку, применяемую при сварке сталей и сплавов, специальную электродную проволоку для наплавки по ГОСТ 10543—82, порошковую проволоку и ленту, например, порошковую проволоку ПП-АН120 типа 18Х1Г1М по ТУ 14-4-684—76 в сочетании с флюсом АН-348-А или АН-60 для наплавки катков и натяжных колес гусеничных машин, посадочных мест валов и др.; порошковую ленту ПЛ-АН101 типа 300Х25М3Н3Г2 по ТУ 48-19-43—73 в сочетании с флюсом АН-15М для наплавки высокохромистого износостойкого сплава типа «Сормайт-1» на детали, работающие в условиях интенсивного абразивного изнашивания при нормальных и высоких температурах. Используются также спеченные металлокерамические ленты; например, лента спеченная электродная ЛС-70ХЗНМ типа 70ХЗГСНМ по ГОСТ 22366-77 и сочетании с флюсом АН-60 или АН-20П для наплавки деталей, работающих в условиях интенсивного абразивного изнашивания: деталей ходовой части грузовых автомобилей и тракторов, а также деталей металлургического оборудования. Автоматическая вибродуговая наплавка в струе защитной (охлаждающей) жидкости (рис. 236) применяется при восстановлении изношенных деталей машин. Способ состоит в том, что к вращающейся детали подается электродная проволока, подключенная к источнику питания. Зона наплавки охлаждается жидкостью. Подача проволоки сопровождается продольной ее вибрацией с помощью вибратора. При вибрации проволоки возникают короткие замыкания цепи, стабилизирующие процесс и способствующие переносу электродного металла. Наплавка производится стальной проволокой диаметром 1, 5 — 2 мм.

Рис. 236. Принципиальная схема вибродуговой наплавки: 1 — сварочный генератор; 2 — деталь; 3 — жидкость; 4 — магнит вибратора; 5 — подача проволоки.

Способ электрошлаковой наплавки (рис. 237) рассчитан на применение электродов большого сечения, что позволяет значительно повысить производительность процесса. Этим способом можно производить наплавку высокохромистых ледебуритных сталей (Х12), быстрорежущих, ряда аустенитных сталей и других сплавов.

Рис. 237. Схема электрошлаковой наплавки: а — плоской поверхности; б — цилиндрической поверхности; в — конической поверхности; 1 — наплавляемая деталь; 2 — наплавленный металл; 3 — медный ползун; 4 — электродная проволока; 5 — токоподводящий мундштук; 6 — медный кокиль.

Автоматическая наплавка применяется, кроме того, для изготовления двухслойных изделий (наплавка цветных металлов и сплавов на сталь, чугун и другие металлы).

 


Поделиться с друзьями:

mylektsii.su - Мои Лекции - 2015-2026 год. (0.398 сек.)Все материалы представленные на сайте исключительно с целью ознакомления читателями и не преследуют коммерческих целей или нарушение авторских прав Пожаловаться на материал