Студопедия

Главная страница Случайная страница

КАТЕГОРИИ:

АвтомобилиАстрономияБиологияГеографияДом и садДругие языкиДругоеИнформатикаИсторияКультураЛитератураЛогикаМатематикаМедицинаМеталлургияМеханикаОбразованиеОхрана трудаПедагогикаПолитикаПравоПсихологияРелигияРиторикаСоциологияСпортСтроительствоТехнологияТуризмФизикаФилософияФинансыХимияЧерчениеЭкологияЭкономикаЭлектроника






Визначення тиску в накатнику.






Номер операції Зміст операції Виконавець
1 1. Додати хитної частини гармати максимальний кут схилення. В-С
2 2. Вигвинтити ключем А52840-65 кришки 71 (рис. 3) з гнізд для вентиля й трійника. М
3 Угвинтити ключем у гніздо трійник з манометром. М
4 Відкрити ключем А72930-53 запірний вентиль 66 приблизно на півоберту М
5 Прочитати тиск на шкалі манометра по показанню його стрілки. М
6 Закрити ключем А72930-53 вентиль 66 до відмови. М
7 Вигвинтити манометр із трійника М
8 Вигвинтити трійник із гнізда накатника. М
9 Створити гідравлічний запор: - для цього хитної частини, гармати необхідно додати кут узвишшя 10-15º, відкрити вентиль на чверть оберту й, як тільки з отвору в гнізді для трійника з’явиться рідина, вентиль закрити. М
10 Закрити гнізда пробками. В-С

Визначення кількості рідини в накатнику.

Визначити кількість рідини в накатнику можна:

- методом штучного відкату;

- за допомогою оглядового вікна.

Методом штучного відкату визначають кількість рідини після кожного перебирання гармати й після кожного додавання або зменшенні кількості рідини в накатнику.

За допомогою оглядового вікна визначають кількість рідини в накатнику перед стрільбою.

Визначення кількості рідини в накатнику методом штучного відкату

Номер операції Зміст операції Виконавець
1 З'єднати трійник і манометр із накатником (див. «Визначення тиску в накатнику»). М
2 Установити прилад (рис. 5) для відтягування ствола, для чого: - угвинтити рукою або ключем 22-24 гвинт 1 у втулку 6 (рис. 3) штиря обойми казенника до зіткнення з упором 36 на колисці; - надягти на квадратний кінець гвинта кільце 2 (рис. 5) і муфту 5; - поставити на казенник стійку 4 і вгвинтити ключем 22-24 два болти 3; - поставити редуктор 6 для підйому коліс у стійку так, щоб квадрат муфти 5 увійшов у квадратний отвір редуктора, і закріпити редуктор у напрямної стійки, загвинтивши ключем 22-24 болт 3. В-С
3 Обертаючи рукоятку редуктора, відтягнути ствол до сполучення заднього зрізу припливу обойми казенника з першої рискою на кронштейні копіра, відкрити вентиль накатника, прочитати показання манометра й закрити вентиль; відтягнути ствол на 250 мм (до другий ризки). В-С
4 Відкрити вентиль накатника й прочитати показання манометра. М
5 Закрити ключем А72930-53 вентиль 66 до відмови. М
6 Визначити кількість рідини в накатнику за графіком, поміщеному на щитку огородження зі спуском, для чого; - по отриманих двом показанням манометра відшукати на графіку крапку перетинання горизонтальної лінія, відповідної до показання манометра на першої ризику, і вертикальної лінії, що відповідає показу манометра на другий риски; - якщо крапка перетинання виявиться на середній жирній похилій лінії з написом унизу «13, 4», та кількість рідини в накатнику нормальне (13, 4 л). Кількість рідини в накатнику допускається в межах 13, 1-13, 7 л; при цьому крапки перетинання будуть перебувати між похилими лініями, позначеними «13.1» і «13.7». Якщо ж крапка перетинання нижче похилої лінії з написом «13, 1», то рідини в накатнику менше норми і її треба додати; якщо крапка перетинання вище лінії з написом «13, 7», те рідини в накатнику більше норми і її треба зменшити. М
7 Обертаючи рукоятку редуктора, проти годинкової стрілки, повернути ствол в вихідне положення. В-С
8 Зняти прилад (рис. 5) для відтягування ствола, гвинт 1, кільце 2 (рис. 5) і муфту 5. В-С
9 Вигвинтити манометр із трійника М
10 Вигвинтити трійник із гнізда накатника. М
11 Створити гідравлічний запор: - для цього хитної частини, гармати необхідно додати кут узвишшя 10-15º, відкрити вентиль на чверть оберту й, як тільки з отвору в гнізді для трійника з’явиться рідина, вентиль закрити. М
12 Закрити гнізда пробками. В-С
13 Розкласти всі приладдя, інструменти та елементи ЗІП на штатні місця. В-С, М

3.7. Графічний матеріал, якій використовується при виконанні завдання курсової роботи.

Рис. 1. Загальний вид гармати-гаубиці в похіднім положенні

 

Рис. 2. Загальний вид гармати-гаубиці в бойовім положенні


Рис. 3. Накатник:

2 — корпус сальника 07-62/ П-472; 3 — ущільнююче кільце 07-7/ П-472; 4 — гумове кільце 07-75/ П-472; 6 — натискна гайка 07-66/ П-472; 7 — кільце 07-63/ П-472; 8 — шкіряне кільце 07-65/ П-472; 9 — кільце 07-64/ П-472; 10 — кран 07-61/ П-472 21 — шток 07-49/ П-472; 22 — головка штока 07-38/ П-472; 23 — підкомірцеве кільце 07-18/ П-472; 24 — підкомірцеве кільце 07-20/ П-472; 25 — комір В2/ П-472; 26 — сорочка поршня 07-40/ П-472; 27 — гайка 07-22/ П-472; 28 — пружинне кільце 07-21/ П-472; 29 — задня кришка Сб 07-9/ П-472; 31 - пружинне кільце 07-25/ П-472; 33 — пробка В8; 34 — ущільнююче кільце В10; 39- гвинт М6Х8-010 ДСТУ 1477-75; 40 — гайка 07-68/ П-472; 41 — клапан 07-69/ П-472; 42- пружина 07-Ш П-472; 43 — підкомірцеве кільце 07-34/ П-472; 44 — комір 48X28X10 07-31/ П-472; 46 — підкомірцеве кільце 07-9/ П-472; 47 — диск 07-67/ П-472; 48 — спеціальний болт М16Х34 07-51/ П-472; 49 — пружинне кільце 07-76/5 Й-П-472; 50 — гайка 07-30/ П-472; 52 — сальник 07-29/ П-472; 53 — гайка 07-28/ П-472; 56 — вісь 07-70/ П-472; 57 — штифт 07-94/ 472-; 58 — пружина А51230-127; 59 — стопор 07-74/П-472; 60 — кронштейн 07-71/ П-472; 61 - гвинт II М6Х14-010 ДСТУ 10976-64; 62- важілець 07-73/ П-472; 63 — кнопка 07-72/ П-472; 65 — гвинт 07-89/ П-472; 66 — запірний вентиль 07-90/ П-472; 71 — кришка А52131-76;


 

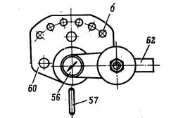
Рис. 4. Складання важеля крана:

56 — вісь 07-70/ П-472; 57 — штифт 07-94/ П-472; 60 — кронштейн 07-71/ П-472;

62 — важілець 07-73/ П-472; б — отвір

Рис. 5. Редуктор д ля підйому коліс ІЗ642-50В/ П-472:

1 — втулка 42-170/ П-472; 2 — гвинт II М6Х12 ДСТУ 10976—64; 3 — прокладка 42-184А/ П-472; 4 — втулка 42-172/ П-472; 5 — штифт циліндричний 4Пр22ах Х40 ДСТУ 3128—70; 6 — вал-шестірня 42-183/ П-472; 7 — колесо Сб 42-60/ П-472; 8 — втулка 42-173/ П-472; 9 — рукоятка Сб 42-59/ П-472; 10 — корпус із кришкою Сб 42-54А/ П-472; 11 — кришка Сб 42-52А/ П-472; 12 — втулка 42-171/ П-472; 13 — штифт циліндричний 4Пр22ах16 ДСТУ 3128—70; 14 — штифт циліндричний 4Пр22ах10 ДСТУ 3128—70; 15 — засувка 42-186/ П-472; 16 - пружина 42-188/ П-472; 17 — палець 42-185/ П-472

Рис. 6. Прилад для відтягування ствола

З642-63/ П-472:

1 - гвинт 42-1/ П-472; 2 — кільце 42-205/ П-472; 3- болт М14Х30-010 ДСТУ 7798-70; 4 — стійка Сб 42-61/ П-472; 5 — муфта Сб 42-62/ П-472; 6 — редуктор для підйому коліс Сб 42-50В/ П-472


Поделиться с друзьями:

mylektsii.su - Мои Лекции - 2015-2026 год. (1.225 сек.)Все материалы представленные на сайте исключительно с целью ознакомления читателями и не преследуют коммерческих целей или нарушение авторских прав Пожаловаться на материал