Студопедия

Главная страница Случайная страница

КАТЕГОРИИ:

АвтомобилиАстрономияБиологияГеографияДом и садДругие языкиДругоеИнформатикаИсторияКультураЛитератураЛогикаМатематикаМедицинаМеталлургияМеханикаОбразованиеОхрана трудаПедагогикаПолитикаПравоПсихологияРелигияРиторикаСоциологияСпортСтроительствоТехнологияТуризмФизикаФилософияФинансыХимияЧерчениеЭкологияЭкономикаЭлектроника






Краткое описание заданной системы с принципиальной схемой






Система питания двигателя маслом служит для смазки трущихся деталей двигателя и для отвода тепла от нагревающихся узлов двигателя. Тепло, отводимое маслом, поглощается топливом в топливомасляном радиаторе и в проставке двигателя атмосферным воздухом.

Для каждого двигателя имеется самостоятельная система питания маслом. Емкость системы одного двигателя 35 л.

Маслосистема нормальнозамкнутого типа. т. е. масло циркулирует по следующей схеме: маслобак, двигатель, проставка двигателя, радиатор, маслобак. Систему маслопитания можно разделить на две части: самолетную и двигательную.

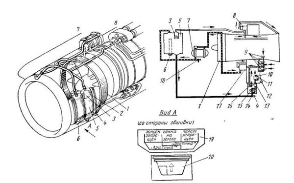
В самолетную часть входят следующие агрегаты (рис. 1).

Маслобак 5. В маслосистеме каждого двигателя имеется свой масляный бак. Емкость каждого бака 23 л. Заправляется в бак 19... 20 л. Контроль заправки — по мерной линейке 2, рядом с которой находится заливная горловина с крышкой, и по поплавковому масломеру 6. Шкала масломера находится снаружи бака и просматривается с земли через окошко в обшивке гондолы. Шкала вращаемого барабана 20 имеет три сектора: красный—«запуск запрещен (масла до 7 л) красный — зеленый «Гонка на земле» (масла в баке от 7 до 15 л) и зеленый сектор — «Полет, разрешен» (масла в баке свыше 15 л) (см. рис. 1. вид А). Контроль заправки по шкале, расположенной напротив стрелки, нанесенной на крышке из оргстекла и закрывающей барабан.

Маслобак суфлируется через центробежный суфлер 8. Заправка бака

маслом через заливную горловину 3. Слив масла из бака через кран 4. расположенный под маслонасосом ОМН-ЗО 15.

 

Рис. 1. Схема маслосистемы:

1—маслоохлаждающий переходник; 2—мерная линейка: 3—заливная горловина; 4— сливной кран; 5—маслобак; 6—масломер; 7—топливо-масляный радиатор (изд. 62); 8—центробежный суфлер ЦС-30; 9-масляный насос откачки МНО-ЗО; 10—фильтр МФС-30; 11—перепускной клапан фильтра; 12—сливной кран на двигателе; 13— обратный клапан; 14—редукционный клапан; 15—нагнетающая ступень основного масляного насоса ОМН-ЗО; 16— откачивающая ступень ОМН-ЗО; 17—центробежный воздухоотделитель с фильтром- сигнатзатором наличия стружки в масле ЦВО-ФСЗО; 18—сливной кран; 19—информация на обшивке гондолы; 20—барабан со шкалой

 

Топливомасляный радиатор (ТМР) 7. Предназначен для охлаждения масла, циркулирующего в системе. Масло, протекающее между трубками, отдает тепло топливу, проходящему по трубкам и идущему на питание двигателя. В масляной магистрали ТМР есть Редукционный клапан рассчитанный на перепад давлений 4 кгс см2. Он пропускает вязкое масло в бак минуя радиатор при запуске двигателя в холодное время. Под ТМР есть кран слива масла. Радиатор установлен в пилоне гондолы двигателя.

 

Рис. 2. Принципиальные схемы масленой системы:

ГЗ – горловина заливная; МБ – маслобак; СБ – суфлерный бачок; ФС – фильтр сетчатый; НП – насос подкачивающий; НН – насос нагнетающий; КР – клапан редукционный; КО – клапан обратный; КП – клапан перепускной; КС – кран сливной; Ф – фильтр; Фр – форсунка; МС – маслосборник; ТСС– термостружкосигнализатор; НО – насос откачивающий; ЦВО – центробежный воздухоотделитель; ТМР – топливно-масляный радиатор; ВМР – воздушномасляный радиатор; ЦС – центробежный суфлер; ТМ – температура масла; рМ – давление масла; Dр – перепад давления масла; НМ – уровень масла; Ст – стружка; Сг – сигнализатор; П – показывающий прибор

Масляная система самолёта Ту-134 выполнена по нормальнозамкнутой схеме, принципиальная схема приведена на рис.2

Контроль за работой маслосистем осуществляется по двум индикаторам ЭМИ-ЗРТИ (на средней приборной доске) и по красным

табло «Стружка в масле» и «Давление масла мало» (на щитке мотоприборов).Перед полетом проверить заправку баков маслом по мерным линейкам и масломерам. Если в полете загорится табло «Стружка в масле» или «Давление масла мало», то необходимо немедленно выключить двигатель. Дублирование сигналов производится по двум красным лампочкам (по одной на каждый двигатель). «Неисправность двигателя», на средней приборной доске. Если после полета будет обнаружено, что масло не расходуется или в маслобаке его уровень повышается, необходимо проверить масло в баке на наличие в нем керосина. При обнаружении керосина снять радиатор и проверить его на герметичность.

 


Поделиться с друзьями:

mylektsii.su - Мои Лекции - 2015-2026 год. (0.709 сек.)Все материалы представленные на сайте исключительно с целью ознакомления читателями и не преследуют коммерческих целей или нарушение авторских прав Пожаловаться на материал