Студопедия

Главная страница Случайная страница

КАТЕГОРИИ:

АвтомобилиАстрономияБиологияГеографияДом и садДругие языкиДругоеИнформатикаИсторияКультураЛитератураЛогикаМатематикаМедицинаМеталлургияМеханикаОбразованиеОхрана трудаПедагогикаПолитикаПравоПсихологияРелигияРиторикаСоциологияСпортСтроительствоТехнологияТуризмФизикаФилософияФинансыХимияЧерчениеЭкологияЭкономикаЭлектроника






Давление насыщенных паров






Нефть и н/п характеризуются определенным давлением насыщенных паров, или упругостью нефтяных паров. Давление насыщенных паров является нормируемым показателем для авиационных и автомобильных бензинов, косвенно характеризующим испаряемость топлива, его пусковые качества, склонность к образованию пробок в системе питания двигателя.

 

 

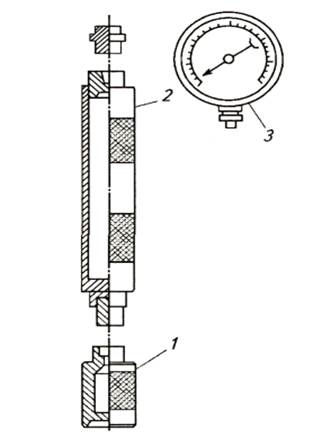
Аппарат для определе­ния давления насыщенных паров нефтепродуктов

 

1 - топливная камера; 2 -воздуш­ная камера; 3— манометр

 

Рис.

 

Для жидкостей неоднородного состава, таких, как бензины, давление насыщенных паров необходимо проводить при стандартной температуре и постоянном соотношении паровой и жидкой фаз.

Температура, при которой давление насыщенных паров становится равным давлению в системе, называется температурой кипения вещества. Давление насыщенных паров резко увеличивается с повышением температуры.

В нефтепереработке широкое применение получил стандартный метод с использованием бомбы Рейда (ГОСТ 1756-2000). Бомба состоит из двух камер: топливной и воздушной с соотношением объемов 1: 4, соединенных с помощью резьбы. Давление, создаваемое парами испытуемого топлива, фиксируется манометром, прикрепленным в верхней части воздушной камеры. Испытание проводят при температуре 38, 8 0С, обеспечиваемой термостатированной баней.

Давление насыщенных паров испытуемого н/п определяют формуле:

 

Рож = Рм - Ратм ∙ (t-to)/(to+273), (14)

 

где Рож - давление насыщенных паров испытуемой жидкости при температуре t, Рм – показания манометра, Ратм – атмосферное давление, to - температура окружающего воздуха, 0С.

Определение давления паров в бомбе Рейда дает приближенные результаты, служащие только для сравнительной оценки качества моторных топлив.

Более точные абсолютные значения давления насыщенных паров получаются при использовании аппарата НАТИ, с помощью которого давление насыщенных паров топлива можно определить в широком интервале температур и при различных соотношениях между объемами паровой и жидкой фаз.

Давление насыщенных паров смесей и растворов в отличие от индивидуальных углеводородов зависит не только от температуры, но и от состава жидкой и паровой фаз. Для растворов и смесей, подчиняющихся законам Рауля и Дальтона, обще давление насыщенных паров смеси (Росм) может быть вычислено по формулам:

Росм = Sрi, (15)

рi = Pio ∙ xi, (16)

где рi – парциальное давление компонента смеси при заданной температуре, Pio – давление насыщенных паров компонентов смеси,

xi - мольная дольная компонентов смеси.

Однако в области высоких давлений реальные газы не подчиняются законам Рауля и Дальтона. В таких случаях найденное давление насыщенных паров уточняется с помощью критических параметров, фактора сжимаемости и фугитивности.


Поделиться с друзьями:

mylektsii.su - Мои Лекции - 2015-2026 год. (1.131 сек.)Все материалы представленные на сайте исключительно с целью ознакомления читателями и не преследуют коммерческих целей или нарушение авторских прав Пожаловаться на материал