Главная страница
Случайная страница
КАТЕГОРИИ:
АвтомобилиАстрономияБиологияГеографияДом и садДругие языкиДругоеИнформатикаИсторияКультураЛитератураЛогикаМатематикаМедицинаМеталлургияМеханикаОбразованиеОхрана трудаПедагогикаПолитикаПравоПсихологияРелигияРиторикаСоциологияСпортСтроительствоТехнологияТуризмФизикаФилософияФинансыХимияЧерчениеЭкологияЭкономикаЭлектроника
|
Разъединитель
Условия выбора разъединителя:
- Uн;
- Iн;
- Iэл.дин.ст.;
- I2*t;
- Конструкция;
- Вторичные цепи.
Расчет параметров разъединителя:


По данным параметрам был выбран разъединитель марки «РГ-35/1000 УХЛ1»
(№3 https://www.ues.su / Уральский Энергетический союз УЭС; №4 https://www.zaokurs.ru / ЗАО Курск «Электротехническое оборудование»).
Разъединитель типа «РГ-35/1000 УХЛ1»

Рис. 1.5
Назначение Разъединители предназначены для включения и отключения обесточенных участков электрических цепей, находящихся под напряжением, а также заземления отключенных участков при помощи заземлителей. Разъединители также используются для отключения токов холостого хода трансформаторов и зарядных токов воздушных и кабельных линий. Конструкция Разъединители предназначены для включения и отключения обесточенных участков электрической цепи, находящихся под напряжением, а также заземления отключенных участков при помощи заземлителей. Присоединительные размеры новых разъединителей выбраны с учетом возможности установки их на существующие опорные конструкции разъединителей серии РДЗ. Разъединители представляют собой двухколонковые аппараты с поворотом контактных ножей в горизонтальной плоскости. Разъединители состоят из главной токоведущей системы, опорно-поворотной изоляции, несущей рамы и заземлителей. Контактные ножи разъединителей выполнены из медных шин, к которым закреплены ламели из бронзового сплава. Выводные контакты выполнены с переходными контактными роликами и герметично закрыты. Это обеспечивает стабильное контактное нажатие в течение всего срока службы и небольшие усилия оперирования на рукоятке ручного привода. Контактирующие поверхности разъемного и выводного контактов покрыты серебром. Разъединители комплектуются полимерными или высокопрочными фарфоровыми изоляторами. Управление главными контактными ножами разъединителей и заземлителями может осуществляться как электродвигательными приводами ПД-14УХЛ1, так и ручными приводами ПРГ-5УХЛ1. Приводы ПРГ-5УХЛ1 комплектуются переключающими устройствами типа ПУ на базе герконов, а приводы ПД-14УХЛ1 — блоком коммутации на базе микровыключателей, и модернизированной электромагнитной блокировкой типа ЗБ-1М с электромагнитным ключом КЭЗ-1М и ключом КМ-1 для аварийного деблокирования. Преимущества: Разъединители серии РГ по сравнению с выпускаемыми до настоящего времени разъединителями серии РДЗ имеют следующие преимущества: 1. Минимальные затраты на обслуживание в процессе эксплуатации: - контактные поверхности покрыты гальваническим оловом и серебром; - элементы конструкции, выполненные из черного металла, имеют стойкие антикоррозийные покрытия горячим и термодиффузионным цинком; - в основаниях поворотных колонок и скользящем контакте главного токоведущего контура применены закрытые подшипники с заложенной в них долговременной смазкой, не требующие обслуживания в течение всего срока службы. 2. Надежность контактной системы (в конструкции отсутствуют гибкие связи, применен скользящий контакт). 3. Разъединители работоспособны при гололеде до 20 мм, тогда как разъединители РДЗ допускают оперирование при толщине корки льда до 10 мм. 4. Отсутствие межколонковой тяги. 5. Отсутствие дополнительных затрат у заказчика при монтаже: - в комплект поставки входят соединительные элементы между полюсами и между разъединителем и приводом, не требующие применения сварки; - возможность поставки разъединителя на несущей металлоконструкции; - в комплект поставки входит кронштейн для установки приводов, устанавливаемый непосредственно на железобетонную опору.
Табл. 1.4 Технические данные
(№3 https://www.ues.su / Уральский Энергетический союз УЭС; №4 https://www.zaokurs.ru / ЗАО Курск «Электротехническое оборудование»)
| Номинальное напряжение, кВ
|
| | Наибольшее рабочее напряжение, кВ
| 40, 5
| | Номинальный ток, A
| 1000, 2000, 3150
| | Ток электродинамической стойкости, кА
| 50, 80, 100
| | Ток термической стойкости, кА
| 20, 31.5, 40
| | Время протекания номинального кратковременного выдерживаемого тока: - для контактных ножей - для заземляющих ножей
| 3 сек. 1 сек.
| | Номинальная частота, Гц
|
| | Испытательное кратковременное напряжение промышленной частоты: - относительно земли и между полюсами - между разомкнутыми контактами
| 95кВ 120кВ
| | Испытательное напряжение грозового импульса 1, 2/50мкс: - относительно земли и между полюсами - между разомкнутыми контактами
| 190кВ 220кВ
| | Длина пути утечки внешней изоляции, см
| 75, 105, 116
| | Допустимая механическая нагрузка на выводы, Н
| 500, 800
| | Тип привода для управления контактным ножом
| Ручной ПРГ-5 УХЛ1 или электродвигательный ПД-14(П) УХЛ1
|
Габаритные размеры разъединителя «РГ-35/1000 УХЛ1»

Рис 1.6
ОПН
Условия выбора ОПН:
- Uнс – класс напряжения сети;
- Uнр – наибольшее рабочее напряжение;
- Номинальный разрядный ток;
- Ток пропускной способности;
- Тип (конструкция);
- Ток взрывобезопасности.
Расчет параметров ОПН:
Iкз = 2кА;
Uн = 35кВ;
Uнр = 42 кВ.
По данным расчетам был выбран ОПН типа «ОПН-35 УХЛ1»
(№5 https://szp.spb.ru / СевЗапПром; №6 https://www.razrad.sp.ru / Разряд Трейд).
ОПН типа «ОПН-35 УХЛ1»

Рис. 1.7
Ограничители перенапряжений нелинейные предназначены для защиты электрооборудования сетей с изолированной и компенсированной нейтралью переменного тока 35 кВ частоты 50 Гц от грозовых и коммутационных перенапряжений.
ОПН рассчитаны для эксплуатации в условиях нормированных для исполнения УХЛ категории размещения 1 по ГОСТ 15150 при высоте не более 1000 м над уровнем моря и температуре окружающей среды от -60оС до +40оС.
Ограничители выдерживают тяжелые провода в горизонтальном направлении не менее 300 м и давление ветра со скоростью до 40 м/с без гололеда и до 15 м/с при толщине гололеда 2 см.
Ток взрывобезопасности ограничителя 20 кА.
Табл. 1.5 Технические характеристики ОПН-35 кВ
(№5 https://szp.spb.ru / СевЗапПром; №6 https://www.razrad.sp.ru / Разряд Трейд)
| Наименование параметра
| Норма для U нр, кВ
| | 40, 5
| 40, 5
| | 1. Класс напряжения сети, кВ
|
|
| | 2. Наибольшее длительно допустимое рабочее напряжение, кВ
| 40, 5
| 40, 5
| | 3. Номинальное напряжение ограничителя, кВ
| 51, 0
| 51, 0
| | 4. Номинальный разрядный ток, кА
|
|
| | 5. Остающееся напряжение при токе грозовых перенапряжений с амплитудой, кВ, не более:
5000 А
10000 А
20000 А
|
123, 0
132, 0
144, 0
|
118, 0
128, 0
141, 0
| | 6. Остающееся напряжение при токе коммутационных перенапряжений на волне 30/60 мкс с амплитудой, кВ, не более:
250 А
500 А
1000 А
| 103, 0
105, 0
107, 0
|
98, 0
102, 0
104, 0
| | 7. Остающееся напряжение при импульсах тока 1/10 мкс с амплитудой 10000 А, кВ, не более
|
148, 0
|
146, 0
| | 8. Пропускная способность ограничителя:
а) 18 импульсов тока прямоугольной формы длительностью 2000 мкс с амплитудой, А
б) 20 импульсов тока 8/20 мкс с амплитудой, А
в) 2 импульса большого тока 4/10 мкс с амплитудой, кА
|
|
| | 9. Удельная поглощаемая энергия одного импульса, кДж/кВ(U нр), не менее
|
2, 0
|
2, 7
| | 10. Масса не более, кг
|
| | 11. Высота, мм
|
| | 12. Длина пути утечки внешней изоляции, см, не менее
|
|
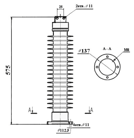
Габаритные размеры ОПН «ОПН-35 УХЛ1»

Рис. 1.8
|