Студопедия

Главная страница Случайная страница

КАТЕГОРИИ:

АвтомобилиАстрономияБиологияГеографияДом и садДругие языкиДругоеИнформатикаИсторияКультураЛитератураЛогикаМатематикаМедицинаМеталлургияМеханикаОбразованиеОхрана трудаПедагогикаПолитикаПравоПсихологияРелигияРиторикаСоциологияСпортСтроительствоТехнологияТуризмФизикаФилософияФинансыХимияЧерчениеЭкологияЭкономикаЭлектроника






Кинетическая схема.






           
         
Из Лист № докум. Подпись Дата
Разраб.         Лит. Лист Листов
Пров.       У    
         
 
Рис.2. Контакторный элементы ЭКГ – 8. 13. ______________________________________ 14. ______________________________________ 15. ______________________________________ 16. ______________________________________ 17._______________________________________ 18. ______________________________________ 19. ______________________________________ 20. ______________________________________ 1, 23 ______________________________ 2._________________________________ 3. _________________________________ 4. _________________________________ 5. _________________________________ 6. _________________________________ 7.__________________________________ 8. __________________________________ 9.__________________________________ 10. _________________________________ 11. _________________________________ 12. _________________________________ 21. _________________________________ 22. _________________________________ 24. _________________________________ 25. _________________________________ 26. _________________________________ 27. _________________________________ 28. _________________________________ 29. _________________________________

 

3. Действие. ___________________________________________________________________

______________________________________________________________________________________________________________________________________________________________________________________________________________________________________________________________________________________________________________________________________________________________________________________________________________________________________________________________________________________________________________________________________________________________________________________________________________________________________________________________________________________________________________________________________________________________________________________________________________________________________________________________________________________________________________________________________________________________________________________________________________________________________________________________________________________________________________________________________________________________________________________________________________________________________________________________________________________________________________________________________________________________________________

 

 

Вывод: ___________________________________________________________________________

____________________________________________________________________________

____________________________________________________________________________

_____________________________________________________________________________

 

            Лист
         
Изм Лист № документа Подп.      
Лабораторная работа № 4. Тема работы: ______________________________________________________________ ________________________________________________________________ Цель работы: ______________________________________________________________ ________________________________________________________________ Оборудование: _____________________________________________________________ ________________________________________________________________ ________________________________________________________________ Ход работы. 1.Назначение._____________________________________________________________ ___________________________________________________________________________ ___________________________________________________________________________ 2.Устройство.
Рис.1. Реверсор общий вид. 1. ______________________________________ 2. ______________________________________ 3. ______________________________________ 4. ______________________________________ 5. ______________________________________ 6. ______________________________________ 7. ______________________________________ 8. ______________________________________ 9. ______________________________________
  1. Действие. ___________________________
_______________________________________________________________________________________________________________________________________________________________________________________________________________________________________________________________________________________________________________________________________________________________________________________________________________________________________________________________________________________________________________________________________________________________________________________________________________________________________________________________________________________________________________________________________________________________________________________________________________________________________________________________________________________

Технические данные:

___________________________

___________________________

___________________________

           
         
Из Лист № докум. Подпись Дата
Разраб.         Лит. Лист Листов
Пров.       У    
         
Н.контр.      
Утв.      
  1. Назначение.______________________________________________________________
_____________________________________________________________________________ ______________________________________________________________________________ 5. Устройство.
Рис.2. Реверсор 18МР. 1.____________________________ 2.____________________________ 3.____________________________ 4.____________________________ 5.____________________________ 6.____________________________ 7.____________________________ 8.____________________________ 9.____________________________ 10.____________________________ 11.____________________________ 12.____________________________
  1. Действие. ____________________________________________________________________________

__________________________________________________________________________________________________________________________________________________________________________________________________________________________________________________________________________________________________________________________________________________________________________________________________________________________________________________________________________________________________________________________________________________________________________________________________________________________________________________________________________________________________________________________________________________________________________________________________________________________________________________________________________________________________________________________________________________________________________________________________________________________________________________________________________________________________________________________________________________________________________________________________________________________________________________________________________________________________________________________________________________________________________________________________________________________________________________________________________________________________________________________________________

 

Технические данные:

____________________________________________________________________________________________________________________________________________________________________________________________________________________________________________________________________________________________________________________________________________________________________________________________________________________________________

Вывод: ________________________________________________________________________

________________________________________________________________________

________________________________________________________________________

            Лист
         
Из Лист № документа Подп. Дата    
Лабораторная работа № 5. Тема работы: ________________________________________________________________ _________________________________________________________________ Цель работы: _______________________________________________________________ _________________________________________________________________ Оборудование: ______________________________________________________________ _________________________________________________________________   Ход работы. 1.Назначение.______________________________________________________________ ____________________________________________________________________________ _____________________________________________________________________________ 2.Устройство.
Рис.1. Пантограф П5.  
  1. .Действие_____________________________________________________________________________________________________________________________________________________________________________________________________________________________________________________
  2. Приведенная масса – это ________________________________________________________________________________________________________________________________
  1. ________________________________
  2. ________________________________
  3. ________________________________
  4. ________________________________
  5. ________________________________
  6. ________________________________
  7. ________________________________
  8. ________________________________
  9. ________________________________
  10. ________________________________
Технические данные: ______________________________________________________________________________________________________________________________________________________________________________________________________________________________________________________     ___________________________________________________________________________________________________________________________________________________________________

Статическая характеристика – это ___________________________________________

____________________________________________________________________________________________________________________________________________________________________________________________________________________________________________________________

Динамическая характеристика – это. _____________________________________________

________________________________________________________________________________________________________________________________________________________________________

Аэродинамическая характеристика – это ________________________________________

________________________________________________________________________________________________________________________________________________________________________

           
         
Изм. Лист № докум. Подпись Дата
Разраб.         Лит. Лист Листов
Пров.       У    
         
Н.контр.      
Утв.      
4..Устройство.
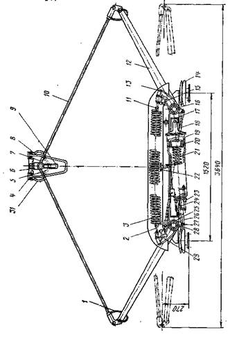
1.________________________ 2.________________________ 3.________________________ 4._______________________ 5.________________________ 6.________________________ 7.________________________ 8.________________________ 9.________________________ 10.________________________ 11.________________________ 12.________________________ 13.________________________ 14.________________________ 15.________________________ 16.________________________ 17.________________________ 18.________________________ 19.________________________ 20.________________________ 21.________________________ 22.________________________ 23.________________________ 24.________________________ 25.________________________ 26.________________________ 27.________________________ 28.________________________ 29.________________________ 30.________________________

Рис.2. Пантограф 10РР. 31. _______________________

5. Действие. ______________________________________________________________

________________________________________________________________________________________________________________________________________________________________________________________________________________________________________________________________________________________________________________________________________________________________________________________________________________________________________________________________________________________________________________________________________________________________________________________________________________________________________________________________________________________________________________________________________________________________________________________________________________________________________________________________________

 

Технические данные:

____________________________________________________________________________________________________________________________________________________________________________________________________________________________________________________________________________________________________________________________________________________________________________________________________________________________________________________________________________________________________________________________________________________________________________________________________________

 

 

            Лист
         
Изм Лист № документа Подп. Дата    
  6. Снятие статической характеристики.
  250 мм. 500 мм. 750 мм 1000 мм 1250 мм 1500 мм 1750 мм 2000 мм 2250 мм 2500 мм
Р1, кг.                    
Р2, кг.                    

Поделиться с друзьями:

mylektsii.su - Мои Лекции - 2015-2026 год. (2.049 сек.)Все материалы представленные на сайте исключительно с целью ознакомления читателями и не преследуют коммерческих целей или нарушение авторских прав Пожаловаться на материал