Главная страница
Случайная страница
КАТЕГОРИИ:
АвтомобилиАстрономияБиологияГеографияДом и садДругие языкиДругоеИнформатикаИсторияКультураЛитератураЛогикаМатематикаМедицинаМеталлургияМеханикаОбразованиеОхрана трудаПедагогикаПолитикаПравоПсихологияРелигияРиторикаСоциологияСпортСтроительствоТехнологияТуризмФизикаФилософияФинансыХимияЧерчениеЭкологияЭкономикаЭлектроника
|
Налагодження токарно-револьверного верстата
2.1 Мета роботи Мета роботи лабораторної роботи полягає в наступному: 1) Вивчити основні частини, призначення рукояток керування, влаштування та роботу основних механізмів верстату. 2) Навчитися практичним прийомам налагодження токарно-револьверного верстату. 3) Набути певних навичок в керуванні верстатом і обробки деталей.
2.2 Обладнання, пристосування, інструмент, наочні приладдя
Для виконання лабораторної роботи необхідно мати наступне: 1) Токарно-револьверний верстат з горизонтальною віссю обертання револьверної головки і найбільшим діаметром оброблюваного прутка до 40 мм. 2) Набір інструментальних тримачів, втулок. 3) Набір слюсарного інструменту. 4) Операційна карта налагодження токарно-револьверного верстату. 5) Вимірювальні інструменти: штангенциркуль, лінійка масштабна, мікрометр (1 – 2 комплекти). 6) Плакат “Кінематична схема верстату”. 7) Епідіаскоп, діапроектор, кодоскоп. 8) Діапозитиви, епісхеми.
2.3 Теоретичні відомості 2.3.1 Призначення, основні частини і органи керування верстата
Токарно-револьверний верстат моделі 1К341 призначений для обробки деталей з прутка і штучних заготовок в умовах серійного та дрібносерійного виробництва. На верстаті можуть бути виконані такі роботи, як обточування, розточування, проточування канавок (зовнішніх і внутрішніх), свердління, зенкерування, розвертання різьб плашками, мітчиками, самовідчиняющимися різьбонарізними голівками за допомогою різьбонарізного пристрою. На верстаті з використанням копіювального пристрою можливо також обточувати конічні поверхні. Для підвищення продуктивності обробки і зручності обслуговування передбачено програмне переключення частоти обертання шпинделя і подач при зміні позицій револьверної головки. Переключення здійснюється легко переналагоджувальним командо апаратом, що керує електромагнітними муфтами коробки швидкостей і подач. Гідравлічний механізм затиску дозволяє затискати калібровані і некалібровані прутки. На верстаті передбачена можливість установки трикулачкового патрону. Для обробки прутків різних діаметрів до верстату додаються універсальна цанга подачі і змінні вкладиші для затиску круглого й шестигранного матеріалу, а також комплект різцетримачів, тримачів, втулок і т. д.
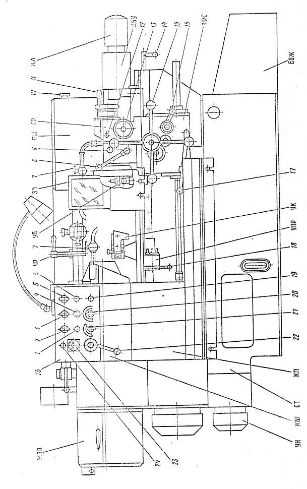
Основні частини верстата (рисунок 2.1): СТ – станина; КШ – коробка швидкостей; КП – коробка подач; УН – установка насосна; МЗП – механізм затиску і подачі матеріалу; ПР – пристосування різьбонарізне; УП – упор поперечний для обмеження повороту револьверної головки; ЗЕ – захисний екран; ЕШ – електросилова шафа; СР – супорт револьверний; КА – командоапарат; ЦБУ – центральний барабан упорів; ФРС – фартух револьверного супорту; БОР – бочок для охолоджувальної рідини; ПК – пристосування для копіювання; УПО – упор поздовжній. Органи керування: 1 – кнопка вмикання електродвигуна насосу гідравліки; 2 – перемикач режимів робіт; 3 – перемикач для вмикання затиску або розтиску заготовки; 4 – перемикач для вмикання і вимикання електронасосу охолодження; 5 – перемикач пуску і зупинки шпинделя; 6 – кнопка для вмикання реверсу шпинделя; 7 – кран охолоджувальної рідини; 8 – рукоятка для фіксування і розфіксування револьверної головки; 9 – рукоятка включення реверсу поперечної подачі; 10 – рукоятка вмикання і вимикання ввідного автомату; 11 – маховик швидкого повороту револьверної головки; 12 – кнопка для вмикання і вимикання механічної поперечної подачі револьверної головки; 13 – маховик ручної поперечної подачі револьверної головки; 14 – рукоятка встановлення жорсткого упору для вимикання поздовжньої подачі; 15 – рукоятка для ручного поздовжнього переміщення револьверного супорту; 16 – рукоятка для встановлення діапазону подвійних поздовжніх подач револьверного супорту;
17 – рукоятка вмикання і вимикання механічної поздовжньої подачі револьверного супорту; 18 – рукоятка встановлення барабану жорстких упорів для відключення поздовжньої подачі; 19 – кнопка “Аварійний стоп”; 20 – перемикач встановлення величин подач; 21 – перемикач встановлення частоти обертання шпинделя; 22 – рукоятка переключення діапазону швидкостей; 23 – показник навантаження; 24 – лампа сигнальна; 25 – панель керування.
2.3.2 Технічна характеристика верстата
Точність обробки по довжині, мм 0, 12 – 0, 14 Точність обробки по діаметру 8-й квалітет Найбільші розміри прутка, мм: довжина 3000 круглого (діаметр) 40 шестигранного (розмір під ключ) 32 квадратного (бік квадрату) 27 довжина подачі 100 діаметр оброблюваного виробу над станиною 400 Відстань від торця шпинделя до револьверної головки, мм: найменша 82

найбільша 630 Висота вісі шпинделя над станиною, мм 200 Кількість швидкостей шпинделя в двох діапазонах: прямого обертання 8 зворотного обертання 4 Діапазони частот обертання шпинделя, об/хв.: прямого обертання 60 – 2000 зворотного обертання 60 – 265 Діапазон подач, мм/об поздовжніх 0, 03 – 2 поперечних 0, 02 – 0, 6
2.3.3 Кінематика верстата

Кінематична схема верстату (рисунок 2.2) складається з наступних кінематичних ланцюгів: головного руху; поздовжніх подач револьверного супорту; поперечних (кругових) подач револьверної головки; обертання різцевого копіру. На рисунку 2.2 цифри 1 – 55 – порядкові номери деталей верстату. Головний рух. Кінцевими ланками головного руху є: вал електродвигуна (N = 5, 5 кВт, n = 1450 об/хв.) – шпиндель із заготовкою (nел®nшп). Розрахункові переміщення кінцевих ланок пов'язують рівнянням кінематичного балансу: Кількість ступенів частот обертання шпинделя Z = 2 * 2 * 2 = 8. Зміни частоти обертання шпинделя здійснюються включенням електромагнітних муфт М2, М3, М4, М5 в певній комбінації вручну за допомогою перемикача 21 і рукоятки 22 або автоматично за допомогою КА при зміні позиції револьверної головки (рисунок 2.1). Коробка швидкостей має два діапазони частоти обертання шпинделя, що отримуються за
допомогою рухомого двовінцевого зубчатого блоку 25 (z = 23) і 26 (z = 41) рукояткою 22 (рисунок 2.1). Ліве положення рукоятки забезпечує вмикання нижнього діапазону частот

обертання шпинделя, праве положення - верхнього діапазону. Гальмування шпинделя здійснюється одночасним вмиканням електромагнітних муфт М2 і М3 при вимкнених інших муфтах (електродвигун в даному випадку продовжує обертатись). Вибір ступенів частот обертання шпинделя здійснюється в залежності від розташування кулачків на барабані КА (рисунок 2.1). Рух подач. Поздовжня подача. Кінцеві ланки: шпиндель із заготовкою - рейкова передача (дивись рисунок 2.2, поз. 49, 50). Розрахункові переміщення кінцевих ланок мають вигляд: 1 оберт шпинделя ® Sпоз. Рух поздовжньої подачі налагоджується з умови, що за один оберт шпинделя із заготовкою револьверний супорт з ріжучим інструментом переміститься на величину поздовжньої подачі Sпоз (мм/об). Рівняння кінематичного балансу поздовжньої передачі: 
Кількість ступенів поздовжніх подач: Z = 3 * 2 * 2 = 12. Коробка передач має три електромагнітні муфти М6, М7, М8, які в сукупності з двома обгінними муфтами М9 і М10 забезпечує шість автоматично перемикаємих поздовжніх подач командоапаратом КА або вручну перемикачем 20 (рисунок 2.1). Поперечна (кругова) подача. Кінцеві ланки: шпиндель із заготовкою – револьверна голівка з ріжучим інструментом (1 оберт шпинделя ® Sпоп). Рівняння кінематичного балансу: де D = 200 мм – діаметр револьверної головки по вісям отворів, в яких кріпляться інструментальні тримачі. Кількість ступенів поперечних (кругових) подач: Z = 3 * 2 = 6 Вибір ступенів поздовжніх і поперечних (кругових) подач револьверного супорту з ріжучим інструментом здійснюється в залежності від положення кулачків на барабані командоапарату КА (рисунок 2.1). У фартусі револьверного супорту є запобіжний пристрій, який вимикає механічну поздовжню подачу, коли супорт дійде до упору 14 або 18, встановлюваного в залежності від необхідної довжини оброблюваної поверхні деталі. В кінематичному ланцюзі поперечної (кругової) подачі є конічний реверс 33, 34, 35 (Z = 36, 36, 36) (рисунок 2.2), що вмикається рукояткою 9 (рисунок 2.1). Вмикання механічної поперечної (кругової) подачі здійснюється електромагнітною муфтою М1 і рукояткою реверсу подачі. Ручне поздовжнє переміщення револьверного супорту здійснюється рукояткою (штурвалом) 15 (рисунок 2.1) за ланцюгом: 48, 47 (Z = 23, Z = 46) і далі на рейкову передачу 49, 50. Ручна поперечна (кругова) подача револьверної головки здійснюється маховиком 13 (рисунок 2.1) за ланцюгом: Z = 36, Z = 36, Z = 36, Z = 1, Z = 66, Z = 19, Z = 152, якщо включено електромагнітну муфту М1 (рисунок 2.2). Установочне обертання револьверної головки з ріжучим інструментом при зміні позиції здійснюється маховиком 11 (рисунок 2.1) при вимкненій електромагнітній муфті М1.
2.3.4 Основні вузли та їх робота
Револьверний супорт і командоапарат. Револьверний супорт має поздовжню і поперечну (кругову) подачі револьверної головки. Ці подачі здійснюються вручну або механічно. Револьверна голівка 1 (рисунок 2.3) встановлена на маточині зубчатого колеса 5, закріпленого на валу 7, який обертається на двох радіально-упорних кулькових підшипниках 9, що зачинені кільцями ущільнення 6, 8 і 10. Підшипники змащуються від мастилорозподілювача при змащуванні напрямних. На правому кінці валу 7 закріплений барабан 11 з восьми упорами. Корпус 13 упору закріплюють на барабані гвинтами 14 і 15. Для регулювання упорного гвинту 16 необхідно звільняти стопорний гвинт 14. Інструментальні тримачі затискаються в отвори револьверної головки сухарями 4 і гвинтами 3, загвинченими до втулки 2. З барабаном 11 упорів пов'язаний барабан командоапарату 24, що має шістнадцять поздовжніх пазів, що відповідають шістнадцяти позиціям револьверної головки. Командоапарат 24 кріпиться до шпинделя револьверної головки за допомогою різцевої шпильки 12 і гайки 22.

В кожному пазу знаходиться по два рухомих кулачки 21, які фіксуються кульками і пружинами: один в чотирьох, другий в шести положеннях. Кулачки переміщуються між обмежуючими кільцями 23. В корпусі 19 командоапарату, що закріплений на полозках револьверного супорту, знаходяться п'ять кінцевих вимикачів 17, які вмикають електромагнітні муфти коробки швидкостей і подач. Кожен кінцевий вимикач вмикає одну муфту. Кулачки 21 натискають на штовхачі 18, а ті, в свою чергу, на важелі 25, що гойдаються на вісі 20, і через регулюючі гвинти 26 – на кінцеві вимикачі. Для обмеження кругової подачі револьверної головки використовується висувний жорсткий упор 5 (рисунок 2.4), корпус 4 якого закріплений на полозках супорту. На торці револьверної головки закріплений кронштейн 3, в який загвинчений упорний гвинт 1, що стопориться гайкою 2. Цей поперечний упор використовується при обточуванні зовнішніх поверхонь або розточуванні отворів з високою точністю, а також при прорізанні канавок. Рисунок 2.4 – Схема обмежника кругової подачі револьверної головки
Механізм затиску і подачі матеріалу показаний на рисунку 2.5. Корпус цангового патрону 22 закріплений на передньому фланці шпинделя. Затискна рухома цанга 25 зв'язана з корпусом повідковими штифтами 24, які входять до втулки 23. В розточці нерухомої цанги закріплюють змінні вкладиші 28, які затискають гвинтами 26 і утримують від повороту штифтами 27. Така конструкція механізму затиску забезпечує високу стабільність положення (в межах 0, 1 мм) торця затиснутого прутка. Затискна цанга нагвинчена на трубу 19 затиску. На лівому кінці труби затиску знаходиться гайка 10, притиснута гайкою 9 до торця поршня 11, що переміщується в циліндрі 13 і зв'язаного з ним штирями 14. Циліндр 13 разом з кришкою 12 нагвинчений на різьбу шпинделя і закріплений закладною шпонкою 18. Циліндр разом із шпинделем обертається у нерухомій мастилопідводячій втулці 16, витоку мастила запобігає лабіринт 15. По радіальних каналах до кільцевих внутрішніх пазів втулки підводиться мастило від гідропанелі. Крізь отвори в циліндрі мастило підводиться до правої чи лівої порожнини циліндру. Поршень в цьому випадку переміщується і відбувається затиск або розтискання матеріалу. Циліндр подачі розташований в корпусі 32, який закріплений на лівому торці коробки швидкостей. Мастило, що потрапляє до лівої порожнини циліндру, переміщує поршня 31 вправо і повзун 33, що ковзає по напрямним штангам. В повзуні закріплений підшипник 7, в якому обертається втулка 6. До останньої гвинтом 4 прикріплена труба подачі 17 з вгвинченою в неї змінною цангою подачі 21. Підшипник закритий з двох боків кришками 8. Скалка 29 направляє механізм подачі: за лімбом 30 ведуть відлік переміщення прутка. При русі повзуна 33 в правий бік подається пруток. Після того, як мастило потрапить до правої порожнини циліндру подачі відбувається відвід цанги подачі по прутку, затиснутому в затискній цанзі (відбувається набір прутка). Повзун 33 відходить вліво до упору 1 на напрямній штанзі. Вкладиші 28, цанги подачі 20 і напрямні кільця 3 є змінними деталями і встановлюються у відповідності до діаметру і форми оброблюваного матеріалу. Комплект цих деталей для круглих та шестигранних прутків поставляється разом із верстатом. Кільця 3 кріпляться до втулки 6 гвинтами 5, які стопоряться пружинним кільцем 2. Для подачі круглих прутків діаметром 20...30 мм і шестигранних прутків розміром під ключ 19 – 27 мм застосовується універсальна цанга подачі. Цанга складається з труби 1 (дивись рисунок 2.6) пружини 2 і насадки 3. Вона включає два змінні комплекти кульок 4 і 5. Комплект кульок великого діаметру надає можливість подавати прутки (D = 20 – 24 мм і S = 19 – 22 мм). Комплект кульок меншого діаметру застосовується при подачі прутків (D = 24 – 30 мм і D = 24 – 27 мм).
Для подачі прутків (D = 32 – 40 мм і S = 32 мм) служать змінні цанги подачі. Копіювальний пристрій призначений для поперечного і поздовжнього копіювання. При поздовжньому копіюванні вмикається поздовжня подача, а револьверна головка повертається під дією копіювальної лінійки. При поперечному копіюванні вмикається поперечна подача, а поздовжнє переміщення супорту відбувається під дією копіювальної лінійки. Кронштейн 1 (рисунок 2.7) закріплений на задньому боці станини (поза зоною стружки) і може переставлятися вздовж станини по напрямній планці 14. На кронштейні знаходиться копіювальна лінійка 3, яка повертається на вісі 10 і закріплюється гвинтом 9. Кут повороту копіювальної лінійки визначається за шкалою 8. Лінійка повертається гвинтом 5, шийка якого входить до вилки 4, що закріплена в кронштейні 1. Гайка 2 закріплена на лінійці 3. При поздовжньому копіюванні лінійка повертається навколо вісі 10, що входить до отвору III. Гайка при цьому закріплюється в отворі II лінійки. Кут повороту відлічується рискою В. При поперечному копіюванні вісь 10 входить до отвору IV, а гайка 2 – до отвору І лінійки, кут повороту відлічується рискою А. На револьверній головці закріплений тримач 7, в пазу якого знаходиться відкидна планка 6 з роликом 13. Планка 6 фіксується в робочому і вимкненому положеннях штирем 12 і пружиною 11. Налагодження верстату включає розробку технологічного процесу обробки і карти налагодження, вибір нормального і виготовлення спеціального устаткування, кінематичне

Рисунок 2.6 – Універсальна цанга подачі
налагодження, монтаж устаткування на верстаті, встановлення і кріплення заготовки, інструменту, регулювання положення інструменту і упорів для отримання необхідних розмірів виробу за діаметром і довжиною. Налагодження токарно-револьверного верстату виконується за шаблонами, або шляхом пробних проточок з наступним контролем розмірів, або за зразковими деталями.
Після налагодження слідує обробка пробної деталі, її контроль і підналагодження верстату для усунення отриманих неточностей. Вимірювання виконується масштабною лінійкою, штангенциркулем, мікрометром, калібр-скобою та іншими інструментами.

Порядок налагодження встановлюється технологічним процесом обробки заданої деталі. При одночасній обробці декількома інструментами не рекомендується поєднувати чорнові і чистові переходи (зенкерування і розвертання, чорнове обточування і чистове розточування і т. п.). Для раціонального використання револьверної головки можливо обладнати її допоміжним, дублюючим, комплектом інструментів, що дозволяє повторити цикл обробки за один повний оберт головки. Схема налагодження токарно-револьверного верстату моделі 1К341 для одночасного виготовлення з одного прутка двох різних деталей представлена на рисунку 2.8.
Рисунок 2.8 – Схема налагодження токарно-револьверного верстата моделі 1К341 2.5 Висновки
|