Студопедия

Главная страница Случайная страница

КАТЕГОРИИ:

АвтомобилиАстрономияБиологияГеографияДом и садДругие языкиДругоеИнформатикаИсторияКультураЛитератураЛогикаМатематикаМедицинаМеталлургияМеханикаОбразованиеОхрана трудаПедагогикаПолитикаПравоПсихологияРелигияРиторикаСоциологияСпортСтроительствоТехнологияТуризмФизикаФилософияФинансыХимияЧерчениеЭкологияЭкономикаЭлектроника






Вопрос 2. Шприцы поршневые






Шприцы с поршневыми вытеснителями (далее поршневые шприцы) являют­ся универсальными машинами периодического действия. На них можно перера­батывать фарши любой консистенции: от самых текучих — сосисочных, до самых вязких — для сырокопченых колбас. В поршневых шприцах фарши наиболее полно сохраняют свои исходные физические свойства, так как они подвергаются равномерному объемному сжатию (нормальные напряжения) и не испытывают сдвиговых, касательных напряжений. Из-за этого сохраняется и пространствен­ное распределение включений в фарш (кубики шпика, мяса и др.).

Но к недостаткам поршневых шприцов следует отнести периодичную работу, включающую периоды вытеснения (шприцевание) и загрузки, причем продол­жительность этих периодов может быть равной или близкой по значению.

Поршневые шприцы выпускают с рабочим объемом (л) цилиндра 6, 12, 15, 25, 40, 50 и 70, давление, создаваемое в фарше, составляет 1, 4...2, 5 МПа.

Шприцы оснащают ручным, электромеханическим, гидравлическим или пнев­матическим приводами. Ручные приводы применяют в шприцах с малой емкостью цилиндра — 6... 12л. предназначенных для предприятий малой мощности и обще­ственного питания. Электромеханический привод состоит из электродвигателя, понижающего передаточного механизма (редуктора) и реечной передачи. Шестер­ню этой передачи устанавливают на выходном валу редуктора, а рейку соединяют с поршнем. Эти шприцы имеют много быстро изнашивающихся деталей, требуют сложного обслуживания, и поэтому в настоящее время их не производят.

Наиболее широко применяют шприцы с гид­равлическим приводом, у которых фаршевый поршень штоком связан с гидравлическим пор­шнем. Этот тип привода обеспечивает бессту­пенчатое регулирование давления и расхода вы­тесняемой массы.

Шприцы с пневматическим приводом наибо­лее просты, т. к. состоят из фаршевого цилиндра и поршня, под который нагнетают воздух.

Поршневой шприц (рис. 1, а) с ручным приводом фирмы «Дик» (Германия) состоит из основания 1, к которому прикреплены две ци­линдрические стойки 3. На стойках установлен корпус редуктора 5. На основании устанавлива­ют пустотелый цилиндр 4 и закрепляют его дву­мя поворотными защелками 2. В цилиндре с по­мощью рейки 8 перемешают пластмассовый поршень, имеющий резиновое уплотнение. Сбо­ку в основании имеется прилив с отверстием, которое соединяется с внутренней полостью ци­линдра. К цилиндрической части прилива на­кладной гайкой 11 прикрепляют трубку(цевку) 10, через которую происходит истечение фарша. Редуктор (рис. 1, б) имеет две ступени и рееч­ную передачу, состоящую из шестерни 6 и рейки 7. Валы А и Б имеют на выходе квадратные хвос­товики, на которые надевается рукоятка 4. Две передачи позволяют изменять скорость движе­ния поршня при различной консистенции фар­ша, а также ускорять подъем поршня для загруз­ки. На поршне крепят обратный клапан, который пропускает воздух в подпоршневое пространство при его подъеме.

Выпускают шприцы с ручным приводом с емкостью (л) цилиндра 6, 9 и 12. Соответственно­ их масса (кг) составляет 26, 27, и 34. Шприцы снабжают цевками диаметром от 9 до 38 мм.

При проектировании шприцов с ручным приводом следует учитывать, что регламентировано усилие рабочего при постоянной нагрузке 100... 120 Н и при кратковременной — 200...250 Н. Скорость руки человека не должна превышать 1 м/с. Рекомендуемая длина рычага рукоятки 300...400 мм.

Поршневые ширины с гидравлическим приводом выпускают с объемом ци­линдра от 12 до 70л. В Зависимости от объема цилиндра изменяется и мощность привода от 0.75 до 3 кВт. Выпускают шприцы-наполнители, шприцы дозировщи­ки и ширины дозировщики-перекрутчики.

 

 

 

 

Поршневой шприц-наполнитель с гидравлическим приводом КФ-50 фир­мы «Кох-Фасота» (США) состоит (рис. 2) из корпуса 1, в котором распо­ложены гидравлический цилиндр и гид­равлическая насосная станция. На ста­нине закреплен фаршевый цилиндр 3. изготовленный из нержавеющей стали. Он закрыт плоской крышкой 7, которая в период выдачи фарша прижата гайкой 8. При загрузке крышка отводится в сторо­ну на оси. На крыше изготовлен выступ 6 с внутренней полостью, через которую выдавливается фарш. На передней ци­линдрической части выступа нарезана резьба, к которой с помощью накидной гайки 5 прикрепляют цевку 4. Наиболь­ший диаметр цевки 25мм. Пластмассо­вый фаршевый поршень соединен што­ком с поршнем гидроцилиндра. Емкость фаршевого цилиндра 50л.

После загрузки фарша в цилиндр и закрывания крышки рабочий надевает на цевку колбасную оболочку, закрытую с одной стороны и. придерживая ее ру­кой, нажимает коленом на рычаг 2. При этом включается подача жидкости в подпоршневое пространство гидроцилинд­ра, и фарш выдавливается через цевку в оболочку. После наполнения оболочки рабочий освобождает рычаг, и происхо­дит отключение подачи жидкости. Мощность электродвигателя привода ширина 1.5 кВт, масса шприца 292 кг. Поршневой шприц с гидравлическим приводом ПХ-ФНА (рис. 6.3) снабжен механизмами объемного дозирования и перекрутки оболочки. Он предназначен для выпуска под вакуумом порционированных сосисок, сарделек, копченых и по­лукопченых колбас в натуральных и в искусственных оболочках.

Шприц состоит из сварной станины 25, облицованной стальными листами. На верхней плоскости станины фланцем закреплен фаршевый цилиндр 16, в котором перемещается поршень 15. Шток поршня 17проходит через уплотнение дна фар­шевого цилиндра и входит в полость гидравлического цилиндра 20. На нижнем конце штока закреплен поршень 21 гидроцилиндра. Для подачи рабочей жидкости в станине расположена гидростанция, состоящая из электродвигателя 9, шестерен­ного насоса 10, бака и регулирующей аппаратуры. На оси 22 закреплена крышка 13 фаршевого цилиндра, на которой установлен бункер 12 с зеркалом 11.

Истечение фарша происходит через отверстие в обечайке фаршевого цилинд­ра, к которому прикреплен корпус дозирующего устройства. Дозатор объемный с поршнем 6, который перемещается во вращающемся дозировочном стакане 5. Перемещается поршень штоком, соединенным с поршнем 8 гидроцилиндра 7. Фарш из стакана вытесняется в полый вал 3, к которому накидной гайкой присо­единяют цевку 2.

 

 

Рис.3. Поршневой шприц-дозировщик с гидравлическим приводом Е8-ФНА:

1 — подколенный рычаг. 2 — цевка; 3 — полый вал; 4 — дозирующее устройство; 5 — дозировочный стакан; 6 -- до­тирующий поршень; 7 — дозирующий гидроцилиндр; 8— поршень; 9 — электродвигатель; 10 — шестеренный насос; 11 — зеркало; 12 — бункер; 13 — крышка; 14 — зажим; 15, 21 — поршни фаршевого и гидроцилиндров; 16 — фар­шевый цилиндр; 17— шток; 18 — уплотнение; 19 — шкаф с электроаппаратурой; 20— гидроцилиндр; 22 — ось по­ворота крышки; 23, 24 — пульт управлении; 25 — станина

 

Управление гидроаппаратурой и регулирование лозы фарша происходит с пульта управления 23, 24. а запуск и работу машины производят подколенным рычагом 1.

Фарш загружают в бункер 12 (рис. 4), где он удерживается конус­ным клапаном 13. Затем включают элек­тродвигатель 2 шестеренного насоса 1 гидравлической станции. Подколет ним рычагом, связанным с золотником 4, включают подачу масла через редукци­онный клапан 3 и золотник в штоковую полость силового гидроцилиндра 6. Его поршень 5 и связанный с ним через шток поршень 7 фаршевого цилиндра начинают опускаться. Над фаршевым поршнем появляется вакуум, и за счет этого открывается конусный клапан 13. Под фаршевым поршнем воздух сжима­ется и под повышенным давлением че­рез шланг 10 воздействует на золотни­ковый шток 11 вакуумного золотника 9, который опускается и соединяет по­лость фаршевого цилиндра с вакуум­ным насосом 8. Происходит загрузка цилиндра при одновременном вакууммировании фарша. После полной загрузки цилиндра загорается сигнальная лам­па, а вакуумный золотник закрывается. Для включения шприца в режим шприцевания, дозирования и перекрутки подколенным рычагом переключают золотник 4. При этом масло из насоса 1 через редукционный клапан и золотник 4 поступает в поршневую полость силового 6 и дозирующего 28 гидроцилидров, а через дроссель — с регулятором и предохранительным клапаном 29— и гидромо­тор 25. Производительность дозатора-перекрутчика регулируют с пульта управле­ния через дроссель-регулятор.

Гидромотор через коническую передачу 21 приводит во вращение полый вал 22 с закрепленной па нем цевкой 23. От той же передачи вращается шестерня 20, приводящая в движение кривошип 19, который связан шатуном 18 с кривошипом 17. Кривошипно-шатунный механизм сообщает дозировочному стакану 16 ре­версивное вращательное движение. В верхней части дозировочного стакана име­ется отверстие, которое поочередно соединяется с фаршевым цилиндром и по­лым валом. В момент, когда отверстие совмещается с отверстием фаршевого цилиндра, на дозировачный поршень 24 начинает давить фарш, сжимаемый пор­шнем 7. Отношение поверхностей поршней 7 и 5 меньше отношения поверхно­стей поршней 24 и 27. Поэтому под поршнем 27 гидроцилиндра порционирую­щего механизма создается давление большее, чем в обшей линии. Срабатывает редукционный клапан 3, давление понижается, и дозирующий поршень опуска­ется вниз до упора в регулятор доз 15.

Величину дозы устанавливают вручную на пульте управления. При совмеще­нии отверстия стакана с отверстием полого вала и цевки, т. е. с атмосферой, мас­ло начинает подаваться под поршень 27. Он поднимается, и поршнем 24 доза вы­талкивается в цевку. Когда поршень 24 упирается в крышку стакана, происходит перекрутка оболочки.

Производительность шприца Е8-ФНЛ зависит от вида фарша. При шприцева­нии фаршей копченых колбас она равна 1000 кг/ч. Пределы регулирования дозы от 5 до 5000 г. штучная производительность при дозе 50 г от 90 до 200шт./мин. На­ибольшее давление в фаршевом цилиндре 2 МПа, вместимость фаршевого цилинд­ра 70л. Мощность электродвигателя гидронасосной станций 23, 8 кВт. Масса шпри­ца без вакуумного насоса 1140 кг.

Поршневой шприц с гидравличес­ким приводом ЕВФ-30 фирмы «Альпина» (Швейцария) оснащен систе­мой дозирования и перекрутки, которые регулируются микропроцес­сором. Шприц состоит (рис. 5) из корпуса 1, в котором размешены фар­шевый и гидравлический цилиндры, гидростанция, система управления. На корпусе закреплен механизм 7 дозирования и перекрутки, приводи­мый в действие от гидромотора. Цев­ка 4 прикрепляется к выходному патрубку накидной гайкой 5. Сверху цилиндр закрыт крышкой 8, которую при загрузке поворачивают на оси 6, а при рабочем режиме закрепляют за­жимом 9.

Машиной управляют с пульта 10, на котором расположены поворот­ные переключатели и

пульт микро­процессора 11. Переключателями вручную устанавливают режимы ра­боты: с перекруткой оболочки, клипсатором, без герметизации. Устанав­ливают расход фарша через цевку, давление в фаршевом цилиндре и т. д. Микропроцессорное управление при­меняют при производстве порционированных изделий с перекруткой. При этом диапазон регулирования дозы до 9999 г. Устанавливают число оборотов перекрутчика. количество доз. Точность дозирования до 0.5 г.

Шприц может работать в режиме ручной набивки при производстве колбас большого диаметра. При этом отключают перекрутку. Второй режим произ­водство изделий малого диаметра (30....35мм) в режиме перекрутки с участием рабочего, придерживающею наполненную оболочку. Третий режим — автоматизированный с использованием поддерживающего механизма 3. Включение режи­мов загрузки-шприцевания производят подколенным рычагом 2.

Емкость фаршевого цилиндра 30л, наибольшее давление шприцевания 2 МПа, мощность электродвигателя привода 2, 2 кВт, масса машины 500 кг.

На рис. 6.6 показана принципиальная схема узла дозирования-перекрутки с поддерживающим механизмом шприца ЕВФ фирмы «Альпина» (Швейцария). Фаршевый поршень 18 перемешается штоком 17, соединенным с поршнем гидроцилиндра, в цилиндре 16. На поршне со стороны выхода фарша сделано кони­ческое углубление, которое уменьшает гидравлическое сопротивление. Цилиндр закрыт крышкой 14. Сбоку к цилиндру прикреплен механизм дозирования и пе­рекрутки 19. Дозатором служит цилиндрический золотник 13, установленный между отводным отверстием 15 в цилиндре и втулкой 11. Втулка закреплена в подшипниках и имеет герметичное уплотнение. К втулке накидной гайкой 10 присоединяют цевку 9. Дозирование осуществляется при разных скоростях вра­щения золотника, имеющего автономный привод.

 

 

Рис. 6. Принципиальная схема устройства дозирования-перекрутки с поддерживаюшим механизмом шприца ЕВФ-30 фирмы «Альпина»:

1 - корпус поддерживающего механизма; 2- шкив; 3, 12-зубчатые ремни; 5-участок перекрутки; 6-наполняемая сосиска; 7- тормозная втулка; 8-гофрированная оболочка; 9-цевка; 10 — накидная гайка; 11-втулка; 13- золотник; 14 —крышка цилиндра; 15- отводное отверстие; 16-цилнндр; 17-шток; 18-фаршевый поршень; 19-механизм перекрутки; 20- зубчатые колеса ременной передачи; 21-консоль; 22-рукоятка; 23-пружина

 

На цевку надевают гофрированную оболочку 8 с заделанным с одной стороны концом. В оболочку нагнетают порцию фарша и производят отделение заполненной части оболочки от пустой. При этом рабочий поддерживает заполненную оболочку, и автоматически включается вращение цевки на 3...5 оборотов. Образу­ется перекрученная перемычка, после чего цевка останавливается и поступает следующая порция фарша. Цикл повторяется.

Для вращения цевки служит зубчатая ременная передача, зубчатый ремень 12 которой устанавливают на зубчатые колеса 20 и на втулку 11. Приводятся во враще­ние зубчатые колеса от автономного гидромотора или электрического сервомотора. Управление режимом дозирования-перекрутки производится микропроцессором. Для исключения участия рабочего в этих процессах используют поддерживающий механизм, корпус 1 которого консолью 21 прикрепляют к корпусу механизма пере­крутки. Внутри корпуса на подшипниках устанавливают зубчатое колесо — шкив 2 и тормозную втулку 7, соединенные зубчатым ремнем 3. Для вращения втулки внутри трубчатой консоли 21 проходит вал, соединенный с зубчатым колесом 20. Частота вращения цевки и тормозной втулки одинаковая.

Втулка имеет центральное отверстие, которое со стороны цевки переходит в коническое приемное углубление. Цевка заходит в это углубление на несколько миллиметров. При работе с поддерживающим механизмом заделанный конец гофрированной оболочки 8 заправляют в коническое углубление втулки и произ­водят подачу фарша. Заполненная сосиска 4 проходит через втулку, и при дости­жении необходимой дозы фарша включается механизм перекрутки. При этом од­новременно с одинаковой скоростью вращаются цевка и тормозная втулка. Вращение втулки предотвращает проскальзывание оболочки на цевке и обеспе­чивает точное и надежное перекручивание.

При надевании оболочки 8 на цевку 9 поворотом рукоятки 22 отодвигают кор­пус 1, а после надевания — обратным ходом рукоятки с помощью пружины 23 его устанавливают в рабочее положение.

Поддерживающий механизм работает с цевкой диаметром 22 мм, обеспечивая до 200 порций в 1 мин.

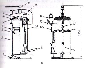
Поршневые шприцы с пневматическим приводом выпускают с объемом фар­шевого цилиндра от 60 до 120 л. Поршневой шприц с пневматическим приводом (рис. 7, а) НСФ-60 фирмы «Наганума» (Япония) имеет емкость фаршевого ци­линдра 60 л. К чугунному основанию 1 прикреплен цилиндр 2, внутри которого свободно перемешается поршень 3, состоящий из двух частей, которые соедине­ны в центре винтом. Поршень снабжен двумя резиновыми уплотнителями 4. Сверху цилиндр закрыт крышкой 7 с уплотнителем 6. Крышка прикреплена к винту 8, который ввинчивается в траверсу 9. Последнюю вместе с крышкой пово­рачивают на оси 5 при загрузке фарша. При закрывании крышки траверсу зацеп­ляют за выступ на фаршевом цилиндре и затягивают винт 8. Фарш отводится через два прилива в верхней части цилиндра, в которых установлены цилиндри­ческие задвижки 14. К резьбовому фланцу 13 накидной гайкой крепят цевку. От­крывание задвижки производят педалью 11 через тягу 10. Воздух под поршень по­дают через входной вентиль 16 и трубу 17, а сброс давления происходит через вентиль 12. Давление контролируют по манометру 15. Масса шприца 570 кг.

 

 

Рис.7. Поршневые шприцы с пневмоприводом:

а - шприц НСФ-60 фирмы «Наганума» (Япония): 1-ос­нование; 2-фаршевый цилиндр; 3- поршень: 4- уплот­нители: 5- ось; 6- уплотнитель крышки; 7- крышка; 8-винт; 9-траверса; 10 -тяга; 11 - педаль; 12, 16 - воздушные вентили; 13- фланец; 14- цилиндрическая задвижка; 15-манометр; 17- труба подачи воздуха;


Поделиться с друзьями:

mylektsii.su - Мои Лекции - 2015-2026 год. (0.702 сек.)Все материалы представленные на сайте исключительно с целью ознакомления читателями и не преследуют коммерческих целей или нарушение авторских прав Пожаловаться на материал