Студопедия

Главная страница Случайная страница

КАТЕГОРИИ:

АвтомобилиАстрономияБиологияГеографияДом и садДругие языкиДругоеИнформатикаИсторияКультураЛитератураЛогикаМатематикаМедицинаМеталлургияМеханикаОбразованиеОхрана трудаПедагогикаПолитикаПравоПсихологияРелигияРиторикаСоциологияСпортСтроительствоТехнологияТуризмФизикаФилософияФинансыХимияЧерчениеЭкологияЭкономикаЭлектроника






Структурная схема РС.






РИЛ – регулируемая искусственная линия – корректирует затухание линии таком образом, чтобы амплитуда сигнала на выходе КУ оставалась постоянной. Работает под управлением блока АРУ.

КУ – корректирующий усилитель – осуществляет усиление сигнала и коррекцию АЧИ.

ИО(П)Н – источник опорного (порогового) U – формирует Uпор = 0, 5Uс.

ВТЧ – выделитель ТЧ – выделяет fт = 2048кГц

РУ – регулирующее устройство – работает по следующему алгоритму:

Если Uc≥ Uпор, то на выходе РУ – импульс

Если Uc< Uпор, то на выходе РУ – пробел

ВК – выходной каскад – формирует импульсы заданной формы, амплитуды и длительности.

Трансформатор со средней точкой – восстанавливает форму сигнала и согласует R линии и аппаратуры.

 

 

Тема 1.9 Гибкие мультиплексоры. Особенности построения первичных мультиплексоров.

 

В настоящее время развитие телекоммуникационных технологий выявило потребность в увеличении ширины канала для конечных пользователей, необходимость конвергенции и предоставления комплексных услуг связи. Все чаще требуется одновременная передача голоса, данных, видео - и аудиосигналов. Все это является следствием развития широкополосных приложений интегрированных и домашних сетей, объединяющих многих пользователей в одну локальную сеть.

Для решения этой задачи и предназначены мультиплексоры - устройства, объединяющие несколько потоков данных или каналов в один выходной сигнал, групповой поток или многоканальное сообщение.

Плезиохронное мультиплексирование - это функция объединения / разделения цифровых сигналов согласно рекомендаций G.742 и G.751 Международного Союза Электросвязи.

Плезиохронные мультиплексоры подразделяются согласно схемы мультиплексирования на первичные, вторичные, третичные и четверичные. Мультиплексоры пятой ступени не нашли применения на сетях связи России, однако широко используются в Западной Европе.

Многообразие передаваемой информации усиливает потребность в гибких устройствах, которые могут приспосабливаться к потребностям приложений передачи данных, способных добавлять или исключать отдельные каналы, символы или биты в ретранслируемом сигнале без процедуры полного демультиплексирования группового сигнала.

Сетевое устройство, обеспечивающее работу двух процессов одновременно соединение и кросс коннект протоколов, интерфейсов и разнообразных информационных потоков, называется - гибкий мультиплексор. Большой выбор интерфейсов и протоколов, удобство в использования и конфигурирования дали данному виду мультиплексоров название – гибкие. Гибкие мультиплексоры работают как с медными проводами, так и с оптическими линиями связи.

Одним из подвидов гибких мультиплексоров являются первичные мультиплексоры. Работа первичных мультиплексоров заключается в вырабатывании первичных цифровых потоков Е1, со скоростью 2048 Кбит/с, образование которых происходит из аналоговых сигналов от 1 до 31 соединительных линий АТС, телефонных каналов «прямых» абонентов или выходов в цифре систем передачи данных широком сочетании. Первичный мультиплексор применяется как оборудование абонентского доступа в сетях связи всевозможного назначения.

В первичных мультиплексорах реализуется синхронное мультиплексирование восьмиразрядных кодовых комбинаций и при этом формируется первичный цифровой сигнал, обозначаемый Е1.

 

Линейная сторона мультиплексора может сопрягаться дополнительным оборудованием с любыми линиями: электрическими, в том числе HDSL, оптическими и радиорелейными. От этого зависит дальность передачи и качество. При этом в линии могут использоваться промежуточные станции с регенераторами.

Сеть телекоммуникаций с применением гибких мультиплексоров может иметь любую архитектуру: кольцо; ячейки; дерево; звезда и при этом сохраняет возможность гибкого предоставления услуг различных сервисных сетей (телефон, видеотелефон, факс, Internet и т.д.). В настоящее время на рынке телекоммуникационного оборудования присутствуют различные модели гибких мультиплексоров, как отечественных, так и зарубежных производителей. Модели отличаются как функциональными возможностями, так и ценой.

 

Универсальная система первичного мультиплексирования

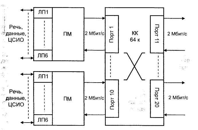
На современных сетях первичные цифровые телекоммуникаци­онные системы находят широкое применение. В частности, они ис­пользуются как элементы универсальных систем первичного муль­типлексирования. Основными элементами таких систем являются

 

Рис 1. Универсальная система первичного мультиплексирования

кроссконнекторы основных цифровых каналов (КК ОЦК) и первич­ные мультиплексоры (ПМ), которые называют также «гибкими» мультиплексорами, чтобы подчеркнуть их универсальность. На рис 1 показаны названные элементы системы; комбинация пер­вичных мультиплексоров и кроссконнектора представляет собой универсальный сетевой узел. Сигналы от абонентов поступают на линейные платы ЛП первичных мультиплексоров ПМ, преобразуют­ся в сигналы основных цифровых каналов ОЦК (64 кбит/с) и объе­диняются в стандартные первичные цифровые потоки (2 Мбит/с). Первичные цифровые потоки поступают на кроссконнектор КК ОЦК, который может осуществлять коммутацию, как первичных потоков, так и их составляющих - основных цифровых каналов (ОЦК).

Соединения в кроссконнекторе устанавливаются как между пор­тами первичных потоков, так и временными интервалами внутри первичного потока. Кроме того, кроссконнектор обычно может обеспечивать конференц-связь и многоточечное соединение або­нентов. Кроссконнектор поддерживает различные способы переда­чи сигналов взаимодействия и управления.

Структурная схема КК ОЦК представлена на рис 2. В его со­став входят: центральный блок, платы портов 2 Мбит/с (ПП), блок

 


интерфейсов управления и системная шина. Основное назначение центрального блока: коммутация сигналов, подготовленных порта­ми 2 Мбит/с, и переданных на коммутационную матрицу блока по системной шине. Кроме этого, центральный блок имеет в своем составе генераторное оборудование, обеспечивающее необходи­мыми сигналами все системы кроссконнектора. Генераторное обо­рудование может быть синхронизировано от внутреннего генера­тора, от внешнего источника и от сигнала, выделенного из потока 2 Мбит/с. Синхросигнал от генераторного оборудования выводится на внешний выход. Кроме интерфейса синхросигнала центральный блок имеет обычно внешние интерфейсы для передачи сервисной информации. Во-первых, это интерфейс встроенного канала управ­ления (ВКУ), для которого занимается один из информационных ОЦК. Во-вторых, это интерфейсы каналов, организуемых на тех позициях циклов первичных потоков, которые предназначены для передачи извещения о срочной и отложенной авариях. В третьих, это интерфейсы каналов, образуемых на позициях цикла, зарезер­вированных для нужд национальной сети. Обычно в состав центрального блока входит также блок питания КК ОЦК. Как правило, с целью повышения надежности центральный блок дуб­лируется (100% «горячий» резерв).

Помимо системной шины в состав кроссконнектора входит также шина контроля, через которую центральный блок связан с блоком поддержки интерфейсов управления (ИУ). Блок ИУ обеспечивает связь кроссконнектора с внешней сетью управления телекоммуни­кациями TMN. К блоку ИУ подключается также терминал оператора.

Процессор, который установлен в центральном блоке, контроли­рует работу всех блоков кроссконнектора, выводит аварийные сигна­лы и регистрирует параметры качества принимаемых сигналов.

Каждая плата портов ПП может содержать несколько портов трактов 2 Мбит/с. Каждый порт обеспечивает все основные функ­ции, обеспечивающие параметры стандартного интерфейса (точки стыка) первичного цифрового тракта. К этим функциям относятся:

преобразование кода сигнала из натурального в линейный и обратно;

- выделение тактовых сигналов из линейного;

- цикловая и сверхцикловая (при необходимости) синхрониза­
ция;

- контроль появления ошибок методом CRC-4.

Структурная схема первичного мультиплексора ПМ представле­на на рис 3. Основными узлами ПМ являются: центральный блок, линейные платы (ЛП), системная шина и шина управления и блок поддержки управляющих интерфейсов (ИУ).

 

 

 

 


Поделиться с друзьями:

mylektsii.su - Мои Лекции - 2015-2026 год. (0.996 сек.)Все материалы представленные на сайте исключительно с целью ознакомления читателями и не преследуют коммерческих целей или нарушение авторских прав Пожаловаться на материал