Студопедия

Главная страница Случайная страница

КАТЕГОРИИ:

АвтомобилиАстрономияБиологияГеографияДом и садДругие языкиДругоеИнформатикаИсторияКультураЛитератураЛогикаМатематикаМедицинаМеталлургияМеханикаОбразованиеОхрана трудаПедагогикаПолитикаПравоПсихологияРелигияРиторикаСоциологияСпортСтроительствоТехнологияТуризмФизикаФилософияФинансыХимияЧерчениеЭкологияЭкономикаЭлектроника






Физические основы






Ядерно-магнитный каротаж (ЯМК) основан на изучении ядерно-магнитных свойств водорода флюидов, заполняющих поры породы. Ядра атомов водорода, как и других элементов (фтора, алюминия, углерода-13 и других), обладают собственным механическим моментом Р (спином) и магнитным моментом μ, оси которых совпадают.

Спин (верчение) характеризует собственный механический момент количества движений, которым обладают элементарные частицы. Он может принимать только целые или полуцелые значения (0; 0.5; 1; 1.5), выраженные в единицах h/2π, где h - постоянная Планка (6.6261·10-34 Дж·Гц-1). Спины электрона, позитрона, протона и нейтрона равны 0.5. Это означает, что они принимают значение 0.5 h/2π. При помещении таких ядер в постоянное внешнее магнитное поле Н их магнитные моменты μ стремятся ориентироваться в направлении вектора данного поля, что ведет к возникновению ядерной намагниченности. При снятии внешнего магнитного поля происходит разрушение приобретенной ядерной намагниченности из-за беспорядочного теплового движения атомов и молекул вещества. Так как это происходит в магнитном поле Земли, ядра ориентируются вдоль этого поля, прецессируя (совершая затухающие вращения) вокруг него подобно волчку в поле силы тяжести с так называемой ларморовой частотой:

где Hз - напряженность магнитного поля Земли (Hз≈ 40 А/м); γ гир= μ /Р - гиромагнитное отношение (отношение магнитного момента μ прецессирующих ядер к их механическому моменту Р). Наибольшее значение γ гир свойственно водороду. Этим вызвано наиболее сильное выражение эффекта ядерного магнетизма у водорода. Во всех других породообразующих элементах этот эффект слишком мал, чтобы его можно было измерить в скважине. Главной задачей ЯМК является регистрация эффектов свободной прецессии протонов ядер водорода в земном магнитном поле. С этой целью в скважину опускают скважинный прибор, включающий в себя катушку удлиненной прямоугольной формы, коммутатор, попеременно подключающий выводы катушки то к источнику постоянного тока силой в 2-3 А, то к выходу усилителя. При подключении катушки к источнику тока в окружающей среде создается поляризующее постоянное магнитное поле. При подключении катушки к усилителю наведенная в ней под действием прецессии ядер водорода ЭДС усиливается и передается по кабелю на поверхность в наземную аппаратуру, где регистрируется.

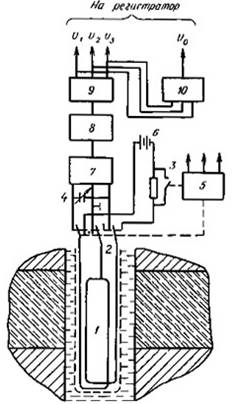
Блок-схема аппаратуры для возбуждения сигналов свободной процессии в скважине и их регистрации: 1 – катушка; 2 – коммутатор катушки; 3 – реле остаточного тока; 4 – конденсатор; 5 – устройство управления; 6 – источник тока поляризации; 7 – усилитель сигналов свободной процессии; 8 – детектор огибающей ССП (сигнала свободной процессии); 9 – измерительное устройство; 10 – вычислительное устройство.

При отсутствии внешнего искусственного магнитного поля магнитные моменты ядер водорода μ ориентированы в направлении магнитного поля Земли Hз.

При пропускании тока поляризации Iп через поляризующую катушку в течение времени tп в исследуемой среде образуется постоянное магнитное поле напряженности Нп. Вектор этого поля составляет некоторый угол с вектором напряженности поля Земли Hз и значительно (примерно на два порядка) превышает его по величине. Возникающий при этом в течение времени tп вектор ядерной намагниченности М ориентируется по результирующему вектору Hср, представляющему собой сумму двух векторов напряженности Нп и Hз.

Поведение вектора ядерной намагниченности (I) до поляризации (а), во время нее (б) и в начале свободной процессии (в), а также схема процессов (II), возникающих при исследованиях методом ЯМК (по С.М. Аксельроду):

а – график во время пропускания тока поляризации I=f(t); б – измерение величины вектора ядерной намагниченности М; в – изменение во времени ЭДС сигнала свободной процессии ЕССП= f(t); г – сигнал свободной процессии после усиления и детектирования.

Вектор ядерной намагниченности М устанавливается не сразу после включения тока Iп, а в течение времени Т1 продольной релаксации, характеризующей скорость нарастания ядерной намагниченности по направлению приложенного поля поляризации:

где М0 - вектор ядерной намагниченности при tп→ ∞; практически tп принимается равным 3-5 T1.

После выключения поляризующего тока (ступенчато снижением до величины остаточного тока Iост и полным выключением через время tост) в среде действует только магнитное поле Земли, и вектор ядерной намагниченности процессирует вокруг вектора Hз с круговой частотой ω, постепенно возвращаясь к своей первоначальной величине. Вектор ядерной намагниченности М по отношению к Hз может быть разложен на две составляющие: продольную Мll, совпадающую с направлением вектора Hз, и поперечную М⊥, перпендикулярную к Hз.

Под действием вектора М⊥ в катушке наводится электрический синусоидальный сигнал (переменная ЭДС) - сигнал свободной прецессии (ССП), соответствующий Et амплитуде ССП (в В) в момент времени t (в с), прошедшего с начала прецессии, затухающей по экспоненциальному закону с постоянной времени поперечной релаксации Т2:

Время поперечной релаксации Т2 характеризует скорость затухания сигнала (за Т2 обычно принимается время, в течение которого начальная амплитуда Е0 уменьшается приблизительно в 2.7 раза, E0 - начальная амплитуда ССП, пропорциональная вектору ядерной намагниченности М).

Для предотвращения влияния переходных процессов, вызванных выключением остаточного тока, момент подключения катушки к усилителю сдвинут на величину мертвого времени τ. ЭДС, индуцируемая в катушке зонда, усиливается и передается по кабелю на дневную поверхность, где регистрирующее устройство фиксирует амплитуду ЭДС Ut в момент времени t. Амплитуда Ut представляет собой огибающую сигнала свободной прецессии: Ut=U0exp(-t/T2), где U0 - начальная амплитуда сигнала свободной прецессии. Так как сигнал свободной прецессии убывает по экспоненциальному закону, достаточно иметь два значения его амплитуды U1 и U2 или U1 и U3, разделенных некоторыми временными интервалами t1, t2 и t3 (35, 50 и 70 мс) после начала прецессии, чтобы по ним путем экстраполяции восстановить амплитуду сигнала U0, по которой определяется индекс свободного флюида:

Аппаратура ЯМК позволяет одновременно автоматически регистрировать две или три каротажные кривые изменения с глубиной амплитуд сигнала свободной прецессии U1, U2 и U3 при фиксированных временах t1, t2 и t3 и постоянных значениях tп и tост. По этим данным оценивается (или непосредственно регистрируется при использовании счетно-решающего устройства) величина U0, приведенная к моменту выключения остаточного поляризующего тока. Кривые U1, U2, U3, U0, регистрируемые в функции глубины, называются кривыми ЯМК.


Поделиться с друзьями:

mylektsii.su - Мои Лекции - 2015-2026 год. (1.625 сек.)Все материалы представленные на сайте исключительно с целью ознакомления читателями и не преследуют коммерческих целей или нарушение авторских прав Пожаловаться на материал