Студопедия

Главная страница Случайная страница

КАТЕГОРИИ:

АвтомобилиАстрономияБиологияГеографияДом и садДругие языкиДругоеИнформатикаИсторияКультураЛитератураЛогикаМатематикаМедицинаМеталлургияМеханикаОбразованиеОхрана трудаПедагогикаПолитикаПравоПсихологияРелигияРиторикаСоциологияСпортСтроительствоТехнологияТуризмФизикаФилософияФинансыХимияЧерчениеЭкологияЭкономикаЭлектроника






Классификация систем железнодорожной автоматики и телемеханики






Основы телемеханики

Классификация систем железнодорожной автоматики и телемеханики

Классификация телемеханических систем

Принцип построения систем телеуправления и телесигнализации

Принцип построения систем телеизмерения

Контрольные вопросы

 

Классификация систем железнодорожной автоматики и телемеханики

В зависимости от размеров движения и условий работы на железных дорогах проектируются различные системы сигнализации централизации и блокировки и увязываемые с ними устройства. Ниже приведены основные системы автоматики и телемеханики, которые применяются на железнодорожном транспорте.

Полуавтоматическая блокировка (ПАБ). Такая система путевой регулирования движения поездов на перегоне, при которой правом на занятие поездом межстанционного перегона при ПАБ является разрешающее показание выходного светофора. Светофор открывается только в случае свободности перегона. До момента прибытия поезда на соседнюю станцию весь перегон закрыт для движения. Недостатком данной системы является низкая пропускная способность ж/д линий.

Автоматическая блокировка (АБ). При АБ весь межстанционный перегон делится на блок-участки, правом на занятие поездом блок-участка является разрешающее показание проходного светофора. Показания светофоров при АБ переключаются автоматически под действием самих движущихся поездов. Такая система организации движения позволяет пропускать поезда попутного следования через небольшие промежутки времени, что значительно увеличивает пропускную способность ж/д линий по сравнению с ПАБ.

Устройства АБ и ПАБ не должны допускать открытия выходного или проходного светофора до освобождения подвижным составом ограждаемого ими блок-участка (межстанционного или межпостового перегона), а также самопроизвольного закрытия светофора в результате перехода с основного на резервное электроснабжение или наоборот. При АБ все светофоры должны автоматически принимать запрещающее показание при входе поезда на ограждаемые ими блок-участки, а также в случае нарушения целостности рельсовых цепей этих участков. На станциях, расположенных на участках, оборудованных путевой блокировкой, эти устройства должны иметь ключи-жезлы для хозяйственных поездов, а на станциях участков с ПАБ, где применяется подталкивание поездов с возвращением подталкивающего локомотива, – ключи-жезлы и для них.

Автоматическая локомотивная сигнализация (АЛС) – система, состоящая из локомотивных и напольных устройств (АБ), при помощи которой показания впередилежащего светофора передаются в кабину машиниста. Локомотивные светофоры устанавливаются в кабине управления локомотива, мотор-вагонного поезда, специального самоходного подвижного состава и выдают сигнальные показа­ния непосредственно машинисту и его помощнику или водителю дрезины и его помощнику. Система АЛС работает совместно с системой автоблокировки. В случае потери машинистом способности управления локомо­тивом устройства АЛС обеспечивают автоматическую остановку поезда перед путевым светофором с запрещающим показанием.

Автоматическая локомотивная сигнализация как основное средство сигнализации и связи при движении поездов (АЛСО). АЛС применяется как самостоятельное средство сигнализации и связи, при которой движение поездов на перегоне в обоих направлениях осуществляется только по сигналам локомотивных светофоров.

Диспетчерская централизация (ДЦ), система позволяющая управлять из единого пункта (поста ДЦ) стрелками и светофорами ряда станций и перегонов; осуществляет контроль на аппарате управления за положением и занятостью стрелок, перегонов, путей на станциях и прилегающих к ним блок-участков, а также повторение показаний входных, маршрутных и выходных светофоров; ведет автоматическую запись графика исполненного движения поездов.

Диспетчерский контроль за движением поездов (ДК). Устройства диспетчерского контроля за движением поездов на участках, оборудованных АБ, должны обеспечивать контроль установленного направления движения (на однопутных перегонах), занятости блок-участков, главных и приемо-отправочных путей на промежуточных станциях, показаний входных и выходных светофоров, технического состояния устройств СЦБ (для вновь внедряемых системы ДК).

Электрическая централизация (ЭЦ). Система, позволяющая управлять пассажирской и маневровой работой станции с единого поста управления. Система ЭЦ включает в себя аппаратуру центрального поста и напольного технологического оборудования. К аппаратуре центрального поста ЭЦ относятся пульт управления и выносное табло (на котором отображаются состояние станционных участков пути, показания светофоров, положение стрелок). На промежуточных станциях применяется пульт-табло, на котором зона управления и индикации совмещены. К напольным устройствам относятся стрелочные приводы, светофоры, рельсовые цепи, устройства пневмообдувки стрелок, электрообогрева контактов автопереключателя, релейные шкафы, устройства ограждения путей и т. д.

Ключевая зависимость стрелок и сигналов (МКУ). Устройства ключевой зависимости обеспечивают взаимное замыкание стрелок и сигналов посредством контрольных замков.

Стрелочные контрольные замки должны:

– допускать извлечение ключа только при запертой стрелке;

– запирать стрелки только в положении, указанном на вынутом из замка ключе, при условии плотного прилегания остряка к рамному рельсу;

– не допускать возможности запирания стрелки при неплотном прилегании остряка к рамному рельсу.

Автоматизация и механизация сортировочных горок (ГАЦ-АРС). Устройства механизации и автоматизации сортировочных горок должны обеспечивают непрерывное, бесперебойное и безопасное расформирование составов с расчетной (проектной) скоростью роспуска. Горочная централизация обеспечивает:

– индивидуальное управление стрелками;

– электрическое замыкание всех пошерстных стрелок, по которым осуществляется роспуск составов;

– контроль положения стрелок и занятости стрелочных секций на пульте управления.

Устройства сигнализации на пересечениях автомобильных и железных дорог, сплетениях железных дорог и у крупных искусственных сооружений, включая тоннели и места горных обвалов (ПС, ТС, ЗС). Автоматическая переездная сигнализация начинает подачу сигнала остановки в сторону автомобильной дороги, а автоматические шлагбаумы принимают закрытое положение за время, необходимое для заблаговременного освобождения железнодорожного переезда транспортными средствами до подхода поезда к железнодорожному переезду.

Автоматическая система оповещения о приближении поезда (АОПП). Перегоны с АБ и станции с ЭЦ стрелок должны оборудоваться автоматической системой оповещения о приближении поезда работников, выполняющих работы на путях в соответствии с планами, утвержденными ОАО «РЖД».

Устройства автоматического выявления перегретых букс в движущихся составах (ПОНАБ, ДИСК, КТСМ). Данные устройства обеспечивают обнаружение и передачу дежурному по впереди лежащей станции, а на участках, оборудованных ДЦ, поездному диспетчеру информацию о наличии и расположении в поезде перегретых букс.

Устройства контроля схода и волочения деталей подвижного состава (УКСПС). Контрольно-габаритные устройства (КГУ). Средства автоматического контроля технического состояния подвижного состава на ходу поезда обеспечивают обнаружение и передачу дежурному по впереди лежащей станции, а на участках, оборудованных ДЦ, поездному диспетчеру информации о наличии и расположении в поезде неисправного подвижного состава и о виде неисправности.

 


 

   

 

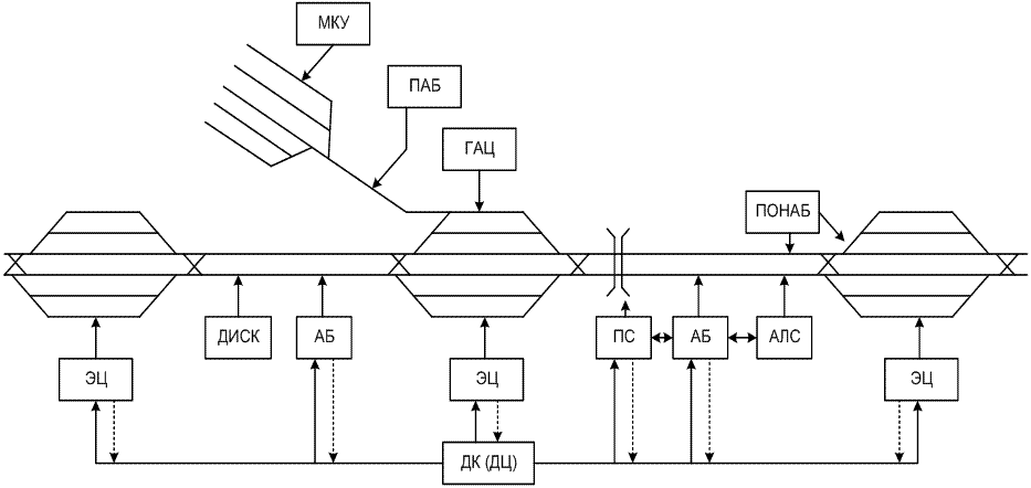
Рис. 1.1. Взаимосвязь систем железнодорожной автоматики и телемеханики


 

Устройства контроля свободности перегона (участка пути) на основе счета осей. На железнодорожном транспорте системы счета осей применяются для следующих целей:

· контроля занятости путевых и стрелочных участков;

· контроля прибытия поезда в полном составе с перегона на станцию (в системах РПБ);

· определения номеров поврежденных колесных пар в системах обнаружения перегревшихся букс или неисправностей бандажей колес (в системах контроля состояния подвижного состава на ходу поезда).

Взаимосвязь всех перечисленных систем можно рассмотреть на примере рис. 1.1.

 


Поделиться с друзьями:

mylektsii.su - Мои Лекции - 2015-2026 год. (1.323 сек.)Все материалы представленные на сайте исключительно с целью ознакомления читателями и не преследуют коммерческих целей или нарушение авторских прав Пожаловаться на материал