Студопедия

Главная страница Случайная страница

КАТЕГОРИИ:

АвтомобилиАстрономияБиологияГеографияДом и садДругие языкиДругоеИнформатикаИсторияКультураЛитератураЛогикаМатематикаМедицинаМеталлургияМеханикаОбразованиеОхрана трудаПедагогикаПолитикаПравоПсихологияРелигияРиторикаСоциологияСпортСтроительствоТехнологияТуризмФизикаФилософияФинансыХимияЧерчениеЭкологияЭкономикаЭлектроника






П. 11. 3. Контроль сварных швов с применением электромагнитов






 

 

П.11.3.1. Контролируемый участок при проверке сварного шва с применением электромагнита.

 

Схема положения электромагнита при контроле сварного шва показана на рис.П.11.13. Полюсные наконечники электромагнита устанавливают примерно симметрично относительно сварного шва. Зоны , прилегающие к полюсным наконечникам шириной 20 мм, являются зонами невыявляемости дефектов. Длина контролируемого участка определяется расстоянием между полюсными наконечниками и размером зон невыявляемости, т.е. .

 

 

 

 

Рис.П.11.13. Расположение контролируемого участка при контроле сварного шва с применением электромагнита: 1 - полюсные наконечники; , - длина и ширина контролируемого участка; - зона невыявляемости дефектов; - расстояние между полюсными наконечниками.

 

Ширина контролируемого участка для электромагнитов постоянного тока; для электромагнитов переменного тока.

 

При установке электромагнита на проверяемый участок требуется обеспечить хорошее прилегание полюсных наконечников к проверяемому участку, т.е. обеспечить хороший магнитный контакт.

 

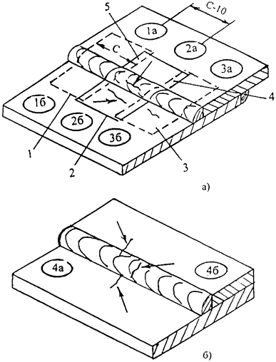
П.11.3.2. Контроль сварных швов нахлестночного соединения с применением электромагнита для выявления продольных и поперечных дефектов.

 

Для выявления продольных дефектов на сварном шве и околошовных зонах сварной шов контролируют по участкам (рис.П.11.14а). Полюсные наконечники электромагнита устанавливают по обе стороны сварного шва. Для контроля первого КУ наконечники устанавливают в положение 1а-1б, включают ток в электромагните, наносят магнитную суспензию и осматривают КУ, не выключая ток в электромагните, т.е. контроль ведут СПП. Аналогично проверяют другие контролируемые участки, устанавливая электромагнит полюсными наконечниками в положение 2а-2б, 3а-3б.

 

 

 

 

Рис.П.11.14. Расположение полюсов электромагнита для обнаружения трещин на сварном шве и в околошовных зонах нахлесточного сварного соединения: а) для выявления продольных трещин; б) для выявления поперечных трещин. 1а-1б, 2а-2б, 3а-3б, 4а-4б - места установки полюсных наконечников электромагнита; 1, 2, 3 - контролируемые участки; 4, 5 - зоны перекрытия; - ширина контролируемого участка.

 

Для обнаружения поперечных трещин полюсы электромагнита могут устанавливаться рядом со сварным швом по его разные стороны (рис.П.11.14б). Это особенно выгодно, если трудно обеспечить хороший магнитный контакт полюсного наконечника со сварным швом.

 

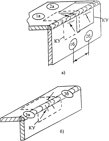
П.11.3.3. Контроль углового сварного шва в тавровом соединении для обнаружения продольных трещин.

 

Для обнаружения продольных трещин в сварном шве и околошовных зонах углового таврового соединения с помощью электромагнита контроль ведут способом приложенного поля по участкам (рис.П.11.15). Для проверки первого участка электромагнит устанавливают полюсными наконечниками в положение 1а-1б, включают ток в электромагните, наносят магнитную суспензию и осматривают КУ. Аналогично проверяют другие участки сварного соединения. Расстояние между полюсными наконечниками должно обеспечить перекрытие соседних КУ. Это расстояние должно быть менее ширины КУ примерно на 10 мм.

 

 

 

 

Рис.П.11.15. Схема последовательного расположения полюсных наконечников электромагнита при контроле углового сварного шва в тавровом соединении для обнаружения продольных трещин (указаны стрелками). Места установки наконечников: 1а-1б - первого контролируемого участка (КУ), 2а-2б - второго КУ; 3а-3б - третьего КУ. - расстояние между полюсными наконечниками электромагнита

 

П.11.3.4. Контроль углового сварного шва в тавровом соединении с помощью электромагнита для обнаружения поперечных трещин на сварном шве и в околошовных зонах.

 

Для выявления поперечных трещин полюсы электромагнита целесообразно устанавливать непосредственно на сварной шов. Однако часто это сделать невозможно, поэтому полюсные наконечники можно устанавливать рядом со сварным швом (рис.П.11.16). Контроль ведут по участкам. Сначала контролируют первый КУ, установив полюсные наконечники в положение 1а-1б. Контроль ведут способом приложенного поля. Затем проверяют другие участки сварного шва.

 

 

 

 

Рис.П.11.16. Схема расположения полюсных наконечников электромагнита в околошовной зоне при обнаружении поперечных трещин (указаны стрелками) в сварном шве таврового сварного соединения: 1а-1б, 2а-2б - места установки полюсных наконечников электромагнита.

 

П.11.3.5. Контроль протяженного сварного шва с применением электромагнита для обнаружения поперечных трещин.

 

Контроль протяженного сварного шва с применением электромагнита для обнаружения поперечных трещин проводят способом приложенного магнитного поля по участкам (рис.П.11.17). Для обеспечения перекрытия соседних участков расстояние между местами установки полюсов 2а-1б должно быть не менее 20 мм.

 

 

 

 

Рис.П.11.17. Схема перестановки полюсных наконечников электромагнита при контроле протяженного сварного шва для обнаружения поперечных трещин (показаны стрелками): 1а-1б, 2а-2б,... , - места установки полюсных наконечников электромагнита; - расстояние между местами установки полюсных наконечников.

 

П.11.3.6. Контроль наружного сварного шва углового соединения с применением электромагнита для выявления продольных и поперечных трещин.

 

Контроль наружного сварного шва углового соединения для выявления продольных трещин проводят по участкам в приложенном магнитном поле (рис.П.11.18а). Полюсы электромагнита устанавливают на первый участок в положение 1а-1б и проверяют его. Затем проверяют все другие КУ.

 

 

 

 

Рис.П.11.18. Схема контроля наружного сварного шва углового соединения с помощью электромагнита: а) для выявления продольных трещин; б) для выявления поперечных трещин (показаны стрелками): 1 а-1б, 2а-2б, 3а-3б - места установки полюсных наконечников электромагнита при контроле участков (КУ)

 

Для обнаружения поперечных трещин полюсы электромагнита устанавливают непосредственно на сварной шов (рис.П.11.18б). Однако если не удается обеспечить достаточно хороший магнитный контакт полюсного наконечника со сварным швом, то полюсы электромагнита следует устанавливать рядом со сварным швом.

 

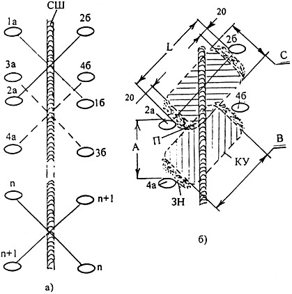
П.11.3.7. Контроль протяженного сварного шва с применением электромагнита для обнаружения различно ориентированных трещин.

 

Контроль проводят по участкам, каждый из которых проверяют дважды (рис.П.11.19): сначала устанавливают полюсные наконечники в положение 1а-1б, намагничивают, наносят магнитную суспензию и осматривают КУ. Затем электромагнит устанавливают в положение 2а-2б и проводят полный цикл магнитного контроля. При этом обнаруживаются разно ориентированные трещины. Далее, проводят контроль при установке электромагнита в положения полюсных наконечников 3а-3б, 4а-4б, , . Расположение полюсных наконечников и контролируемых участков показано на рис.П.11.19б. Ширина контролируемого участка зависит от расстояния между полюсными наконечниками: для электромагнитов постоянного тока; для электромагнитов переменного тока. Зона невыявляемости дефектов примерно равна 20 мм. Расстояние между полюсными наконечниками соседних участков , мм.

 

 

 

 

Рис.П.11.19. Схемы последовательной установки полюсных наконечников электромагнита на объекте при контроле сварного шва по участкам: а) расположения полюсных наконечников; б) расположение участков контроля КУ: - расстояние между полюсными наконечниками; - расстояние между местами установки полюсных наконечников; ЗН - зоны невыявляемости дефектов; КУ - контролируемые участки (заштрихованы); - зоны перекрытия КУ; СШ - сварной шов; , - ширина и длина контролируемого участка (КУ).

 


Поделиться с друзьями:

mylektsii.su - Мои Лекции - 2015-2026 год. (0.624 сек.)Все материалы представленные на сайте исключительно с целью ознакомления читателями и не преследуют коммерческих целей или нарушение авторских прав Пожаловаться на материал