Студопедия

Главная страница Случайная страница

КАТЕГОРИИ:

АвтомобилиАстрономияБиологияГеографияДом и садДругие языкиДругоеИнформатикаИсторияКультураЛитератураЛогикаМатематикаМедицинаМеталлургияМеханикаОбразованиеОхрана трудаПедагогикаПолитикаПравоПсихологияРелигияРиторикаСоциологияСпортСтроительствоТехнологияТуризмФизикаФилософияФинансыХимияЧерчениеЭкологияЭкономикаЭлектроника






Черт. 6






На чертеже планов систем помещают таблицу местных отсосов от технологического оборудования по форме 3. Допускается таблицу местных отсосов приводить на отдельных листах.

Форма 3

Местные отсосы от технологического оборудования

Продолжение формы 3

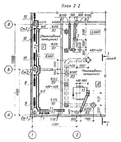
3.1.8. В наименовании планов указывают отметку чистого пола этажа или номер этажа, например: «План на отм. 6, 000», «План 2 - 9 этажей», а в наименовании разрезов - их порядковый номер, например: «Разрез 1-1».

При выполнении двух или более планов на разных уровнях в пределах этажа в наименованиях планов указывают обозначение плоскости горизонтального разреза систем, например: «План 2-2».

При выполнении части плана систем в наименовании указывают оси, ограничивающие эту часть плана, например: «План на отм. 0, 000 между осями 1-8 и А-Д».

Примеры оформления планов систем приведены на черт. 7 и 8, разреза - на черт. 9.


Поделиться с друзьями:

mylektsii.su - Мои Лекции - 2015-2026 год. (0.859 сек.)Все материалы представленные на сайте исключительно с целью ознакомления читателями и не преследуют коммерческих целей или нарушение авторских прав Пожаловаться на материал