Студопедия

Главная страница Случайная страница

КАТЕГОРИИ:

АвтомобилиАстрономияБиологияГеографияДом и садДругие языкиДругоеИнформатикаИсторияКультураЛитератураЛогикаМатематикаМедицинаМеталлургияМеханикаОбразованиеОхрана трудаПедагогикаПолитикаПравоПсихологияРелигияРиторикаСоциологияСпортСтроительствоТехнологияТуризмФизикаФилософияФинансыХимияЧерчениеЭкологияЭкономикаЭлектроника






Схемы абонентских вводов ЦТП открытых систем теплоснабжения: характеристики схем, особенности автоматизации, достоинства и недостатки






 

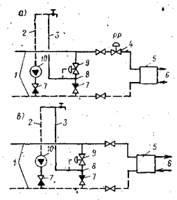
Схемы абонентских вводов открытых систем теплоснабжения. Схемы абонентских вводов открытых систем теплоснабжения приведены на рис. 2.12. По схеме рис. 2.12, а происходит нормальная, независимая от горячего водоснабжения подача тепла из тепловой сети в систему отопления. Это обеспечивается установкой на трубопроводе, подводящем сетевую воду к теплообменнику отопления, автомата постоянства расхода воды РР или автомата, изменяющего расход " сетевой воды через теплообменник отопления в зависимости от потребности абонента в тепле..

 

Рис. 2.12.

Схемы вводов открытых систем теплоснабжения

а —с нормальной подачей тепла в систему отопления; б — со связанной подачей тепла в систему отопления и местным лимитированием расхода сетевой, воды; в — со связанной подачей тепла в систему отопления и центральным лимитированием расхода сетевой воды; 1 — тепловая сеть; 2 — циркуляционный трубопровод; 3 — подающий трубопровод местной системы горячего водоснабжения; 4 — автомат постоянства расхода; 5 — теплообменник отопления; 6 — местная система отопления; 7 — обратный клапан; 8 — смеситель; 9 — регулятор температуры; 10 — циркуляционный насос

 

Отбор воды на горячее водоснабжение из тепловой сети происходит в зависимости от температуры воды в подающем tc и обратном t4 трубопроводах тепловой сети: при t4> 65°С — только из обратной трубы, при t4< 65 0С< tc —из обратной и подающей труб одновременно, при tc ==65°С —только из подающей трубы. При одновременном отборе воды из обеих труб теплосети необходимая температура смеси в 65°С обеспечивается автоматом постоянства температуры РТ, который регулирует поступление воды из подающего трубопровода к точке смешения с водой из обратной трубы. При этом высокое давление в подающем трубопроводе дросселируется в автомате до давления в обратном трубопроводе. При отборе воды только из обратной трубы автомат РТ закрыт; в этом случае температура воды, поступающей в систему горячего водоснабжения, может повышаться до расчетной температуры обратной воды из теплообменника отопления, т. е. до 700С при смесительнщх теплообменниках (элеваторных и насосных узлах) и до 80°С при поверхностном теплообменнике. При отборе воды только из подающего трубопровода автомат РТ открыт и давление за смесителем возрастает до давления в подающем трубопроводе.

Увеличение давления за смесителем приводит к плотному закрытию обратного клапана на подводке обратной воды к смесителю, чем исключается перетекание воды из подающего трубопровода тепловой сети в обратный трубопровод. Но одновременно в этом случае вся местная система горячего водоснабжения становится под давление в подающем трубопроводе, что при большой величине этого, давления может приводить к повреждениям местной системы, поэтому при больших давлениях в подающем трубопроводе на подводке воды к смесителю необходима установка автомата давления «после себя», который ограничивал бы максимальную величину давления в местной системе горячего водоснабжения. При рассматриваемой схеме ввода основное регулирование отпуска тепла потребителям производится центрально путем изменения температуры сетевой воды в соответствии с расходом тепла на отопление, т. е. по так называемому отопительному графику. Недостатком схемы является повышенный расчетный расход сетевой воды, который складывается из расхода воды на отопление и максимального расхода воды в системе горячего водоснабжения.

По схеме рис. 2, 12, б происходит связанная подача тепла в систему отопления при местном (абонентском) лимитировании расхода сетевой воды. Лимитирование расхода сетевой воды в размере, равном отопительному расходу, осуществляется автоматом постоянства расхода РР, который устанавливается на общем для горячего водоснабжения и отопления трубопроводе сетевой воды.

При схеме б с началом отбора воды из подающего трубопровода расход сетевой воды через теплообменник отопления уменьшается, что компенсируется более высокой температурой сетевой воды. Таким образом, при схеме б внутрисуточное и сезонное влияние горячего водоснабжения на.отопление осуществляется путем изменения расхода воды, поступающей в теплообменник отопления.

На абонентских вводах по схеме рис. 2.12, в отсутствует автомат постоянства расхода сетевой воды и в этом случае предполагается, что жесткое лимитирование подачи сетевой воды к абонентам отсутствует при сохранении постоянной разности давлений в трубопроводах тепловой сети у источника тепла. Недостатком схемы в по сравнению со схемой б является необходимость в более тщательной начальной и эксплуатационной (при подключении и отключении отдельных абонентов) регулировок гидравлических режимов системы с целью обеспечения каждого абонента необходимым количеством сетевой воды. Но схема ‘в’ имеет и преимущество перед схемой ‘б’, которое состоит в меньшем влиянии горячего водоснабжения на систему отопления. Происходит это по следующей причине. При схеме ‘б’ автомат РР обеспечивает постоянство расхода сетевой воды независимо от того, имеется или нет водоразбор в системе горячего водоснабжения. При неизменной разности давлений в подающем и обратном трубопроводах сети у абонентского ввода это возможно только при неизменном гидравлическом сопротивлении абонентских систем отопления и горячего водоснабжения. Но при водоразборе, т. е. при открытии водоразборных кранов, гидравлическое сопротивление абонентской системы горячего водоснабжения уменьшается, а следовательно, уменьшается и общее гидравлическое сопротивление абонентского ввода. В результате с началом водоразбора в горячем водоснабжении для обеспечения постоянства расхода сетевой воды через ввод автомат РР должен прикрываться и увеличивать общее сопротивление ввода до прежней величины. В схеме же в автомат РР на вводе отсутствует и уменьшение гидравлического сопротивления ввода при водоразборе ничем не компенсируется, поэтому при водоразборе на ввод поступает больше сетевой воды, чем при отсутствии водоразбора. Это приводит к тому, что при одной и той же величине водоразбора влияние горячего водоснабжения на отопление при схеме ‘в’ будет меньше, чем при схеме ‘б’.

В открытых системах теплоснабжения при всех описанных выше схемах абонентских вводов может наблюдаться явление «опрокидывания», т. е. возникновение противоположного движения воды в обратном трубопроводе от источника тепла к абоненту. Такое явление происходит в том случае, если количество поступающей на ввод сетевой воды меньше количества воды, отбираемой на вводе на цели горячего водоснабжения.

В принципе опрокидывание позволяет наиболее дешевым способом обеспечить подачу к абонентам большего расхода воды на цели горячего водоснабжения, так как при опрокидывании для подачи воды к абонентам используются две трубы — и подающая, и обратная. Но оп-рокидивание в системах с абонентскими вводами по схемам бив может происходить не только при наиболее низких наружных температурах, но и в теплый период отопительного сезона, когда температура воды в обратном трубопроводе очень низка. Так как в системах с указанными вводами подача тепла по подающей трубе ограничена, то опрокидывание при низкотемпературной воде в обратных трубопроводах приводит к подаче в системы горячего водоснабжения воды с пониженной температурой. В системах теплоснабжения с вводами по схеме ‘а’ такое явление исключается, во-первых, потому, что при такой схеме отбор воды из обратного трубопровода в теплый период отопительного сезона меньше, чем при вводах по схемам ‘б’ и ‘в’, а во-вторых, потому, что на вводах по схеме ‘а’ подача воды к смесителю из подающего трубопровода не ограничивается.

Практически в крупных системах теплоснабжения с насосными подстанциями на обратных трубопроводах осущевтвить полное опрокидывание невозможно. Затруднено и частичное опрокидывание у отдельных абонентов, если они имеют автоматы «подпора» на обратных трубопроводах, так как для реализации опрокидывания эти автоматы должны быть снабжены обводными трубопроводами и обратными клапанами. Наиболее радикальным, но и наиболее дорогим средством для избежания опрокидывания в крупных системах является увеличение расчетного расхода сетевой воды на цели отопления, т. е. иначе говоря, уменьшение расчетной разности температур в тепловой еети. В мелких же системах теплоснабжения, в которых отсутствуют насосные подстанции и автоматы «подпора» у абонентов, а абонентские вводы выполнены по схеме ‘а’, опрокидывание вполне допустимо.

При всех рассмотренных схемах вводов открытых систем затруднена организация циркуляция воды в местных системах горячего водоснабжения, Так как. при отборе воды из обратного трубопровода возвратить рециркуляционную воду систем горячего водоснабжения снова в обратный трубопровод практически можно только с помощью насоса. Рекомендуемый в ‘Справочнике но наладке и эксплуатации водяных тепловых сетей’ способ организации циркуляции в системах горячего водоснабжения путем установки дросселя-шайбы на обратном трубопроводе от теплообменника отопления практически себя не оправдал. Это связано с тем, что даже при незначительном отборе воды из обратного трубопровода создаваемый дросселем-шайбой перепад давлений резко уменьшается (в квадрате). Кроме того, при современных протяженных зданиях для обеспечения надлежащей циркуляции в системах горячего водоснабжения требуется создавать в дросселе-шайбе разность давления в 0, 04—0, 06. МПа, а это уже отрицательно сказывается на расходе сетевой воды, через теплообменник отопления.

Насосное же побуждение циркуляции с установкой, насосов у каждого абонента возможно только при наличии бесшумных насосов, которые еще не выпускаются в массовом количестве нашей промышленностью. В связи с этим организация насосной циркуляции в системах горячего водоснабжения при открытых системах теплоснабжения возможна только при создании групповых циркуляционных пунктов (ГЦП), куда бы собирались циркуляционные трубопроводы от нескольких зданий и где рециркуляционная вода обычным насосом направлялась бы в обратный трубопровод системы теплоснабжения. Этот же циркуляционный насос позволил бы также после некоторого переключения осуществлять автономную циркуляцию воды в системах отопления всех присоединенных к циркуляционному пункту зданий во время аварии в тепловых сетях. При отсутствии достаточного количества автоматики и соответствующем технико-экономическом обосновании указанные групповые циркуляционные пункты могут быть превращены в центральные пункты приготовления воды для систем горячего водоснабжения точно так же, как это происходит сейчас в закрытых системах теплоснабжения. Однако в открытых системах такие ЦТП будут более просты, так как в них будут отсутствовать поверхностные теплообменники горячего водоснабжения.

Для контроля за параметрами теплоносителя, работой оборудования и автоматических регуляторов, а также для учета расхода энергоресурсов тепловые пункты оснащаются контрольно-измерительными приборами, т. е. термометрами, манометрами, расходомерами.

Тепловой пункт водяной тепловой сети должен быть оснащен следующими контрольно-измерительными приборами:

а) манометрами самопишущими и показывающими на подающем и обратном трубопроводах после основных задвижек и штуцерами для манометра перед основными задвижками;

б) термометрами самопишущими и показывающими на подающем и обратном трубопроводах ввода и гильзами для термометров на всех обратных трубопроводах от местный систем теплопотребления;

в) расходомерами самопишущими, установленными на подающем или обратном трубопроводе с подключенной тепловой нагрузкой примерно 20 ГДж/ч (5 Гкал/ ч) и более, и водомерами, установленными на линии на горячее водоснабжение;

г) штуцером для манометра и гильзой для термометра на подающей трубе после узла смешения или водоподогревателя для местной системы отопления.

На вводах водяных тепловых сетей в здания устанавливаются грязевики. На подающем трубопроводе ввода грязевик устанавливается после входной задвижки, назначение его — защита местных систем теплопотребления здания от засорения мусором, находящимся в трубопроводах наружных тепловых сетей. На обратном трубопроводе ввода грязевик устанавливается после смесительного узла тистемы отопления и предотвращает пЬпадание мусора из местных систем в наружные тепловые сети. На конце выходного патрубка внутри грязевика устанавливается сетка из оцинкованной проволоки или сверлятся отверстия. Грязевики подбираются, по диаметру подводящих и обратных трубопроводов. Скорость движения воды в грязевике должна быть не более 0, 05 м/с, чтобы в нем успели осесть взвешенные частицы мусора, находящегося в воде..

14. Общие принципы устройства ЦТП абонентских вводов. Элеваторы: работа, устройство, расчет. Достоинства и недостатки элеваторных тепловых пунктов. Новые технические решения по разработке автоматизированных энергоэффективных ЦТП.(смотри ответ № 9)

 

Основные принципы работы элеватора. Схема элеваторного смесителя, графики давлений и скоростей в его проточной части показаны на рис. 3.1. Работает элеватор следующим образом. Высокотемпературная вода выходит из сопла 2 со скоростью Wi в виде струи, несущей большой запас кинетической энергии. Скорость создается. в результате срабатывания в пределах сопла избыточного давления (по отношению к давлению в начале камеры смешения), равного сумме располагаемого перепада давления в тепловой сети перед элеватором и перепада давления во всасывающем коллекторе . Активная рабочая струя захватывает пассивные массы окружающей воды, передаёт им часть своей энергии и образовавшийся смешанный поток движется в проточной части струйного аппарата. В камере смешения в результате обмена импульсами происходит выравнивание поля скоростей потока и за счет высвобождающейся кинетической энергии растет его статическое давление. В конце камеры смешения статическое давление увеличивается на . После камеры смешения поток поступает в диффузор, где тормозится и его статическое давление увеличивается на .

В рассматриваемой конструкции элеватора при движении воды через всасывающий коллектор 1 (см. рис. 3.1) давление падает, а скорость растет. В связи с этим при входе в камеру смешения подсасываемый поток имеет скорость Wz, соизмеримую со скоростью струи, вытекающей из сопла, w1. Следовательно, активная струя эжектирует массы из потока, движущегося с большой скоростью. Такие элеваторы относятся к струйным аппаратам с большой скоростью эжекции. Если всасывающий коллектор сделать широким, чтобы скорость w2=0, тогда получим элеватор с малой скоростью эжекции, характеризуемый меньшим КПД.

 

Рис. 3.1. Схема элеватора (а), график давлений (б) и график скоростей (а)

1 — всасывающий коллектор; 2 — сопло; 3 — камера смешения; 4 — диффузор; 5 — горловина камеры смешения; 6 — приемная камера; G1, G2, G3, — массовые расходы: высокотемпературной воды из подающей линии, подмешиваемой воды нз обратной линии, смешанной воды в системе отопления; рпэ, роэ, рсэ — давления: в подающем и обратном трубопроводах перед элеватором, в системе отопления после элеватора; w1, w2, w3, w4— скорости: при истечении из сопла, при входе в камеру смешения, при входе в диффузор невыходе из него; - перепады давления: располагаемый перед элеватором, во всасывающем коллекторе, в камере смешения, в диффузоре, создаваемый элеватором; F1, F2, F3, F4—сечения; на выходе нз сопла, при входе в камеру смешения для подсасываемого потока (кольцевой зазор), горловины камеры смешения, на выходе из диффузора; lк, lд — длины: камеры смешения и диффузора

При движении потоков в струйном аппарате происходят потери энергии. Основными потерями являются потери на удар при смешении потоков. Для снижения этих потерь необходимо уменьшить разность между скоростями активного w1 и пассивного w2 потоков, что и достигается в аппаратах с большой скоростью эжекции. Несмотря на дополнительные потери энергии, связанные с созданием скорости подсасываемой воды и дополнительным торможением потока (восстановлением давления), эффективность работы элеватора повышается.

Большое значение имеет профиль всасывающего коллектора, так как при плохом профиле потери в коллекторе могут оказаться больше выигрыша в потерях на удар.

Давление во всасывающем коллекторе снижается, поэтому при торможении потока сначала необходимо восстановить давление, затраченное на создание скорости подсасываемой воды во всасывающем коллекторе, а потом создать избыточное. Восстановление давления связано с дополнительными потерями, которые для повышения эффективности струйного аппарата должны быть максимально уменьшены путем соответствующей профилировки его проточной части и сокращения потерь на трение. При неоптимальном профиле проточной части и значительных потерях энергий на трение элеватор с большой скоростью эжекции не даст выигрыша в КПД.

Смесительные насосы. Смешение высокотемпературной воды с обратной водой системы отопления можно осуществлять не только в элеваторах, но и с помощью смесительных насосов. Смесительные насосные узлы устраивают вместо элеваторов, как правило, при недостаточных располагаемых перепадах давлений в точках присоединения абонентов к наружной тепловой сети. В ряде случаев с помощью насосов одновременно со смешением повышается давление в подающем трубопроводе после теплового пункта для залива системы отопления высокого здания или, наоборот, понижается давление в обратном трубопроводе до теплового пункта при высоком давлении в наружной тепловой сети.

Насосная схема присоединения системы отопления позволяет более точно, чем элеваторная, поддерживать необходимую температуру воздуха в отапливаемых помещениях, так как в этом -случае возможно более совершенное регулирование подачи тепла на отопление путем изменения коэффициента подмешивания.

Смесительный насос можно устанавливать на перемычке между подающей и обратной магистралями, на подающем трубопроводе местной системы отопления, на обратном трубопроводе местной системы отопления. Подача насоса, установленного на подающем или обратном трубопроводе местной системы отопления, равна расходу воды в системе отопления.

Смесительные насосы подбирают по заводским характеристикам. Насос должен обеспечивать заданные подачу и напор при наибольшем значении КПД.

В качестве смесительных насосов используют как радиальные (центробежные) насосы общепромышленного назначения (типа К, КМ, ЦНШ), так и радиальные насосы специальной конструкции, учитывающей особенности работы насоса в системе отопления.

Радиальные насосы типа К, КМ, ЦНШ, наиболее часто используемые на тепловых пунктах, по напору и подаче обычно не подходят для системы отопления. В этом случае необходимо искусственно увеличивать сопротивление системы отопления путем установки диафрагмы или вставки малого диаметра, что приводит к увеличению мощности электродвигателя и перерасходу электроэнергии. Кроме того, корпус специальных циркуляционных насосов рассчитан на гидростатическое давление от 0, 6 до 1 МПа, тогда как для насосов типа К и КМ максимально допустимое давление на входе 0, 2 МПа, что ограничивает их применение в системах, отопления зданий повышенной этажности.

.Для циркуляции воды в системах отопления и горячего водоснабжения устанавливают по два одинаковых насоса, действующих попеременно: один работает, другой находится в резерве. Насосы оборудуют автоматикой включения резерва.

 

15. Принципиальная схема, назначение, функциональные задачи, достоинства и недостатки ЦТП. Технические требования к устройству, оборудованию и средствам автоматизации ЦТП. (смотри ответ № 9)

 

Для поддержания заданных значений параметров теплоносителя, поступающего в системы отопления, горячего водоснабжения и к технологическому оборудованию промышленных предприятий, для обеспечения нормального режима работы оборудования тепловых пунктов и систем, использующих теплоноситель, для уменьшения численности обслуживающего персонала тепловые пункты оснащаются автоматическими регуляторами.

По виду энергии, перемещающей регулирующий орган, регуляторы делятся на регуляторы, работающие без постороннего источника энергии (регуляторы прямого действия), и регуляторы, работающие с использованием постороннего источника энергии (гидравлические, пневматические, электрические), т. е. регуляторы непрямого действия.

Регуляторы прямого действия просты в конструктивном отношении и надежны в эксплуатации, что объясняет их широкое применение для поддержания постоянного давления или перепада давлений воды на тепловых пунктах небольшой и средней мощности. Однако регуляторы прямого действия имеют меньшую чувствительность, чем.регуляторы непрямого действия, и могут быть установлены на трубопроводах dy< =100 мм.,

Регуляторы непрямого действия рекомендуется применять при автоматизации объектов со сложными динамическими характеристиками, так как они обеспечивают более широкий диапазон регулирования, возможность введения обратнрй связи и осуществление многоимпульсного регулирования.

Наиболее распространенными регуляторами прямого действия являются регуляторы давления и перепада давления.(расхода) сильфонно-пружинные РД и РР, грузовой регулятор давления и универсальный регулятор перепада давления (расхода) и давления УРРД

Теплообменное оборудование тепловых пунктов систем теплоснабжения: виды теплообменников, конструкции, принцип действия, техническая характеристика, методика теплового расчета, достоинства и недостатки

 

В тепловых пунктах устанавливают водоподогреватели различных типов, и конструкций. В зависимости от вида греющей среды их делят на пароводяные и водоводяные. В первом случае греющей средой является водяной пар, во втором — высокотемпературная вода.. Нагреваемой средой в обоих случаях является вода.

По конструктивным признакам водоподогреватели подразделяют на. кожухотрубные и пластинчатые. В кожухотрубных водоподогревателях основными конструктивными элементами являются цилиндрический корпус и пучок гладких трубок, размещаемый внутри корпуса. Один из теплоносителей протекает внутри трубок, другой — в межтрубном пространстве корпуса. Как внутри трубок, так и в межтрубном пространстве теплоносители движутся с определенными скоростями, обеспечивая активный теплообмен. Такие водоподогреватели получили название скоростных.

Скоростные водоводяные подогреватели, у которых греющая и нагреваемая вода движется навстречу, называют противоточными. Они эффективнее прямоточных, так как обеспечивают большую среднюю разность температур и позволяют нагревать воду до более высокой температуры. Для пароводяных скоростных подогревателей направление движения теплоносителей не имеет значения. Водоводяные и пароводяные скоростные подогреватели предназначены для систем отопления и горячего водоснабжения.

По ориентации оси корпуса скоростные пароводяные водоподогреватели могут быть горизонтальными и вертикальными. В тепловых пунктах жилых, общественных и промышленных зданий устанавливают горизонтальные водоподогреватели.

Иногда в тепловых пунктах устанавливают трубчатые теплообменники, в которых пучок трубок погружен в емкость, заполненную нагреваемой водой. Такие водоподогреватели, в отличие от скоростных, называют емкостными и используют в системах горячего водоснабжения с периодическим разбором воды.

Основным конструктивным элементом пластинчатых водоподогре-вателей является гофрированная пластина. Пластины располагают параллельно друг другу, между поверхностями двух смежных пластин создаются небольшие зазоры щелевидной формы, по которым движутся потоки греющей и нагреваемой сред.

Водоводяные скоростные подогреватели выпускают в настоящее время разъемными. Разъемное исполнение секций позволяет собирать на месте подогреватели с различным числом однотипных секций.

На рис. 3.2 изображен секционный скоростной водоводяной подогреватель. Основным элементом подогревателя является корпус из стальной бесшовной трубы. Внутри.корпуса расположены трубка из латуни диаметром 16 x 1 мм, ввальцованные двумя концами в глухие фланцы. Латунь имеет высокую теплопроводность — около 135 Вт/(м°С) [90 ккал/(мч°С)], следовательно, термическое сопротивление стенки латунной трубки, имеющей толщину 1 мм, ничтожно.

Корпусы теплообменников длинрй 2 и 4 м имеют наружные диаметры от 57 до 530 мм, число - трубок от 4 до 450. Подогреватели рассчитаны на рабочее давление 1 МПа (10 кгс/см2). В подогревателях, предназначенных для горячего водоснабжения, греющую воду направляют в межтрубное пространство, нагреваемую — в трубки. Этим достигается, во-первых, выравнивание скоростей движения сетевой и водопроводной воды, так как расход сетевой воды обычно больше, чем водопроводной. Во-вторых, осаждающуюся накипь легче удалить с внутренней поверхности трубок, чем с наружной. При таком порядке движения воды стальной корпус имеет более высокую температуру, чем латунные трубки, следовательно, нет необходимости в установке линзового компенсатора на корпусе подогревателя. В подогревателях, предназначенных для систем отопления, для выравнивания скоростей греющая вода направляется по трубкам, нагреваемая вода — по межтрубному пространству. На корпуса этих подогревателей устанавливаются линзовые компенсаторы. В комплект поставки подогревателя входят кроме корпуса входной и выходной патрубки, а также калачи для соединения трубного пучка. Патрубок для выхода нагретой воды имеет штуцер для установки термореле.

Рис. 3.2. Водоводяной скоростной секционный подогреватель по ГОСТ 34-588-68

На рис. 3.3 показан пароводяной двухходовой подогреватель с отбортованными днищами. Подогреватель состоит из стального корпуса, внутри которого расположен трубный пучок. Один конец трубного пучка ввальцован в трубную доску, неподвижно закрепленную относительно корпуса. Другой конец трубного пучка ввальцован в подвижную трубную доску, которая несет плавающую относительно корпуса подогревателя водяную камеру. На корпусе подогревателя установлены патрубки для входа пара, выхода конденсата, входа и выхода нагреваемой воды. Для установки термометров и манометров предусмотрены гильза и штуцер. Контроль за уровнем конденсата осуществляется с помощью водомерного стекла. При установке подогревателя на конструкции, сваренной из сортовой стали, необходимо предусмотреть крепление подогревателя двумя хомутами. Один хомут затягивают намертво, другой — с прокладкой из асбеста для возможности перемещения, вызванного температурным удлинением.

 

Рис. 3.3. Пароводяной скоростной двухходовой водоподогреватель по ГОСТ 34-576-68

1 — вход пара; 2 — выход конденсата; 3 — выход воды; 4 — вход воды

 

В настоящее время промышленность выпускает пароводяные подогреватели. двух- и четырехходовые с длиной трубок 2 и 3 м. Площадь поверхности нагрева таких подогревателей изменяется от 6, 3 до 234 м2, теплопроизводительность — от 0, 67 до 32 МВт (0, 58—27, 5 Гкал/ч). Трубная система подогревателей выполнена из латунных трубок диаметром –16х1 мм. Из условия прочности предельное давление воды 1, 6 МПа, пара - 1 МПа. Давление пара в подогревателе должно быть на 0, 1—0, 2 МПа меньше давления воды во избежание попадания пара в трубки подогревателя при их повреждении и вскипания воды.

Пар из парового коллектора поступает в межтрубное пространство подогревателя и конденсируется на поверхности трубок, имеющих более низкую температуру. Конденсат под действием силы тяжести стекает вниз.

В системах горячего водоснабжения с периодическим разбором воды (например, душевые установки промышленных предприятий) устанавливают емкостные пароводяные горизонтальные водоподогреватели. Подогреватель состоит из стального корпуса и змеевика, расположенного внутри корпуса. Пар подается в змеевик, холодная вода поступает в нижнюю часть корпуса подогревателя и вытесняет нагретую воду через патрубок, расположенный в верхней части корпуса. При этом не происходит перемешивания холодной и нагретой воды, так как холодная вода, имеющая большую плотность, остается внизу, а по мере нагревания она поднимается вверх. Теплопроводность в массе воды затруднена. Рабочая емкость водоподогревателя определяется объемом воды, находящейся выше змеевика. Выпускаемые промышленностью емкостные водоподогреватели имеют вместимость от 400 до 4000 л и площадь поверхности нагрева от 0, 5 до 4, 7 м2. Площадь поверхности змеевика обеспечивает нагрев рабочего объема воды от 5 до 75°С в течение 1 ч при рабочем давлении пара в змеевике 0, 485 МПа. Наличие значительного объема воды в подогревателе позволяет использовать его как бак-аккумулятор. Отсутствие естественной и вынужденной конвекции в массе воды затрудняет теплообмен между паром и водой. Коэффициент теплопередачи в емкостных пароводяных подогревателях значительно ниже, чем в скоростных.

В скоростных и емкостных пароводяных подогревателях происходит процесс конденсации водяного пара. Тепло, выделяющееся при конденсации, идет на нагрев воды. Использование тепла будет неполным, если из подогревателя выйдет пар, не успевший сконденсироваться. Во избежание потерь тепла на выходе из пароводяных подогревателей устанавливают конденсатоотводчики, используемые также для дренажа паропроводов и паровых коллекторов. По принципу действия конденсатоотводчики делятся на термостатические, термодинамические и поплавковые. Принцип действия термостатических конденсатоотврдчиков следующий. Сильфон (термостат) термостатического конденсатоотводчика частично заполнен легкоиспаряющейся жидкостью. При попадании в конденсат насыщенного пара, температура которого выше температуры испарения жидкости, жидкость в сильфоне мгновенно вскипает и давление в нем становится выше давления пара. Сильфон удлиняется и с помощью прикрепленного к нему золотника закрывает проход, предотвращая утечку пара. При попадании в конденсатоотводчик конденсата, температура которого на 10—20° С ниже температуры насыщенного пара вследствие некоторых потерь тепла в окружающую среду, давление паров жидкости в сильфоне снижается, сильфон сжимается, открывается проход и конденсат отводится, в дренаж или в сборный бак.

Пластинчатые водоподогреватели. Основным элементом пластинчатого подогревателя. является пластина. На рис. 3.5, а показана пластина типа 0, 5 Е с гофрами «в елку» (конструкция УКРНИИхиммаша). Габаритные размеры пластины 1370 х 500 х 1 мм (длина х ширину х толщину), площадь поверхности теплообмена одной пластины 0, 5 м3; масса пластины 5, 4 кг. Пластины штампуются из листового металла, гофры пластин имеют в сечении профиль равнобедренного треугольника с основанием 14 мм и высотой 4 мм.

Поверхность нагрева образуется из параллельно расположенных гофрированных пластин. По зазорам между пластинами направляются потоки греющей и нагреваемой, сред. Простейший подогреватель должен иметь не менее трех пластин, образующих два канала (зазора), по одному из которых течет греющая среда, по другому — нагреваемая.

Пластины устанавливаются на раму подогревателя, которая состоит из верхней и нижней несущих штанг, подвижной и неподвижной плит с зажимным устройством..Неподвижная плита обычно прикреплена к полу, подвижная подвешена на скобе к верхней штанге и может перемещаться по ней. На плитах имеются штуцера для присоединения.трубопроводов.

Разборная конструкция подогревателей позволяет достаточно легко и быстро производить чистку поверхностей пластин от слоя накипи, отлагающейся на них в процессе эксплуатации.

Группа пластин, образующая систему каналов, в которых рабочая среда движется только в одном направлении, составляет пакет. Один или несколько пакетов, сжатых между неподвижной и подвижной плитами, называют секцией. (рис. 3.5, б).

Рис. 3.5. Пластинчатый водоподогреватель

а — пластика с грфрами в «елку»; 1— отверстие для входа и выхода воды; 2 — резиновая прокладка; б — подогреватель в сборе: 1 — штанга; 2 — передняя и задняя стойки; 3 — штуцера; 4 — пластины; в — симметричная схема компоновки пластин; г — несимметричная схема компоновки пластин

 

Пластины можно компоновать в симметричные пакеты для греющей и нагреваемой сред, т.е. с одинаковым числом каналов в каждом пакете для каждой среды (рис. 3.5, в). Если расход одной среды значительно отличается от расхода другой среды, то для получения оптимальных скоростей по ходу каждой среды применяют несимметричные схемы компоновок пластин. В этом случае число каналов в пакетах для греющей и нагреваемой сред неодинаково (рис.3.5, г).

Схему простейшего водоподогревателя, состоящего из пяти пластин, образующих по два параллельных канала для каждого потока, условно обозначают дробью Сх 2/2.

Пластинчатые подогреватели разборной конструкции предназначены для работы при давлении до 1, 6 МПа и температуре рабочей среды до 180°С.

Пластинчатые подогреватели имеют более высокие технико-экономические показатели по сравнению с кожухотрубными. Процесс изготовления поверхности теплообмена из тонких штампованных пластин более индустриален и менее трудоемок, чем производство бесшовных труб малого диаметра для той же цели. Малая толщина и параллельная установка пластин с малыми промежутками между ними позволяют разместить в минимальном пространстве максимальную поверхность теплообмена, что недостижимо в других типах поверхностных теплообменников. В пластинчатых подогревателях использованы сложные формы поверхностей теплообмена и образуемых ими каналов, в которых поток воды искусственно турбулизируется. Это значительно повышает эффективность теплообмена, в то же время гидравлические потери в каналах и, следовательно, затраты энергии на перекачку воды остаются небольшими.

В Советском Союзе пластинчатые подогреватели впервые были изготовлены в 1940 г. для нужд пищевой промышленности. В последние годы они начали находить применение в системах теплоснабжения для нагрева воды паром или высокотемпературной водой.

Задачей теплового расчета является определение необходимой площади поверхности нагрева водоподогревателя при заданной тепловой производительности, конструкции и известных температурах греющей и нагреваемой сред на входе в водоподогрёватель и на выходе из него.

Площадь поверхности нагрева, м2, определяют по формуле

 

где Q — тепловая производительность, Вт; К — коэффициент теплопередачи, Вт/(м2°С); — средняя разность температур греющего и нагреваемого теплоносителя, 0С.

Изменение температур теплоносителей при их движении вдоль поверхности нагрева происходит нелинейно. Учитывая это, среднюю разность температур следует определять по логарифмической формуле:

 

 

Где —большая разность температур греющей и нагреваемой жидкостей; — меньшая разность температур.

Коэффициент теплопередачи водоподогревателей определяется по выражению:

(3.19)

где — коэффициент теплоотдачи от греющего теплоносителя к стенке трубки; — то же, от стенки трубки к нагреваемой воде; — толщина стенки трубки, м; — теплопроводность материала стенки.

В процессе эксплуатации подогревателя происходит отложение накипи н.а трубках. Особенно интенсивно откладывается накипь на внутренней поверхности трубок подогревателей, нагревающих воду для системы горячего водоснабжения. Водопроводная вода, проходящая по трубкам, не подвергается, как правило, химической очистке от солей жесткости. В процессе нагрева водопроводной воды соли. жесткости выпадают в осадок, образуя слой накипи. При этом значение коэффициента теплопередачи снижается по сравнению с расчетным.

Особенности теплового расчета пластинчатых водоподогревателей. Наличие в щелевидных каналах пластинчатых подогревателей, образованных пластинами с гофрами, большого числа близко расположенных поворотов приводит к эффективной искусственной турбулизации потоков воды. На значение критического числа Рейнольдса влияют форма поверхности теплообмена, форма канала, а также источники искусственной турбулизации потоков.

При движении воды в круглой трубе в условиях стабилизированного потока область переходного режима лежит в пределах 2300< < Re< 10000. В извилистых каналах пластинчатых водоподогревателей переход к турбулентному режиму происходит при Re=200...500.

Учитывая исключительную сложность гидромеханических и тепловых явлений в непрерывно меняющем направление турбулентном потоке воды в каналах пластинчатых подогревателей, задачу о теплоотдаче решают не аналитически, а экспериментально в форме связи между критериями подобия.

 

Принципы регулирования отпуска тепла потребителям в системах централизованного теплоснабжения. Характеристика основных видов и методов регулирования. Обоснование качественного и количественного методов регулирования.

 

В конечном счете вырабатываемое и передаваемое системой теплоснабжения тепло используется для получения либо поддержания необходимой температуры различных сред (воздух помещений, вода горячего водоснабжения и т. п.), которые или окружают человека, или используются им в быту и на производстве.

Передача тепла системы теплоснабжения в конечные нагреваемые среды осуществляется нагревательными приборами местных систем теплопотребления, по теплоотдаче которых судят о качестве всего централизоранного теплоснабжения. Совокупность мероприятий по изменению теплоотдачи, приборов в соответствии с изменением потребности в тепле нагреваемых ими сред называется регулированием отпуска тепла. От правильной организаций и надлежащего осуществления регулирования во многом зависят качество и экономичность теплоснабжения.

Несмотря; на значительное конструктивное разнообразие применяемых нагревательных приборов, все они, как правило, являются теплообменниками поверхностного типа, теплоотдачу которых в переменных режимах наиболее-целесообразно определять по формуле:

(5.1)

где W — тепловой.эквивалент нагреваемой или греющей среды, кДж/(ч-°С); — основной коэффициент нагрева нагреваемой среды или основной коэффициент охлаждения греющей среды; — максимальная разность двух температур теплообменивающихся сред: начальной температуры горячей (греющей) среды tгр.н и начальной температуры холодной (нагреваемой) среды tнагр.н

В формулу (5.1) введем дополнительно коэффициент для учета возможных перерывов в работе аппарата:

(5.2)

Коэффициент продолжительности работы прибора может изменяться от нуля до единицы. При = 0 прибор выключен, при. = 1 прибор работает непрерывно.

Анализ формулы (5.2) показывает, что практически изменять (регулировать) теплоотдачу нагревательного прибора можно изменением только трех величин: начальной температуры поступающей в прибор греющей среды tгр.н, расхода этой среды Gг=Wг/cг (здесь сг — удельная теплоемкость среды) и значения коэффициента . В зависимости от того, изменением какой из трех величин осуществляется изменение теплоотдачи нагревательного прибора, различают следующие виды регулирования:

- качественное, когда изменяют tгр.н при постоянных значениях Gг и ;

- количественное, когда изменяют Gr, оставляя постоянными значения tгр.н и

- качественно-количественное при одновременном изменении tгр.н и Gr и. постоянном значении ;

- прерывистое (регулирование пропусками), когда периодически включают и выключают прибор, т. е. изменяют значение коэффициента при неизменных значениях tгр.н и Gr. Например, если в течение 1 ч аппарат включен только 45 мин, а 15 мин выключен, то р=45/60 = 0, 75.

По числу одновременно регулируемых приборов различают регулирование:

- приборное (индивидуальное), когда регулированию подвергается единичный прибор;

- групповое, когда из одной точки одновременно регулируется несколько однотипных приборов одного назначения.

По числу охватываемых приборов групповое регулирование может быть весьма различным. Так, групповое регулирование в отоплении может осуществляться в пределах одной квартиры (квартирное регулирование), в пределах одного фасада здания (пофасадное регулирование), во всем здании (абонентское регулирование), в нескольких зданиях (квартальное, микрорайонное, общерайонное регулирование). Наконец, если теплоотдача приборов отопления всех зданий, теплоснабжаемого района регулируется из одного центра, каким обычно является источник тепла, то такое групповое регулирование называется центральным. Чем крупнее групповое регулирование, тем в меньшей степени оно способно удовлетворить некоторые частные требования, предъявляемые к теплоотдаче более мелких групп приборов, входящих в общую группу. Например, единое регулирование нагревательных приборов всего здания не может удовлетворить разных требований, предъявляемых к теплоотдаче приборов, расположенных на северном и южном фасадах дома. В связи с этим в практике теплоснабжения наибольшее распространение получило комбинированное регулирование, при котором центральное регулирование температуры воды сочетается с местным регулированием расхода теплоносителя в отдельных группах приборов (в отоплении) или даже у отдельных приборов (калориферы вентиляции, теплообменники горячего водоснабжения).

По принципу снабжения теплом нагреваемой среды регулирование отпуска тепла может носить пассивный или активный характер. Если температура, нагреваемой среды (например, воздуха помещений) не оказывает влияния на количество поступающего в эту среду тепла, то такое регулирование будет пассивным, и наоборот, если количество отдаваемого прибором тепла регулируется (прямо или косвенно) по заданной температуре этой среды, то такое регулирование будет активным. Например, наиболее часто применяемое в отоплении комбинированное регулирование, состоящее из центрального изменения температуры, воды и местного (у абонентов) автоматического поддержания постоянства расхода воды, является пассивным регулированием, ибо в данном случае получаемое внутренним воздухом тепло не связано с температурой воздуха, которая под влиянием ряда факторов (солнечная инсоляция, повышенные внутренние тепловыделения и т. п.) может отклоняться от нормированного значения. Если же специальная автоматика, получающая импульс от температуры внутреннего воздуха, будет изменять расход теплоносителя через прибор и тем самым поддерживать температуру воздуха на заданном уровне, то такое регулирование отпуска тепла будет иметь активный характер.

 


Поделиться с друзьями:

mylektsii.su - Мои Лекции - 2015-2026 год. (1.111 сек.)Все материалы представленные на сайте исключительно с целью ознакомления читателями и не преследуют коммерческих целей или нарушение авторских прав Пожаловаться на материал