Студопедия

Главная страница Случайная страница

КАТЕГОРИИ:

АвтомобилиАстрономияБиологияГеографияДом и садДругие языкиДругоеИнформатикаИсторияКультураЛитератураЛогикаМатематикаМедицинаМеталлургияМеханикаОбразованиеОхрана трудаПедагогикаПолитикаПравоПсихологияРелигияРиторикаСоциологияСпортСтроительствоТехнологияТуризмФизикаФилософияФинансыХимияЧерчениеЭкологияЭкономикаЭлектроника






Использование межстраничных соединителей






Если схема занимает больше одного листа, а линия потока обрывается, то для связи символов используется «межстраничный соединитель». По форме символ межстраничного соединения напоминает утолщённую стрелку, положение его может изменяться в зависимости от направления линии потока, с которой он связан. Внутри символа «межстраничный соединитель» указывается адрес - откуда (или куда) направлена линия потока. Надпись дается в две строки: в первой строке указывается номер листа (трехзначное число, например, лист 1 записать как 001), во 2-ой - порядковый номер блока (двузначное число, например, 17, 02 и т. п.).

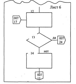
Пример использования межстраничных соединителей (с 6-ого на 7-ой лист):

 

 

 


Здесь показано продолжение схемы с 6-го на 7-ой лист. На месте обрыва линии потока, на одном и другом листе, изображен межстраничный соединитель, внутри которого указан адрес 007 16, где 007 - номер листа, на который переносится продолжение программы, 16 - порядковый номер символа, к которому линия потока направлена. Прерванная линия потока на листе 7 начинается с межстраничного соединителя. Адрес 006 15 внутри соединителя указывает: 006 - номер листа, с которого перенесено продолжение схемы, 15 - порядковый номер символа, от которого следует линия потока.

В случае, когда некоторый символ (например, символ 29 на листе 12) связан с некоторыми символами других листов (например, с символами 7 и 13 на листе 11 и символами 34 и 39 на листе 13), на входе изображается только один межстраничный соединитель, внутри которого на первой строке помещается знак #, который означает: смотри комментарий, а на второй строке приводится координата символа «комментарий». Внутри символа «комментарий» указываются адреса тех символов, от которых продолжение алгоритма направлено к символу (в примере этот символ 29 12-го листа схемы), т.е. номера соответствующих листов и порядковые номера символов.

 
 

 

 


Выполняя схемы, не следует злоупотреблять применением соединителей.


Поделиться с друзьями:

mylektsii.su - Мои Лекции - 2015-2026 год. (1.549 сек.)Все материалы представленные на сайте исключительно с целью ознакомления читателями и не преследуют коммерческих целей или нарушение авторских прав Пожаловаться на материал