Студопедия

Главная страница Случайная страница

КАТЕГОРИИ:

АвтомобилиАстрономияБиологияГеографияДом и садДругие языкиДругоеИнформатикаИсторияКультураЛитератураЛогикаМатематикаМедицинаМеталлургияМеханикаОбразованиеОхрана трудаПедагогикаПолитикаПравоПсихологияРелигияРиторикаСоциологияСпортСтроительствоТехнологияТуризмФизикаФилософияФинансыХимияЧерчениеЭкологияЭкономикаЭлектроника






Последовательность выполнения работы.






Лабораторная работа №1-5

 

Выполнил: студент 4-МиАТ-1. Васюченко.Н.И

Проверил: Береснев.Ю.Л

 

Самара 2015 г.

 

Лабораторная работа №1
Составление технологического
маршрута обработки.
Выбор автоматического оборудования

Цель работы: Ознакомление с технологическими возможностями многоинструментных станков. Подготовка исходных данных для проектирования технологического процесса механической обработки детали в условиях АЛ.

 

Последовательность выполнения работы.

1. Проанализировать рабочий чертёж детали, выделить комплекты основных и вспомогательных конструкторских баз (ОКБ и ВКБ). Записать механические свойства материала, из которого изготавливается деталь.

2. Наметить основные схемы базирования и установки (можно на чертеже детали).

3. Наметить маршрут обработки на многоинструментных станках, обратив особое внимание на положение заготовки в каждой рабочей позиции автоматно-линейной операции, которое на основании принципа постоянства баз должно быть, по возможности, неизменным. Учесть возможности встраивания станков в АЛ, применения комбинированного режущего инструмента и автоматического межстаночного транспортирования заготовки.

Получаемые результаты. На чертеже детали должны быть изображены базы ОКБ и ВКБ, пронумерованы обрабатываемые поверхности, показаны основные схемы базирования. Технологический маршрут обработки с раскрытием содержания позиций и переходов представляется в виде первых 4 столбцов

Деталь «Сухарь» предназначена для установки подвижного соединения, перемещающихся в двух пазах. В центре отверстия 40 H9 устанавливается тяга обеспечивающая перемещение.

Материал детали Чугун СЧ-18, термической обработке не подвергается.

 

 

 

 

Рис.1(Чертеж Заготовки «Сухарь»)

 

 

 

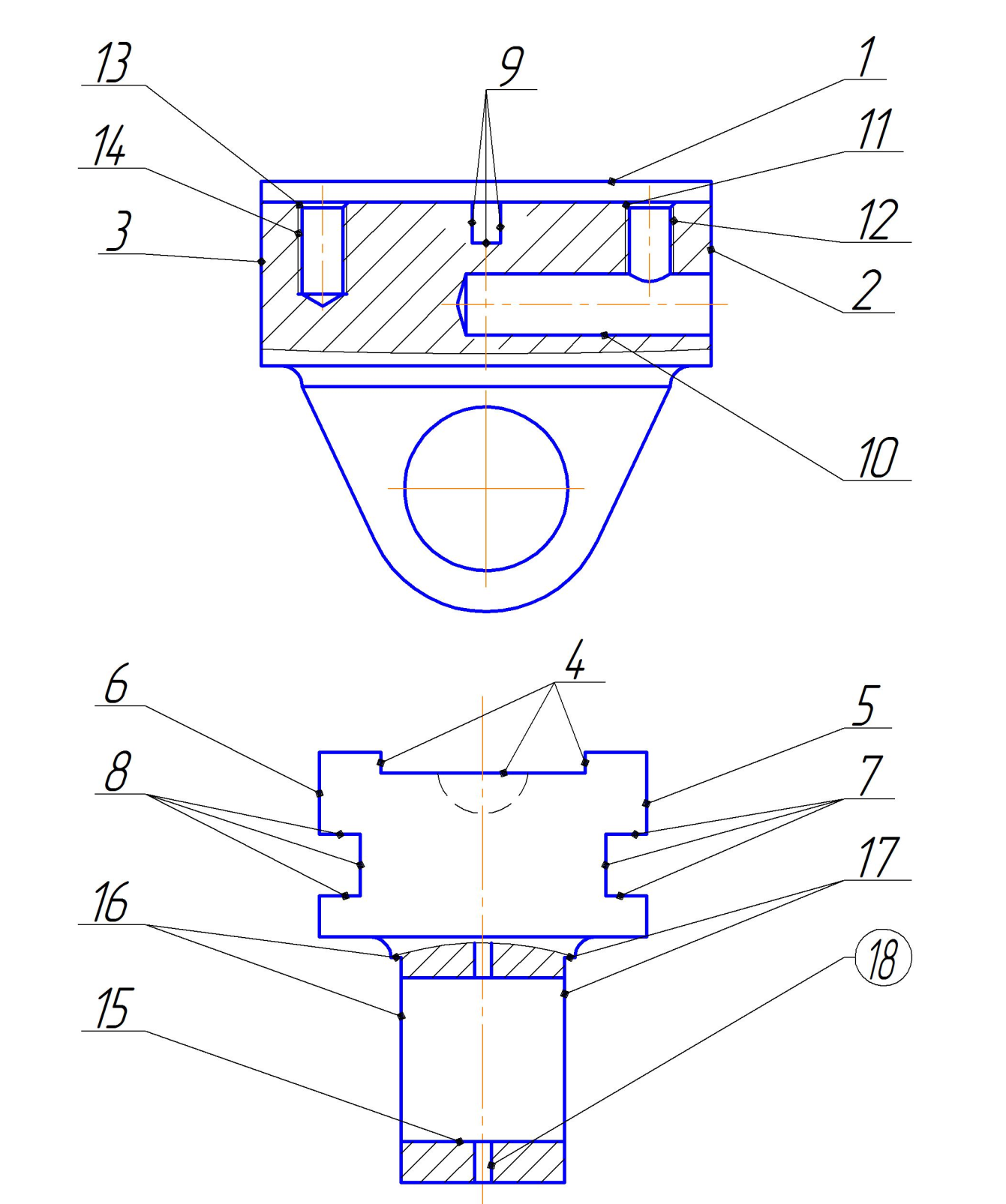
Рис.2(Чертеж детали «Сухарь»)

 

 

 

Рис.3(Технологический чертеж детали «Сухарь»)

 

 

 

 

Рис.4(Схемы базирования и установки)

 

Везде используется один комплект баз:

Уставочная (1, 2, 3), Направляющая(4, 5), Упорная(6)

 

Технологический процесс обработки детали “Сухарь” Таблица 3.1

№ опер № поз. № пер. Наименование и содержание позиций и переходов Оборудова- ние Режимы обработки Время, мин
n, мин-1 S, мм/зуб/об T o T в T оп
      Агрегатно-Фрезерная Фрезеровать одновременно поверхность 1, 2, 3 Агрегатно-фрезерный     0.3   0.52   0.167   0.68
      Агрегатно-Фрезерная Фрезеровать одновременно поверхность 5, 6, паз пов 4.1 Агрегатно-фрезерный   0.3 0.3 0.09   0.567   0.167   0.734
      Агрегатно-Фрезерная Фрезеровать одновременно, паз пов 4.2, 7, 8 Агрегатно-фрезерный   0.07 0.06 0.06   0, 93   0.167   1.097
        Агрегатноно-Фрезерно-Сверлильная Фрезеровать паз поверхность 9, Сверлить отв пов 10.1 Агрегатно-фрезерно-сверлильный   0.03 0.2     0.67     0.08     0.75
    Агрегатно-Сверлильная Зенкеровать отверстие пов 10.2, Сверлить отверстие пов 11, 12.1, 13, 14.1 Агрегатно- сверлильный   0.3 0.2 0.2
    Агрегатно- Резьбонарезная Нарезать резьбу пов. 12.2, 14.2 Агрегатно- сверлильный   - -
    Загрузочно-разгрузочная Механизмы перемещения зажима фиксации спутника    
        Агрегатно-Сверлильная Зенкеровать отв пов 15.1 Агрегатно- сверлильный   0.5   0.83   0.08   0.91
    Агрегатно-Сверлильная Развернуть отв пов 15.2 Агрегатно- сверлильный   1.3
    Агрегатно-Фрезерная Фрезеровать одновременно, пов 16.1, 17, 1 Агрегатно-фрезерный   0.15 0.15
    Агрегатно-Фрезерная Фрезеровать одновременно, пов 16.2, 17, 2 Агрегатно-фрезерный   0.09 0.09
    Агрегатно-Сверлильная Сверлить отверстие пов 18.1 Агрегатно- сверлильный   0.1
    Агрегатно-Сверлильная Сверлить отверстие пов 18.2 Агрегатно- сверлильный   1.3
    Загрузочно-разгрузочная Механизмы перемещения зажима фиксации спутника    

 

Лабораторная работа №2
Определение режимов обработки
и технически обоснованных норм времени


Поделиться с друзьями:

mylektsii.su - Мои Лекции - 2015-2026 год. (1.379 сек.)Все материалы представленные на сайте исключительно с целью ознакомления читателями и не преследуют коммерческих целей или нарушение авторских прав Пожаловаться на материал