Студопедия

Главная страница Случайная страница

КАТЕГОРИИ:

АвтомобилиАстрономияБиологияГеографияДом и садДругие языкиДругоеИнформатикаИсторияКультураЛитератураЛогикаМатематикаМедицинаМеталлургияМеханикаОбразованиеОхрана трудаПедагогикаПолитикаПравоПсихологияРелигияРиторикаСоциологияСпортСтроительствоТехнологияТуризмФизикаФилософияФинансыХимияЧерчениеЭкологияЭкономикаЭлектроника






Расчет сложных трубопроводов






Под сложными трубопроводами понимают систему трубопроводов, имеющих ответвления, параллельные или кольцевые участки, переменный расход и т. д.

При последовательном соединении трубопроводов различного диаметра (рис. 5.2, а) исходят из того, что полные потери напора в трубопроводе равны сумме потерь напора на отдельных его участках ().

Рисунок 5.2 Схемы сложных трубопроводов:

а) при последовательном соединении; б) при параллельном соединении

 

Расчет таких трубопроводов целесообразно производить графоаналитическим способом с использованием графиков зависимости потерь напора от расхода (рис. 5.3, а). Задаются значениями , ,..., < < , ,..., . Для каждого значения строят кривые для заданных трубопроводов 1 и 2 (для заданной схемы), используя зависимость для определения потерь напора на -том участке:

, при (5.8)

где - расходная характеристика трубопровода, т. е. расход при ().

Кривую строят сложением ординат кривых и . По и кривой определяют полные потери напора в трубопроводе .

Рисунок 5.3 – К расчету сложных трубопроводов:

а) при последовательном соединении; б) при параллельном соединении

 

При расчете трубопроводов с параллельными ветвями (рис. 5.2, б) исходят из того, что сумма расходов в отдельных ветвях равна полному расходу () и что потери напора во всех ветвях одинаковы .

Задаются значениями , ,..., < < , ,..., . Для каждого значения строят кривые для заданных трубопроводов 1 и 2 (для заданной схемы), используя зависимость для определения расхода на -том участке:

, при . (5.9)

Зависимость полного расхода на разветвленном участке от потерь напора строится сложением абсцисс кривых и (рис. 5.3, б). По и кривой определяют расход в трубопроводе.

ПРИМЕР. Рассмотрим схему решения одной из задач на расчет разветвленного трубопровода.

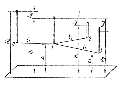
Пусть тупиковый трубопровод (рис. 5.4) имеет всего три участка, где , и - давления в его конечных точках;

, , и - расстояние этих точек от горизонтальной плоскости сравнения.

Рисунок 5.4 Схема тупикового трубопровода с тремя участками

 

В зависимости от соотношения между пьезометрическими напорами:

, , ,

направление движения жидкости в трубопроводах может быть различным.

Рассмотрим случай, когда , и . Определим полный расход жидкости в трубопроводе и расходы в отдельных его ветвях и при заданных геометрических размерах трубопроводов (, , ), отметках характерных точек , , , и давлениях в начальной точке () и конечных точках ( и ).

Для решения задачи воспользуемся системой уравнений, связывающих искомые расходы , и и потери напора на отдельных участках трубопровода:

. (5.10)

Решение системы уравнений (5.10) целесообразно выполнить графоаналитическим способом. Представим три уравнения системы (5.10) для трубопроводов 1, 2, 3 соответственно:

;

;

.

По этим формулам построим графики зависимости пьезометрического напора в узле 1 от расхода (рис. 5.5) для всех трубопроводов (кривые 1, 2 и 3).

Рисунок 5.5 - Графики зависимости пьезометрического напора от расхода

 

Зависимость суммарного расхода в трубопроводах 2 и 3 от напора (кривая 2 + 3) строится сложением абсцисс кривых 2 и 3.

Значение напора при котором суммарный расход в трубопроводах 2 и 3 равен расходу в трубопроводе 1, и является искомым. Поэтому координаты точки пересечения кривых 2+3 и 1 определяют решение задачи: ее абсцисса равна полному расходу , а ордината - напору . Абсциссы точек и равны расходам и .

 


Поделиться с друзьями:

mylektsii.su - Мои Лекции - 2015-2026 год. (1.065 сек.)Все материалы представленные на сайте исключительно с целью ознакомления читателями и не преследуют коммерческих целей или нарушение авторских прав Пожаловаться на материал