Студопедия

Главная страница Случайная страница

КАТЕГОРИИ:

АвтомобилиАстрономияБиологияГеографияДом и садДругие языкиДругоеИнформатикаИсторияКультураЛитератураЛогикаМатематикаМедицинаМеталлургияМеханикаОбразованиеОхрана трудаПедагогикаПолитикаПравоПсихологияРелигияРиторикаСоциологияСпортСтроительствоТехнологияТуризмФизикаФилософияФинансыХимияЧерчениеЭкологияЭкономикаЭлектроника






Дәріс №4. Тақырып:Карданды беріліс. Жетекші белдіктер. Гидромеханикалық трансмиссия






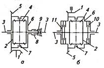
Карданды берілістердің тү рі. Карданды берілістер автомобиль қ озғ алысы кезінде айналу моментін беруге жә не трансмиссия агрегаттарын жалғ ауғ а арналғ ан, мү нда соө сты емес немесе бір-біріне шамалы бұ рышта жатқ ан біліктер.Карданды біліктерге келесі талаптар қ ойылады: айналу мементін артық майысу, айналу, дірілдік жә не ө стік жү ктемелерсіз беру; жалғ анушы біліктер арасындағ ы бұ рышқ а тә уелсіз теле-тең бұ рыштық жылдамдық тар беру, жоғ ары п.ә.к. жә не шуылсыз жұ мыс. Карданды берілістің негізгі элементтері (4.1 сур): шарнирлер 1, біліктер 2, 4, 6 жә не аралық тіреніштер 3. Аралық тіреніштердің кө п болғ ан кезінде карданды беріліс 2 біліктен тұ рады: аралық 2 жә не басты 4.Карданды берілістер жазық болуы мү мкін: жазық, егер жетекші жә не жетеленуші білік бір жазық тық та жатса; кең істіктік, егер осы шарттар орындалмаса; бір жә не кө п шарнирлі.

Сур.4.1. Карданды берілістер;

а- бір жетекші белдігі бар автомобилде; б- екі жетекші белдігі бар автомобилде; в- қ атты карданды шарнирдің элементтері: 1- карданды шарнир; 2- аралық карданды шарнир; 3- аралық тіреніш; 4- басты карданды білік; 5- жетекші белдік; 6- ортаң ғ ы белдіктің карданды білігі; 7- ортаң ғ ы жетекші белдік; 8- артқ ы белдіктің карданды білігі; 9- артқ ы жетекші белдік; 10- мойынтірек; 11- масленка; 12- сақ тандырушы клапан; 13, 15- вилка; 14- крестовина; 16- балансирлі пластина.

Карданды берілістің жұ мыс жағ дайы біліктердің орнату бұ рыштармен анық талады: бұ рыштары кө п болғ ан сайын пайдалану жағ дайы қ иынырақ.. Егер карданды берілістер автомобиль рамасына немесе шанағ ына бекітілген агрегаттарды жалғ ағ ан жағ дайда білік арасындағ ы бұ рыш 3о-тан аспайды. Егер автомобиль қ озғ алысы кезінде жалғ анғ ан агрегаттардың біреуісі немесе екеуісі доң ғ алақ пен бірге айналса, онда біліктер арасындағ ы бұ рыш 20о дейін ұ лғ аяды, ал ө ткіштігі жоғ ары автомобилдерде –45о дейін. Карданды шарнирлерді (ары қ арай кардандар) кинематика бойынша кардандарды тең сіз жә не тең бұ рыштық жылдамдық тарғ а бө леді. Тең сіз бұ рыштық жылдамдық кардандары (асинхронды) жетекші жә не жетеленуші біліктердің бұ рыштық жылдамдық тарының тең сіздігімен сипатталады.Қ арапайым асинхронды кардандар (4.2, а сур) тек қ ана бұ рыштық қ озғ алысты қ амтамассыз етеді, ә мбебам (12.2, б сур)- бұ рыштық, ө стік. Асинхронды кардандар

Сур.4.2. Карданды шарнирлер: а- қ арапайым; б- ә мбебап; 1-жетекші вилка; 2-жетеленуші вилка; 3-крестовина; 4-ине тә різді мойын тірек; 5-қ озғ алмалы шлицалы беріліс; 6-карданды біліктіқ

Асинхронды кардандар қ ұ быры шарнирлердің ү здікті беріліс қ атынасы трансмиссияда айналу тербелісін болдырады, ә сіресе карданды беріліс білігінің жоғ арғ ы бұ рыштық жылдамдығ ында. Айналу тербелісінің амплитудасын тү сіру мақ сатында орнату бұ рышын жә не шарнир біліктерінің қ аттылығ ын жаң дайды.

Сур.4.3. Синхронды шарнирлер: а- алты шарнирлі; б- алты жә не тө рт шарикті; в- трехшиповые роликпен; г- дискілі; 1-корпус; 2-сеператор; 3-обойма; 4-шарик; 5-трехшиповая кресовина; 6-ролик; 7-ине; 8-чашка; 9-шип; 10- орталық талық тандырушы қ ұ рылғ ы; 11-вилка; 12-диск

Тең бұ рыштық жылдамдық тағ ы (синхронды) кардандар жалғ астырушы біліктердің кез-келген бұ рыштық қ озғ алысында бірдей бұ рыштық жылдамдық пен қ амтамассыз етеді.Синхронды шарнирлер (қ арапайым, ә мбебабы) жұ мыстық элементіне қ арай кардан крестовинасымен еселенген жә не ине тә різді мойынтіректі, алты шарик (4.3, а сур), бес жә не тө рт шарикті (4.3, б сур), трехшиповые роликпен (4.3, в сур) жә не дискілі (12.3, г сур).

Жетекші жә не басқ арушы доң ғ алақ тарғ а айналу моментін беру кезінде тең бұ рыштық жылдамдық тағ ы карданды шарнирлерді кө бірек қ олданады. Бұ л жағ дайда біліктер арасындағ ы ү лкен ө згеруші бұ рыш кезінде доң ғ алақ тардың бірдей қ озғ алуын қ амтамассыз етеді. Ө ткізгіштігі жоғ ары автомобилдерде кө бінесе бө лгіш канавкасы жә не бө лгіне иінтірегі бар тең бұ рыштық жылдамдық тағ ы шарикті карданды шарнирлерді орнтады. 4.4-суретте “Вейс” типіндегі бө лгіш канавкасы бар шарикті кардан кө рсетілген. Бір вилканы келесісіне кү штерді беретіншариктер ә рқ ашанда биссекторлы жазық тық та жатады. Кү ш вилкадан вилкіге шарик арқ ылы беріледі, ал қ исық сызық ты канавкаларымен 2 жә не 4 қ озғ алады. Ө зара перпендикуляр жазық тық та жатқ ан вилкаларғ а 1 жә не 5 канавкалар симетриялы орналасқ ан.О1 жә не О2 центрлерінен жү ргізілген канавкалардың орта сызығ ы бірдей радиустағ ы шең бер бө лігін кө рсетеді. Осы центрлердің араса кардан центріне дейігі аралық а бірдей. Канавкалардың ө сі айналу кезінде пп шең берінде ө зара қ иылысатын екі сфералық бетті қ ұ райды, бұ л шариктердің қ озғ алыс траекториясы болып табылады 3. Біліктердің µ бұ рышына орын ауыстыруы кезінде, жалпы вилкадағ ы канавкалардың симметриялы орналасуының салдарынан шариктердің центрі, ә р қ ашанда биссекторлы жазық тық тан табылады.Сағ ат тілінің жү рісімен айналғ ан кезде кү ш шариктердің бір жұ бы арқ ылы беріледі, ал кері бағ ытта, келесі жұ п арқ ылы беріледі.

Сур.4.4. Бө лгіш канавкасы бар «Вейс» тү ріндегі тең бұ рыштық жылдамдық тағ ы кардан: а- сұ лба; б- бө лшектер; в- алдың ғ ы доң ғ алақ жетегіне карданды орнату; 1, 5- вилкалар; 2, 4- қ исық сызық ты канавкалар; 3, 6- шариктер; 8, 7-шпилькалар; 9- орнатылатын сақ иналар; 10- шариктегі лыска.

Осы кардандағ ы бір вилканың келесі вилкағ а қ атысты ө стік орын ауыстыруы пп шең берінің ө стік ауытқ уына ә келеді. Сондық та вилкалар бір- біріне қ атысты дә л реттелуі керек. Ол ү шін вилкалар арасындағ ы қ апталғ а тұ рақ тағ ыш шариктер қ ояды 6. Шпилька 1 шарик ішіне кіреді 6 жә не оны реттелді, ал шпилька 8 шпильканы 7 вилкағ а бекітеді. Шариктегі лыска А карданды жинау жә не бұ зу кезінде шариктердің ө туі ү шін қ ажет. Орнату сақ иналары 9 карданды ө стік реттеу ү шін жә не ө стік жү ктемелерді қ абылдауғ а қ ызмет етеді.

Карданды берілістің қ ұ рылымдық элементтері. Тең сіз бұ рыштық жылдамдық тағ ы кардан вилкаларын қ ұ рауғ а жә не бұ зуғ а ың ғ айлы болу ү шін фланецпен бірге жасайды.2 (4.5. Сур), оғ ан кардан фланеці бекиді. Ине тә різді мойынтіректің стаканы проушинасына қ ояды. Ине тә різді мойынтіректің стаканын вилкағ а стопорлы сақ иналармен 4 немесе арнайы қ ақ пақ пен 5 бекітеді. Қ алындығ ы бойынша ажыратылатын бірнеше сақ иналардың реттеу, қ ақ пақ реттегенге қ арағ анда карданды шарнир бө лшектерінің ө здігінен орын ауыстыруын қ атта шектеуге мү мкіндік береді. Майдың аң уын ескерту ү шін серіппесі бар ө здігінен жү ретін резиналы сальниктер салады, ал мойынтірек жазық тығ ын шаң нан қ орғ ау ү шін екі ұ нтақ ты резің келі қ апталдық сальниктер орнатады.

Сур.4.5. Тең сіз бұ рыштық жылдамдық тағ ы ине тә різді кардандардың вилкалары: а- ине тә різді кардан; б- стаканды бекіту жә не ине тә різді мойынтіректің уплотнения варианттары; 1- вилка прушинасы; 2, 3- фланцы; 4- стопорное сақ ина; 5- қ ақ пақ; 6- ө здігінен қ озалатын сальник; 7-резиналы қ апталдық сальник..

12.3. Жетекші белдіктер. Жетекші белдік айналу моментін карданды біліктен автомобильдің жетекші доң ғ алақ тарына беруге жә не тіреніш бетімен рама немесе автомобиль шанағ ының арасындағ ы вертикаль, бойлық жә не кө лденең кү штері қ абылдауғ а арналғ ан. Вертикаль кү штер аспаның қ атты элементтерімен, бойлық кү штер (итеруші немесе тежеуіш) жә не кө лденең кү штер, мысалы: бойлық рессормен беріледі.Аспаның қ атты элементтері бойлық жә не кө лденең кү штерді береді, сондық тан соң ғ ылары аспаның бағ ыттаушы қ ұ рылғ ыларымен немесе арнайы штангалар қ абылдайды.

Сур. 4.6. Автомобильдің басқ арылатын алдынғ ы жетегі: 1- басты беріліс; 2- дифференциал; 3-синхронды шарнир; 4- ступица; 5- белдік балкасы.

Жетекші белдік қ уыс балка 5 сияқ ты (4.6. Сур), оның ішіне басты берілісті 1, дифференциял 2 жә не доң ғ алақ жетегін орнатады. Балканың шеттеріне доң ғ алақ ступицаларының мойынтіректерін орнатады. Балканы тежеуіш механизмдерінің суппортов жалғ ау ү шін фланецпен бірге жә не рессорды немесе кронштейндарды (басқ а типтегі аспа орнатқ ан жағ дайда) орнату ү шін жазық тығ ымен бірге дайындайды. Жетекші белдікке қ ойылаиын негізгі талаптар: басиы берілісті қ ажетті беріліс санымен қ амтамассыз ету; шуылсыз жұ мыс; айналу моментін жетекші доң ғ алақ тарғ а кульсациясыз беру; аспасыз бө ліктердің кіші массасы. Жетекші белдіктер басқ арылатын жә не басқ арылмайтын болуы мү мкін. Егер жетекші белдік басқ арылатын болса, онда оның қ ұ рамына беріліс біліктерінің ар арасындағ ы ө згеруші бұ рышта доң ғ алақ жетегінің мү мкіндігін қ амтамассы ететін карданды шарнирлер кіреді.

Басты берілістер. Басты берілістер айналу моментін ұ лғ айтуғ а жә не оны жетекші доң ғ алақ тарғ а беругі арналғ ан. Басты берілістің негізгі классификациялық белгілері беріліс, тісті берілістердің ө зара орналасуы жә не типі болып табылады. Жалаң қ абат, қ ос қ абат, қ ос қ абат таратылғ ан жә не шапшаң басты берілістер деп ажыратады.

Сур. 4.7. ГАЗ-53-12 автомобилінің одинарлы басты берілісі: 1- тіреу; 2- май қ абылдағ ыш қ ұ быр; 3- реттегіш тө семдер; 4- мойынтірек муфталары; 5- фланец; 6- жетекші тегеріш; 7, 15- қ ақ пақ тар; 8- реттегіш сақ иналар; 9- қ ұ ршы тесіктердің тығ ыны 10-сателит; 11- картер; 12- бұ рандама; 13- жарты ө с; 14- дифференциял қ орабының оң жақ чашкасы; 16- жартылай ө стік тегеріш; 17- крестовина; 18- жетеленуші; 19- дифференциял қ орабының сол жақ чашкасы; 20- май ұ стағ ыш.

Конусты немесе гипойдты тісті доң ғ алағ ы бар одинарлы басты берілістер (4.7. Сур) кең інен таралғ ан. Одинарлы басты берілістің беріліс саны 5....3....6 аралығ ында жатады. Ары қ арай беріліс санының ұ лғ ары жетеленуші тісті доң ғ алақ тың диаметрінің ұ лғ арына ә келеді, бұ л ө з кезегінде термо-ө ң деуді қ иындатады жә не дорожный просвет тө мендетеді. Шең бер доғ асы бойынша жасалатын конусты берілістердің тісті доң ғ алақ тары қ исық тісті (глисон, элоид, эрликон немесе эвольвента, клингельнберг типінде). Мұ ндай берілістерлің артық шылығ ы: тістер доң ғ алағ ының ө зара орналасуының дә лсіздігіне сезімталдығ ы аз жә не тістерді жоғ ары ө німділіктегі жабдық та ө ң деу мү мкіншілігі бар. Гипойдты берілістер қ исық сызық ты конусты беріліспен червякті тістердің арасында орналасады. Олар конусты берілістен жетеленуші тісті доң ғ алақ ө сіне қ атысты жетекші тісті доң ғ алақ тардың ө сінің орын ауыстыруымен ерекшеленеді: жең іл автомобильдерде тө мен (бұ л шанақ еденін тө мен тү сіруге мү мкіндік береді), ал жү ктік автомобильдерде жоғ ары (дорожный просвет ү лкейту ү шін). Бұ л орын ауыстыру ә депте жү ктік автомобильдер ү шін жетеленуші доң ғ алақ тың бө лгіш диаметрінің 0, 12 қ ұ райды, жең іл автомобильдер ү шін 0, 2.

Сур.4.8. Зил-431410 автомобилінің қ ос басты берілісі: 1- конусты тегеріш: 2- білігінің алдың ғ ы конусты тегеріштің мойынтірегі; 3- реттеуші шайбалар; 4- артқ ы конусты, роликті мойынтірек; 5- конусты тісті доң ғ алақ тардың ілінісуін реттеуге арналғ ан тө сем; 6- конусты тегеріш; 7- конусты тісті доң ғ алақ; 8- реттеуші тө семдер; 9- цилиндрлі тегеріштердің конустық роликті мойынтіректері; 10, 19- оң жә не сол жақ мойынтіректерге сә йкес қ ақ пақ тар; 11- цилиндрлі тегеріш; 12- басты берілістің картері; 13- цилиндрлі тісті доң ғ алақ; 14- жарты ө сті тегеріш; 15- дифференциялдың роликті мойынтірегі; 16- дифференциял мойынтірегін реттейтін бұ рандама; 17- жартылай ө сі; 18- белдік картері; 20-таянышты тө лке.

Гипойдты тегеріштің тістерін, конустікі сияқ ты элоидты немесе эльвовента шең берінің доғ асы бойынша жасайды. Гипойдты берілісті конусты беріліспен салыстырғ анда бірдей беріктікте габаритті ө лшемі жә не шу дең гейі аз болады.

Қ ос басты берілісті жү к кө тергіштігі орташа жә не ү лкен жү ктік автомобильдерде жә не автобустарда қ олданады; мұ ндай беріліс тісті доң ғ алақ тың екі жұ бынан тұ рады: конусты жә не цилиндрлі, сонда ү лкен беріліс саны цилиндрлі жұ пта болады (4.8. Сур).

 

4.8 суретінде Зил-431410 автомобилінің қ ос басты берілісі кө рсетілген. Кіші конусты тегеріш білікпен бірге, екі конустық роликті мойынтіректің 1 жә не 4 стаканында 2 орнатылғ ан. Мойынтіректің ішкі сақ иналарының арасында распорная тө лке 20 жә не екі реттегіш шайба болады. Шайба қ алың дығ ын талап етілген бастапқ ы бекітуді қ амтамассыз ететіндей етіп таң дайды. Конусты доң ғ алақ 7 білікке баспақ талғ ан, оның фланецтеріне заклепкамен бекітеді жә не екі роликті мойынтіректерде 9 орнатылғ ан. Қ ақ пақ 10 жә не 19 болат реттегіш астарлары орналасқ ан.Картер қ апталының 12 жә не тегеріш білігіндегі мойынтірек стаканының қ апталында орналасқ ан.Болат тө семдер ілінсуді ретеу ү шін жұ мыс істейды. Жетеленуші тісті доң ғ алақ 13 дифференциял қ орабымен қ атты бекіген жә не екі конустық роликті мойынтіректерде 15 сонымен бірге айналады. Ө стік орын ауыстырудан мойынтіректер бұ рандамамен 16 бекітеледі.

Дифференциалдар. Дифференциял- оғ ан келетін шығ ушы біліктер арасындағ ы айналдыру моментін ү лестіретін жә не олардың ә р тү рлі бұ оыштық жылдамдық та айналуын қ амтамассыз ететін автомобиль механизімінің трансмиссиясы. Дифференциял қ ұ рылысына келесі талаптар қ онылады: доң ғ алақ тардың немесе ө стердің арасындағ ы айналдырушы моменттерді пропорционалды ү лестіру; жетекші доң ғ алақ тарды ә р тү рлі айналдыру жиілігімен қ амтамассы ету; габаритті ө лшемдері мен массасы аз болуы керек. Тү зу жү рген кезде автомобильдің барлық доң ғ алақ тары бір уақ ытта бірдей жол жү реді. Жолдың қ исық сызық ты аудандарында сыртқ ы доң ғ алақ тар, ішкі доң ғ алақ тарғ а қ арағ анда жолдың ү лкен қ имасынан ө теді. Ішкі доң ғ алақ тың ө те жай айналуыоның айналып кетуіне ә келеді, бұ л шинаның интенсивті тозуына, қ уат шығ ынының ұ лғ арына, автомобиль бұ рылысының қ иындатуына ә келкді. Бұ дан қ ұ тылу ү шін басты беріліспен бірге дифференциялды орнатады, сонда бұ л сол жә не оң жетекші доң ғ алақ тардың ә р тү рлі айналу жиілігінде айналуды қ амтамассыз етеді. Автомобиль ө тімділігін жақ сарту ү шін жеке доң ғ алақ тарғ а жә не белдіктерге моменттердің ү лестірілуі олардың вертикальды харакеттерімен жү зеге асуы керек. Қ ұ рылымы бойынша дифференциялдарды доң ғ алақ аралық, ө с аралық жә не борт аралық болып бө лінеді. Доң ғ алақ аралық дифференциялды автомобильдің бір ө сінің оң жә не сол жақ жетекші доң ғ алақ тарының арасына орнатады, ө с аралық ты- авиомобильдің жетекші белдіктерінің аралығ ына, ал борт аралық ты- авиомобильдің оң жә не сол жақ жетекші доң ғ алақ тарының аралығ ына орнатады.

4.9 Суретте тегерішті доң ғ алақ аралық дифференциялдың сұ лбасы кө рсетілген. Дифференциял корпусында 6 басты берілістің жетеленуші тегеріші 5 қ озғ алмайтындай етіп орнатылғ ан, ал жетекші тегерішпен 1 ілініседі. Корпуста 6 конусты тегеріш – сателитті еркі орналасқ ан крестовина 7 орнық қ ан. Олар бірден тө ртке дейін болады. Сателиттер жетекші доң ғ алақ тардың жарты ө стеріне қ атты бекітілген жарты ө стердің конусты тегеріштерімен тұ рақ ты ілініседі.

Сур.4.9. Тегерішті дифференциялдың сұ лбасы: а- тұ йық талатын; б- ө здігінен тұ йық талатын; 1- басты берілістің жетекші тегеріші; 2- жарты ө сті тегеріш; 3- жарты ө с; 4- сателит: 5- басты берілістің жетекші тегеріші; 6- дифференциял корпусы; 7- крестовина; 8- корпус тістері; 9- тісті муфта; 10, 11- сә йкес жетекші жә не жетеленуші дискілер.

Қ арапайым автомобильдерде ә детте конустық дифференциял тегеріштері немесе жоғ арғ ы ү лкелістегі жұ дырық шалы дифференциялдар қ олданылады. Конустың тегерішті (4.7 сұ ретті қ ара) планетарлы механизм тә різді. Басты берілістің жетеленуші тегеріші екі чашкадан 14 жә не 19 тұ ратын дифференциял қ орабымен мық ты бекіген. Қ ораптағ ы крестовинада 17 оң жә не сол жақ доң ғ алақ тың тегеріштерімен ілінісетін сателит тегеріштері еркін айналады. Сателит ө здігінен орналасуы ү шін, оның қ апталы сфералық етіп жасайды.Дифференциялда сондай-ақ сә йкес сфералық тіреніш беті болады, оның центрі дифференциялдың конустық тісті доң ғ алақ тың ү стінгі бетімен сә йкеседі. Жарты 13 ө стер дифференциял қ орабындағ ы тесіктерден еркін ө теді. Дифференциялдық қ ызметтін мә рзімін жоғ арылату ү шін сателиттердің жә не жарты ө стің беттерінің арасына қ ола шайбалар орнатылғ ан. Жетеленуші тегеріштің айналуы кезінде, онымен бірге дифференциял қ орабы айналады, осығ ан байланысты крестовина сателитпен айналады. Автомобильдің тү зу жолда тура жү реуі кезінде, автомобиль доң ғ алақ тары бірдей кедергіге жолығ ады, нә тижесінде екі жарты ө стердің тістерінде бірдей кү ш болады. Мұ ндай жағ дайда сателиттер тепе- тең діқ жағ дайында болып, ө з ө сінен айналмайды. Соң дық тан дифференциялдың барлық бө лшектері бір дене болып айналады жә не жарты ө стің тегеріштерінің екеуінде де бірдей айналу жиілігі болады, бұ л ө з кезегінде жарты ө стердің доң ғ алақ тарында да бірдей деген сө з. Бұ рылыс кезінде автомобильдің ішкі доң ғ алақ тары сыртқ ысына қ арағ анда кө п кедергіге жолығ ады жә не ішкі доң ғ алақ тармен байланысқ ан жарты ө стердегі кү ш кө бейеді. Осының нә тижесінде сателиттердің тепе- тең дегі бұ зылады, осының салдарынан ө з ө сіне қ атысты айналады жә не екінші жарты ө стің тегерішін ұ лғ айтылғ ан жылдамдық пен айналып, ішкі доң ғ алақ пен байланысқ ан жарты ө спен домалайды. Нә тижесінде автомобильдің ішкі доң ғ алағ ының айналу жиілігі тө мендейді, ал сыртқ ысында жоғ арылайды жә не автомобиль бұ рылысы сырғ анаусыз жә не айналып кетусіз іске асады. Жұ дырық шалы дифференциял жоғ арылатылғ ан ү икелісте оң 1 жә не 5 сол жақ чашкалардан жә не сепаратордан 6 жұ рады, олар басты берілестің жетеленуші тегерішімен жалғ анғ ан. Сепаратор тесіктеріне сухари еркін орналасқ ан 2, олар сыртқ ы 4 жә не ішкі обоймалардың қ апталдарымен бекітіліп шахмат тә ртібінде екі қ атармен жатыр. Сухарлармен жанасқ ан беті жү дырық ша тә різді шығ ың қ ы болады.

Сур.4.10.Жоғ арылатылғ ан ү икелістегі жұ дырық шалы дифференциял: 1-дифференциял қ орабының сол жақ чашкасы; 2-сухарлар; 3-ішкі обойма; 4-сыртқ ы обойма; 5-дифференциял қ орабының оң чашкасы.

Чашканың орталық тесігіне жарты ө с кіреді, соның біреуісі шлицалардың кө мегімен ішкісімен, ал екіншісі- сыртқ ы обоймалар жалғ анғ ан. Басты берілістің жетіленуші тегеріші сепаратормен бірге айналғ ан жағ дайда, сухарлар қ ос обойманың жұ дырық шаларына бірдей қ ысым тү сіреді жә не оларды айналдырады. Егер автомобильдің бір доң ғ алағ ы ү лкен кедергі келтірсе, онда онымен байланысқ ан обойма, сепаратордан баяу айналады. Сухарлар келесі обоймағ а кө п қ ысым тү сіре отырып оны итереді жә не осы обойманың айналуын ү детеді. Бірақ та сухар жә не обоймалар арасындағ ы ү йкелістің жоғ арылауы бр обойманың екіншісіне қ атысты айтарлық тай кү шті қ ажет етеді, бұ л оң жә не сол жақ доң ғ алақ тардың қ абылдайтын кедергілерінің ү лкен айырмашылығ ынды ғ ана жү зеге асады. Еркін жү рестің роликті дифференциялы (4.11 сур) дифференциял корпусын жарты ө спен косатын еркін журесті ек жрты муфтадан тұ рады.

Сур.4.11. Еркін жү рісті роликті дифференциял: 1-дифференциял корпусы; 2-роликтер; 3, 6-жұ дырық шалар, 4, 5-сепараторлар; 7-жетеленуші конусты тегеріш.

Дифференциялдың ішкі бетінде профилденген бойлық канавкалар жасалғ ан, онда роликтер қ атары 2 орналасқ ан. Роликтер сепараторда орналасқ ан 4 жә не 5. Цилиндрлі жұ дырық шалар 6 жарты ө стермен шлицалардың кө мегімен орналасқ ан.

Ө с аралық дифференциялды кө п ө сті автомобильдер орнатады, осығ ан байланысты жетекші белдіктердің доң ғ алақ тары ә р тү рлі жылдамдық та айналады. Бұ л автомобил ө тімділігі жоғ арылатады. Ө с аралық дифференциялдың сұ лбасы 4.12. суретте келтірілген. Тасушы сателит – тегеріштің крестовинасы ү лестіруші қ ораб білігінің жалғ асы болатын білікте орнатылғ ан. Сателит- тегеріштер бү иірлік конусты тегерішпен ілініседі. Оң жақ конусты тегеріш цилиндрлі тегерішпен 2, ал сол жағ ы тегерішпен 7 бір дене болып жасалғ ан. Тегеріш 7 ортаң ғ ы белдіктің білігінде 5 орналасқ ан тегерішпен 4 ілініседі. Тегеріш 7 тегеріш 8 арқ ылы артқ ы белдіктің жетегінің білігін 9 айналдырады.

 

Егер қ озғ алыс кезінде автомобильддің ортаң ғ ы жә не артқ ы белдіктерінің доң ғ алақ тар бірдей жылдамдық пен айналса, онда аралық дифференциялдың конустық тегерішімен сателит крестовинасы бірге айналады. Айналу моменті екі жетекші белдікке тең таралады.

Сур.4.12.Ө с аралық дифференциял: 1-крестовина; 2, 4, 7, тегеріш; 3-муфта; 5-ортаң ғ ы жетек белдігінің білігі; 6-ө с аралық дифференциялдың жетекші білігі; 9-артқ ы белдіктің жетегінің білігі; 10-корпус.

 

Дифференциялды тұ йық тау механизмін екі жетекші доң ғ алақ сырғ анаң топырақ қ а тү скенде жә не айналып кету болғ анда автомобиль ө тімділігін жақ сыртуғ а пайдаланады. Бұ л жағ дайда дифференциял екі доң ғ алақ ты бірдей бұ рыштық жылдамдық та айналдыруғ а мү мкіндік береді жә не жетекші белдікке келетін салмақ ты толық пайдалануғ а мү мкіндік береді.

Жетеленуші звенолардың қ атыста айналуын болдырмау ү шін, тұ йық талатын дифференциялда шығ ушы звеномен қ атты байланы орнатады, мысалы тісті муфтаның 9 кө мегімен (4.9, а-суретті қ ара).

ө здігінен тұ нық талатын дифференциялды жетеленуші звенолардың айналуына қ арсы қ ұ рылғ ы автоматты тү рде ә сер етеді. Мұ ндай дифференциялдарғ а фрикционды дискілі немесе тұ тқ ыр ү йкеліс муфтасымени жасалғ ан червякты жә не дискілі муфталр жатады, оларда силиконды сұ иық пайдаланады. Фрикционды муфтасы бар ү йкелісі жоғ арылатылғ ан тұ йық талғ ыш дифференциялдың сұ лбасы 4.9, б суретте кө рсетілген. Фрикционды муфталардың жетекші дискілері 10 дифференциял корпусымен, ал жетеленуші дискілер 11 жарты ө стермен 3 байланысқ ан.

Сур.4.13. а- жартылай жү ктелген жә не б- толық жү ктелген жартылай ө стер; 1-доң ғ алақ ступицасы; 2, 3- мойынтіректер; 4- жарты ө с; 5- жарты ө стік тегеріш; 6- жарты ө стік жең.

Тегерішінің жұ мысына пайда болатын ө стік кү штердің ә серінен дискілер қ ысылады. Қ ысылғ ан дискі кезінде момент муфталармен сателиттермен беріледі жә не дифференциялдың шамалы тұ нық талуы болады. Жетекші доң ғ алақ тарда кедергі моменті кө п болғ ан сайын муфта дискілерін қ ысу моменті кө бейеді жә не тұ йық талу сатысы да кө бейеді.


Поделиться с друзьями:

mylektsii.su - Мои Лекции - 2015-2026 год. (1.929 сек.)Все материалы представленные на сайте исключительно с целью ознакомления читателями и не преследуют коммерческих целей или нарушение авторских прав Пожаловаться на материал