Студопедия

Главная страница Случайная страница

КАТЕГОРИИ:

АвтомобилиАстрономияБиологияГеографияДом и садДругие языкиДругоеИнформатикаИсторияКультураЛитератураЛогикаМатематикаМедицинаМеталлургияМеханикаОбразованиеОхрана трудаПедагогикаПолитикаПравоПсихологияРелигияРиторикаСоциологияСпортСтроительствоТехнологияТуризмФизикаФилософияФинансыХимияЧерчениеЭкологияЭкономикаЭлектроника






Мета роботи. Вивчити процес передачі теплоти теплопровідністю; визначити експе-риментально теплопровідність матеріалу експрес-методом за допомогою ви-мірювача






Вивчити процес передачі теплоти теплопровідністю; визначити експе-риментально теплопровідність матеріалу експрес-методом за допомогою ви-мірювача теплопровідності ИТЭМ-1.

 

5.3. Теплова схема і принцип роботи приладу ИТЭМ-1

 

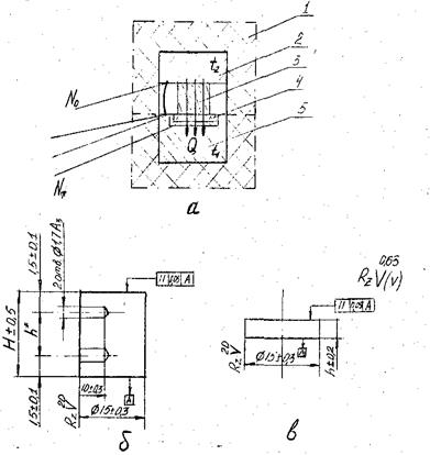
Вимірювач (рис. 5.1) складається з двох основних вузлів: верхнього блока 2 з нагрівачем і термопарою та нижнього блока 5 з термопарами і тепломіром 4. Блок 2 вставлено у захисний кожух 1, який має механізм підйому і повороту в сторону на 180º.

В основу роботи вимірювача закладено квазістаціонарний порів-няльний метод. Зразок 3 у вигляді диска або стрижня поміщається між двома масивними алюмінієвими блоками 2 та 5 з однаковою теплопровідністю. В блоці 5 розміщено тепломір 4, який працює за методом додаткової стінки. Верхній блок 2 завчасно підігрівається відносно нижнього.

Рис. 5.1 – Теплова схема вимірювача (а),

креслення металевого (б) і неметалевого (в) зразків

Через деякий час після закінчення підігріву між блоками встанов-люється практично стаціонарний тепловий потік, що відповідає заданому по-чатковому перегріву верхнього блока і тепловим опорам зразка і тепломіра. При ідеальній тепловій ізоляції блоків 2 та 5 і бокової поверхні зразка і тепломіра через зразок і тепломір проходить однаковий тепловий потік:

(5.1)

 

Безпосередньо із (5.1) одержується розрахункова формула для ви-значення теплопровідності, Вт/ :

 

, (5.2)

де – коефіцієнт теплопередачі тепломіра (значення є постійною приладу і визначається при його градуюванні; = 0, 052 Вт/ ; – висота зразка, м; – перепад температури на робочому прошарку тепломіра, мВ; – площа поперечного перерізу зразка, м2; – перепад температури на зразку, мВ.

 


Поделиться с друзьями:

mylektsii.su - Мои Лекции - 2015-2026 год. (1.916 сек.)Все материалы представленные на сайте исключительно с целью ознакомления читателями и не преследуют коммерческих целей или нарушение авторских прав Пожаловаться на материал