Студопедия

Главная страница Случайная страница

КАТЕГОРИИ:

АвтомобилиАстрономияБиологияГеографияДом и садДругие языкиДругоеИнформатикаИсторияКультураЛитератураЛогикаМатематикаМедицинаМеталлургияМеханикаОбразованиеОхрана трудаПедагогикаПолитикаПравоПсихологияРелигияРиторикаСоциологияСпортСтроительствоТехнологияТуризмФизикаФилософияФинансыХимияЧерчениеЭкологияЭкономикаЭлектроника






Нефтегазопромысловом оборудовании






Наряду с электро- и пневмоприводом объемный гидропривод позволяет механизировать и автоматизировать трудоемкие тех­нологические процессы в бурении и нефтегазодобыче. Он обладает следующими достоинствами.

1. Малая масса и компактность: масса и габариты у гидромоторов и роторных насосов во много раз меньше, чем у электрических машин той же мощности.

2. Хорошие кинематические и динами­ческие свойства: простота бесступенчатого регули­рования скоростей в широком диапазоне скорости выходного звена (во многих случаях с отношением скоростей 1: 1000); высокая степень редукции (частота вращения у высокомоментных гидромоторов может снижаться до 2 - 3 об/мин); плавность раз­гона и торможения; высокая позиционная точность реверсирова­ния; устойчивость заданных режимов работы (зависимости ско­рости от нагрузки); простота ограничения действующих усилий и крутящих моментов (предохранения от перегрузок); хорошие динамические качества. Благодаря большому отношению момента, развиваемого гидромотором, к моменту инерции вращающихся его частей (на порядок выше, чем у электродвигателя), объемный гидропривод обладает очень высоким быстродействием, высокой приемистостью (способностью развивать скорость в течение малого времени), способностью к мгновенному реверсу. Частота реверсирования может быть доведена до 500 -1000 в минуту (пневмопривода - 1500 - 1700).

3. Высокие эксплуатационные каче­ства: простота управления и обслуживания; надежность при работе практически в любых климатических условиях; безопас­ность благодаря тому, что представляется возможным разместить насосную установку с двигателем вне опасной зоны, оставив в ней взрывобезопасный гидродвигатель.

4. Экономичность: высокий КПД, длительный срок службы (до 20 тыс. ч под нагрузкой).

Объемный гидропривод обеспечивает свободную компоновку оборудования и дистанционность управления операциями, позво­ляет существенно снизить массу и габариты машин, что имеет особенно важное значение для самоходных агрегатов и транспорта­бельного оборудования, предназначенного для эксплуатации в труднодоступных районах страны и на акваториях, а также поз­воляет повысить технический уровень машин по другим показателям (надежность, долговечность, КПД привода, удобство обслуживания и ремонта и др.).

Объемный гидропривод применяется:

для подъема и спуска вышек с помощью гидродомкратов;

в подъемном оборудовании для бурения, ремонтов и освоения скважин (привод лебедок, управление фрикционными муфтами, гидроусилители тормозов);

в механизмах свинчивания и развинчивания труб и штанг;

для привода роторов, спайдеров, силовых вертлюгов;

в оборудовании герметизации устья скважин;

для привода глубиннонасосных установок;

для обслуживания морских скважин с подводным устьем с надводных плавучих средств;

для установки и съема клапанов-отсекателей в фонтаниру­ющих скважинах, а также газлифтных клапанов;

в групповых замерных установках для управления гидроотсекателями коллекторов.

Представление о возможностях объемного гидропривода дает пример его использования в подъемной установке, предназначенной для работ со скважинными клапанами, применяемыми при фонтанной и компрессорной эксплуатации нефтяных скважин.

В этих работах требуется высокая чувствительность управления лебедкой, чтобы спустить на проволоке узел клапана, зафиксировать его в трубах посред­ством удара или же, наоборот, сорвать клапан с крепления и поднять на поверх­ность. Необходимо поддерживать постоянное натяжение проволоки во избежа­ние ее разматывания с барабана лебедки при застревании спускаемого снаряда или при выбросе его струей жидкости.

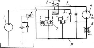
Все операции выполняются с помощью сравнительно простой системы дрос­сельного регулирования (рис. 13.7). Рассмотрим некоторые из этих операций.

Подъем. Распределитель 2 в верхнем (по рисунку) положении. Дрос­сель 5 закрыт. Насос 1 нагнетает жидкость через клапан 3 в гидромотор 4, вра­щающий барабан лебедки. Скорость подъема можно регулировать дросселем 5.

Спуск с гарантированным натяжением провол о к и. Распределитель 2 в том же положении, но дроссель 5 открыт, и жидкость сливается в линию II. Гидромотор 4 работает как насос под действием спускае­мого груза, подавая жидкость также через дроссель 5. Если встречается препятствие спуску груза, то гидромотор 4 останавливается, а если снаряд начинает выталкиваться, то барабан вращается на подъем груза, так что проволока всегда остается натянутой.

Нормальный спуск с торможением. Насос 1 переходит на холостой режим работы, обеспечивая подпитку гидромотора через линию 1. Торможение осуществляется прикрытием дросселя 5; клапан 6 предохраняет систему от пиковых давлений при резком торможении. ……

 

 

Рис.Рис. 11.7. Схема гидросистемы дроссельного управления

лебёдкой [10]

Принудительный спуск (при незначительной массе снаряда в начале спуска). Распределитель 2 в нижнем положении, насос нагнетает жид­кость по линии 1 через гидромотор 4 и дроссель 5 на слив. Чтобы проволока не разматывалась при встрече с препятствием, предохранительный клапан 7 настроен на малое давление, необходимое лишь для преодоления трения в опорах бара­бана и трансмиссии лебедки. …… //////«Удар в в е р х». После принудительного спуска груза распределитель 2 переключается в положение подъема, а дроссель 5 резко закрывается. По инди­катору наблюдается увеличение натяжения проволоки, а затем резкое снижение, свидетельствующее о срыве снаряда. Клапан 7 ограничивает натяжение про­волоки.

 

ПРИЛОЖЕНИЕ. НЕКОТОРЫЕ ПРИМЕРЫ ОПТИМИЗАЦИОННЫХ.. ……… РАСЧЁТОВ СТРУЙНЫХ НАСОСОВ (По материалам …. учебного пособия «Расчёты струйных насосов» Авторы: ……….. Ю. А. Сазонов, Р. В. Сазонова. Изд. ГАНГ им. И. М. Губкина, ………….. Москва, 1997.)

МИНИСТЕРСТВО ОБЩЕГО И ПРОФЕССИОНАЛЬНОГО ………………ОБРАЗОВАНИЯ РОССИЙСКОЙ ФЕДЕРАЦИИ ………….ГОСУДАРСТВЕННАЯ АКАДЕМИЯ НЕФТИ И ГАЗА им. И. М. ГУБКИНА

…………Кафедра машин и оборудования нефтяной и газовой промышленности

Ю.А. САЗОНОВ, Р.В. САЗОНОВА РАСЧЕТЫ СТРУЙНЫХ НАСОСОВ

Учебное пособие по дисциплинам " Нефтегазопромысловое оборудование", " Машины и оборудование для добычи нефти и газа" для студентов специальностей: 0907 - разработка и эксплуатация нефтяных и газовых месторождений, 1702 - машины и оборудование нефтяных и газовых промыслов.

Москва, 1997

 

УДК 621.694.3

Сазонов Ю.А. канд. техн. наук, Сазонова Р.В. Расчеты струйных насосов. Учебное пособие. - М.: ГАНГ, 1997. - 52 с.

В пособии приводятся основы теории струйных насосов. Предложена методика расчета струйных насосов, дополненная системой определения переменных коэффициентов сопротивления. Прилагаются программы, позволяющие рассчитывать на ЭВМ рабочие характеристики струйных насосов и основные геометрические размеры. Струйный насос и приводящий его в действие силовой насос рассматриваются как единый комплекс. Расчеты ведутся с учетом типа силового насоса и его характеристики. Методика, изложенная на алгоритмическом языке ФОРТРАН, позволяет получить набор решений каждой рассматриваемой задачи, предоставляя студенту или инженеру возможность выбора с учетом дополнительных требований.

Учебное пособие предназначено для студентов всех форм обучения, а также для слушателей факультетов повышения квалификации, инженерно-технических специалистов нефтегазовой отрасли.

Разделы 1.2, 3 подготовлены Ю.А.Сазоновым,

разделы 4, 5 - Р.В.Сазоновой.

Рецензент - канд. техн. наук, доцент А.Г. Чернобыльский.

 

 

Содержание

стр.

Введение.....................................................................................................4

Основные условные обозначения............................................................6

1. Основы теории струйных насосов.......................................................8

2. Кавитация в струйных насосах............................................................18

3. Методика расчета характеристики струйного насоса...................... 20

4. Методика проектирования струйного насоса по заданному

режиму работы..........................................................................................24

5. Примеры расчета струйных насосов...................................................28

5.1 Пример расчета характеристики струйного насоса.......................29

5.2. Пример проектирования струйного насоса, работающего в комплексе с силовым поршневым насосом.........................................33

5.3. Пример проектирования струйного насоса при подаче рабочей жидкости из магистрального напорного трубопровода........................38

5.4. Пример проектирования струйного насоса, работающего в

комплексе с силовым центробежным насосом......................................42

5.5 Пример проектирования струйного насоса, оснащенного соплом

с коэффициентом сжатия струи меньше единицы.................................46

Заключение.................................................................................................49

Список литературы....................................................................................52

© Государственная академия нефти и газа им. И.М.Губкина, 1997.

 

 

Введение

Струйный насос, согласно действующим стандартам, относят к классу динамических насосов трения, в которых жидкая среда перемещается внешним потоком жидкой среды. В более широком смысле струйный насос можно рассматривать как один из элементов струйной техники, принцип действия которых основан на эффектах взаимодействия потоков жидкости или газа между собой или с твердыми стенками [4].

Отсутствие подвижных деталей, простота и компактность конструкции позволяют эффективно использовать струйную технику в самых разнообразных технологических процессах: добыча нефти, обработка призабойной зоны скважины, перекачка нефтегазовых смесей, предотвращение поглощений промывочной жидкости при бурении скважин и другие.

Как существенный недостаток струйной техники называют относительно низкий коэффициент полезного действия (КПД). Так КПД струйных насосов обычно находится на уровне ЗО...35 %. Однако, следует уточнить, что верхняя граница КПД струйных насосов пока не установлена. У наиболее совершенных насосов, используемых в атомной промышленности, этот показатель доведен до 43...45 % [6]. Несомненно, потенциальные возможности струйных насосов сейчас раскрыты далеко не в полной мере.

Следует ожидать, что с дальнейшим усовершенствованием конструкций струйных насосов и повышением их КПД область применения подобной техники будет расширяться.

Несмотря на внешнюю простоту элементов струйной техники их рабочий процесс характеризуется исключительной сложностью явлений, имеющих место в проточной части. Изучение струйной техники лучше начинать с более простого случая, когда струйный насос работает на однородных жидкостях. Рабочий процесс таких насосов изучен достаточно подробно, а выполненный на базе струйных насосов инструмент находит все более широкое применение. Вместе с тем, информация о струйных насосах, работающих на однородных жидкостях, послужит базой для изучения более сложных процессов, происходящих в двухфазных струйных аппаратах и других устройствах.

При подготовке представленной работы были использованы результаты исследований, проведенных в лаборатории кафедры " Машин и оборудования нефтяной к газовой промышленности". Разработанная методика расчета струйных насосов дополнена системой определения переменных коэффициентов сопротивления. Проектирование струйного насоса ведется в зависимости от типа силового насоса и его характеристики. Струйный насос и приводящий его в действие силовой насос рассматриваются в едином комплексе. Использование разработанной методики, изложенной на алгоритмическом языке Фортран, позволяет находить множество решений задачи. Таким образом, появляется возможность выбора решения с учетом условий эксплуатации оборудования. Особое внимание уделяется анализу результатов расчета на ЭВМ и вопросам выбора оптимальных решений.

 


Поделиться с друзьями:

mylektsii.su - Мои Лекции - 2015-2026 год. (2.177 сек.)Все материалы представленные на сайте исключительно с целью ознакомления читателями и не преследуют коммерческих целей или нарушение авторских прав Пожаловаться на материал