Студопедия

Главная страница Случайная страница

КАТЕГОРИИ:

АвтомобилиАстрономияБиологияГеографияДом и садДругие языкиДругоеИнформатикаИсторияКультураЛитератураЛогикаМатематикаМедицинаМеталлургияМеханикаОбразованиеОхрана трудаПедагогикаПолитикаПравоПсихологияРелигияРиторикаСоциологияСпортСтроительствоТехнологияТуризмФизикаФилософияФинансыХимияЧерчениеЭкологияЭкономикаЭлектроника






Вимоги безпеки перед початком заняття






 

2.1 Студенти повинні прибути на заняття згідно за розкладом. Спізнення на заняття без об'єктивних причин забороняється.

2.2 Оглянути і привести до ладу робоче місце, прибрати зі столу сторонні речі.

2.3 Студенти повинні знаходитися на закріплених за ними робочих місцях. Самовільне переміщення на інші робочі місця забороняється.

 

3 ВИМОГИ БЕЗПЕКИ ПІД ЧАС ПРОВЕДЕННЯ ЗАНЯТТЯ

 

3.1 Виконувати правила безпеки при використанні побутових та інших електроприладів.

3.2 Виконувати роботу, що відповідає даній темі заняття.

3.3 Забороняється пошкоджувати майно лабораторії.

3.4 Підтримувати робоче місце у чистоті.

 

4 ВИМОГИ БЕЗПЕКИ ПО ЗАКІНЧЕННЮ ЗАНЯТТЯ

 

4.1 Відключити електричне живлення обладнання лабораторії.

4.2 Привести до ладу робоче місце згідно вимогам чергового по лабораторії.

4.3 Студенти повинні при потребі довести до відома викладача про всі порушення та недоліки, які були виявлені під час роботи.

4.4 Під час перерви студенти повинні звільнити приміщення лабораторії для провітрювання. Проведення будь-яких робіт під час перерви забороняється.

 

 


Затверджую

Заступник директора з НР

Довгопола С.О.

ГРАФІК

виконання лабораторних робіт з дисципліни " Будівельні матеріали і роботи"

Номер роботи Назва роботи Кількість годин Термін виконан-ня
  Визначення фізичних властивостей будівельних матеріалів    
  Визначення властивостей гірських порід    
  Випробування будівельної сталі    
  Оцінка якості керамічних виробів    
  Визначення властивостей мінеральних в’яжучих речовин (цементного і гіпсового тіста)    
  Визначення марки портландцементу    
  Оцінка якості заповнювачів для бетону і розчину    
  Підбір складу гідротехнічного бетону і визначення властивостей бетонної суміші    
  Визначення марки бетону    
  Визначення властивостей будівельного розчину    
  Визначення марки бітумів    

 

Викладач ___________________


Лр.1 – Визначення фізичних властивостей будівельних матеріалів

Мета: Навчитися визначати властивості будівельних матеріалів.

Робоче місце: Лабораторія ТОВ " Запоріжбудіндустрія ЛТД", тривалість заняття - 2 години.

Матеріально-технічне оснащення робочого місця: об'ємомір, терези, стандартна воронка.

Правила охорони праці: Додержуватися загальних правил техніки безпеки при

роботі у лабораторії.

Література: [7, с.9…11]

Завдання:

1. Визначити середню густину зразку неправильної геометричної форми.

2. Визначити насипну густину матеріалу.

Зміст і послідовність виконання роботи

1. Визначити середню густину зразку неправильної геометричної форми.

 

Рисунок 1 – Об'ємомір

1 –

2 –

3 –

4 –

 

 

Об'єм парафіну: , м3

т = кг – маса сухого зразку

т = кг – маса зразку, що покритий парафіном

ρ n = 930 кг/м3 - середня густину парафіну

V n

Середня густина зразку

, кг/м3

т = кг – маса сухого зразку;

V 1 = м3 – об'єм зразку з парафіном чисельно рівний масі води, що витиснена зразком;

V n = м3 – об'єм парафіну.

 

2. Визначити насипну густину матеріалу.

Рисунок 2 – Стандартна воронка

1 –

2 –

3 –

4 –

 


Дані випробувань

Номер вимірювань Маса циліндра без матеріалу m2, кг Об'єм циліндра, V, м3 Маса циліндра з матеріалом m1, кг Насипна густина матеріалу Середня густина матеріалу ρ n, кг/м3
           
         
         
         
         

 

Контрольні питання

– Що відноситься до фізичних властивостей будівельних матеріалів?

– Що таке справжня густина матеріалу?

– Що таке середня густина матеріалу?

– Що таке пористість матеріалів?

– Що таке водопоглинання матеріалів?

– Що таке міцність матеріалів?


Лр.2 – Визначення властивостей деревини

Мета: Навчитися визначати вологість та границю міцності при стистку уздовж

волокон деревини.

Робоче місце: Лабораторія ТОВ " Запоріжбудіндустрія ЛТД", тривалість заняття - 2 години.

Матеріально-технічне оснащення робочого місця: Технічні терези, сушильна шафа, алюмінієві скляночки, ексикатор, переносний прилад для випробування на стиск, прес, штангенциркуль.

Правила охорони праці: Додержуватися загальних правил техніки безпеки при роботі у лабораторії.

Література: [7, с.19.55]

Завдання:

 

1. Визначити вологість деревини.

 

2. Визначити границю міцності деревини при стиску вздовж волокон.

Зміст і послідовність виконання роботи

1. Визначення вологості деревини

Дані випробувань

Номер зразка Маса, г Вологість W W=[(q1–q2)/(q2–q)]·100, %
Порожньої скляночки q Скляночки з пробою до висушування q1 Скляночки з пробою після висушування q2
         
         
         
         
         

 

Дані про ступень вологості деревини

Абсолютно суха……………….0%

Кімнатно суха…………………8... 13 %

Повітряно суха……………….15...20%

Свіжозрубана…………………35% і вище

Мокра………………………….більше, ніж в свіжозрубаній

Висновок про вологість деревини, що випробувалася

 

2. Визначення границі міцності деревини при стиску уздовж волокон

 

 

 

Рисунок 1 – Прилад для визначення міцності деревини

при стиску уздовж волокон

1–

2 –

3–

 

 

Дані випробувань

Номер зразка Розміри поперечного перерізу, см Площа поперечного перерізу S=ab, см2 Максимальне навантаження Рmax, кг Вологість W, % Границя міцності кг/см2
a b
               

 

W – вологість зразка в момент випробування, %;

α – поправочний коефіцієнт (0, 05 – сосна, кедр, модрина, бук, ясень, береза; 0, 04 – ялина, дуб, смерека, листяні породи)

 

Контрольні питання

 

– Характерні ознаки деревини

– Фізичні властивості деревини

– Механічні властивості деревини

– Вади деревини

– Які породи деревини і для чого використовуються у будівництві?


Лр.3 – Випробування будівельної сталі

Мета: Ознайомитися з визначенням границі текучості і міцності сталі при розтягу; вивчити структуру і властивості залізовуглецевих сплавів.

Робоче місце: Лабораторія ТОВ " Запоріжбудіндустрія ЛТД", тривалість заняття - 2 години.

Матеріально-технічне оснащення робочого місця: Зразки сталі для випробувань на розтяг, універсальна машина УММ-50.

Правила охорони праці: Додержуватися загальних правил техніки безпеки роботі у лабораторії.

Література: [4, С.72...82]

Завдання:

1. Підготовка зразків будівельної сталі до випробувань.

2. Випробування сталі на розтяг.

3. Вивчення структури і властивостей залізовуглецевих сплавів.

Зміст і послідовність виконання роботи

1. Підготовка зразків будівельної сталі до випробувань

 

Рисунок 1 – Зразки сталі до випробувань на розтяг

 

2. Випробування сталі на розтяг

 

 

 

Рисунок 2 – Діаграма деформації при розтягу зразка з маловуглеродистої сталі

 

 

Границя текучості (фізична) σ s, Н/м2 визначається за формулою [7]

σ s = рs/S0,

де рs – навантаження при границі текучості (показання на діаграмі
деформацій, Н);

S0 – первісна площа поперечного перерізу зразка, м2

σ s =

Границя міцності при розтягу σ в, МПа, визначається за формулою [7]

σ в = рв/S0,

де рв – найбільше навантаження, передуюче розриву зразка.


 

Таблиця 1 – Механічні властивості вуглецевих сталей звичайної якості

Марка сталі групи А Границя текучості, МПа, не менше Границя міцності при розтягу, МПа Відносне подовження, %
Ст0 Ст1 сп, пс Ст2 сп, пс Ст3 сп, пс Ст4 сп, пс Ст5Г сп Ст6 сп, пс – – 200-230 210-250 240-270 260-290 300-320 не менше 310 320-420 340-440 380-490 420-540 460-600 не менше 800 20-23 31-34 29-32 23-26 21-24 17-20 12-15

 

Висновок щодо марки сталі на стиск

 

Контрольні питання

– По яких механічних характеристиках визначають марку будівельної сталі?

– Що таке границя текучості, як вона визначається?

– Як визначається твердість?

– Що таке ударна в’язкість сталі і як вона визначається?


Лр.4 – Оцінка якості керамічних виробів

Мета: Ознайомитися з визначенням показників якості цегли, визначенням границі міцності (марки) цегли на стиск.

Робоче місце: Лабораторія ТОВ " Запоріжбудіндустрія ЛТД", тривалість заняття - 2 години.

Матеріально-технічне оснащення робочого місця: Металевий косинець і лінійка з поділками з точністю до 1 мм, ножовка, гідравлічний прес, пристрої для приготування розчину, цегла для випробувань, цемент.

Правила охорони праці: Додержуватися загальних правил техніки безпеки при роботі у лабораторії.

Література: [3, с.351...353], [7, с.62...72]

Завдання:

1. Визначити якість цегли за зовнішнім оглядом.

2. Визначення границі міцності при стиску (марки цегли).

Зміст і послідовність виконання роботи

1. Визначення якості цегли за зовнішнім оглядом

Показники Номери цегли, що їх оглядають
         
           
Допуски на лінійні розміри, мм – по довжині ± 6 – по ширині ± 4 – по товщині ± 3          
Викривлення поверхні і ребер, мм не більш – по постелі 4 – по ложку 5          
Тріщини наскрізні по боках (250х65мм) на всю товщину цегли, протяжністю по ширині цегли на 40 мм включно (не більше однієї на цілій цеглині)          

 

Висновок щодо якості цегли за зовнішнім оглядом

2. Визначення границі міцності цегли при стиску (марки цегли)

 

 

 

Рисунок 1 – схема випробування цегли на стиск

1– шар цементного розчину

 

 

Послідовність проведення випробувань

 

Результати випробувань цегли на стиск

Номер зразку Площа зразка S, см2 Руйнівне навантаження при стиску Рmax, кг/см2 Границя міцності при стиску Рmax/S Середнє з результатів випробувань
         
         
         
         
         

 

Висновок щодо випробувань цегли на стиск

Контрольні питання

– Допуски на лінійні розміри цегли

– Допуски на виправлення поверхні і ребер цегли

– Допустимі наскрізні тріщини у цеглі

– Склад глинястої цегли і методи її виготовлення

– Властивості цегли і показники визначення властивості


Лр.5 – Визначення властивостей мінеральних в'яжучих речовин(цементного і гіпсового тіста)

Мета: Ознайомитися з методикою визначення властивостей мінеральних

в'яжучих речовин.

Робоче місце: Лабораторія ТОВ " Запоріжбудіндустрія ЛТД", тривалість заняття – 2 години.

Матеріально-технічне оснащення робочого місця: Прилад Суттарда, прилад Віка, решета для визначення тонкості помелу гіпсу, чашка для затворення гіпсового, цементного тіста, ручна мішалка.

Правила охорони праці: Додержуватися загальних правил техніки безпеки при роботі у лабораторії.

Література: [7, с.88...97]

Завдання:

1. Ознайомитися з послідовністю відбору проб для випробувань;

2. Ознайомитися з визначенням тонкості помелу гіпсу;

3. Ознайомитися з улаштуванням віскозіметра Суттарда;

4. Визначити нормальну густоту гіпсового тіста;

5. Визначити строки тужавіння гіпсового тіста за допомогою приладу Віка;

6. Вивчити методику визначення міцності гіпсового каменю.

Зміст і послідовність виконання роботи

1. Послідовність відбору проб гіпсу для випробувань

 

2. Визначення тонкості помелу гіпсу

Рисунок 1 – Решето з кришкою і донцем

1 –

2 –

3 –

 

3. Улаштування віскозіметру Суттарда і принцип його роботи

 

Рисунок 2 – Віскозіметр Суттарда

а –

б –

1 –

2 –

3 –

 

Рисунок 3 – Чашка для затворення гіпсового і цементного тіста

 

 

Рисунок 4 – Ручка мішалка для перемішування гіпсового тіста

1 –

2 –

 

 

 

4. Визначення нормальної густоти гіпсового тіста

Перше значення діаметру розпливання……………….мм

Друге значення діаметру розпливання………………...мм

Середина значення діаметру розпливання…………….мм

Нормальна густота діаметру розпливання (180…205) мм

Висновок

 

5. Конструкція прилада Віка і принцип його дії

Рисунок 5 – Прилад Віка для визначення строків тужавіння

а – вид спереду і збоку; б – пестик; в – сталева голка

1 – 2 – 3 – 4 –

5 – 6 – 7 – 8 –

9 –

Таблиця 1 – Результати випробувань гіпсового тіста

Вимоги до будівельного гіпсу Група А- Швидкотверднувщий Група Б- Нормальнотверднувщий Група В- Повільнотверднувщий
Початок тужавіння Кінець тужавіння Початок тужавіння Кінець тужавіння Початок тужавіння Кінець тужавіння
не раніш 2х хвилин не пізніше 15тихвилин не раніш 6ти хвилин не пізніше 30тихвилин не раніш 20тихвилин не нормується
Результати випробувань по строкам тужавіння            
           
           

 

Висновок: Гіпс, що випробувався, відноситься до групи

 

Методика визначення міцності гіпсу

Методика визначення міцності цементу

Контрольні питання

– Поняття про в’яжучі, їх класифікація

– Що таке будівельний гіпс, його одержання?

– Види гіпсів, де вони використовуються?

– Що таке цемент, його одержання?

– Властивості мінеральний в’яжучих


Лр.6 – Визначення марки портландцементу

Мета: Навчитися встановлювати консистенцію цементного розчину, необхідну для виготовлення зразків-балочок; визначати границі міцності балочок при згині і стиску.

Робоче місце: Лабораторія ТОВ " Запоріжбудіндустрія ЛТД", тривалість заняття - 2 години.

Матеріально-технічне оснащення робочого місця: сферична чашка, металева форма-конус, столик для струшування, трьох гніздові металеві форми для формування зразків-балочок.

Правила охорони праці: Додержуватися загальних правил техніки безпеки при роботі у лабораторії.

Література: [7, с. 105... 114]

Завдання:

1. Визначення консистенції цементного розчину.

2. Методика виготовлення стандартних зразків-балочок.

3. Визначення границі міцності на згин та стиск і встановлення марки цементу.

Зміст і послідовність виконання роботи

1. Визначення консистенції цементного розчину

Рисунок 1 – Струшувальний столик і форма-конус

1 –

2 –

3 –

4 –

5 –

6 –

7 –

8 –

 

2. Методика виготовлення стандартних зразків-балочок

 

3. Визначення міцності на згин та стик і встановлення марки цементу

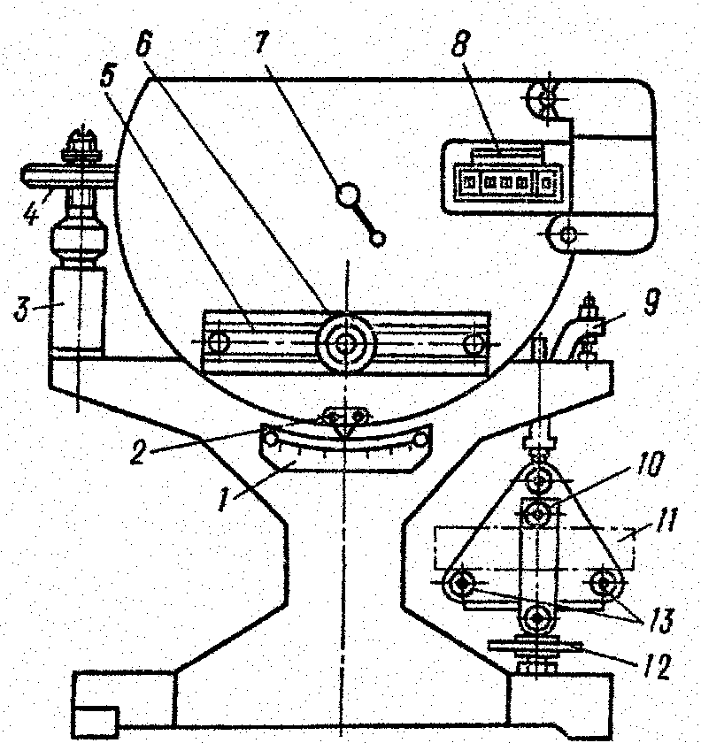
Рисунок 2 – Випробувальна машина МИИ-100

1 –

2 –

3 –

4 –

5 –

6 –

7 –

8 –

9 –

10 –

11 –

12 –

13 –

Таблиця 1 – Вимоги до марок портландцементу та його різновидів

Цемент Марка Межа міцності у віці 28 діб, МПа
при вигині при стиску
Портландцемент звичайний і з мінеральними добавками     Шлакопортландцемент   5, 5 6, 2 6, 5 4, 5 5, 5  

 

Контрольні питання

– Що уявляє собою портландцемент?

– Методика визначення насипної густини цементу

– Вимоги стандарту до тонкості помела портландцементу

– Методика визначення нормальної густини цементного тіста

– Яким чином визначаються строки тужавіння цементного тіста і які вимоги до цього діючого стандарту?

– Методика визначення марки портландцементу


Лр.7 – Оцінка якості заповнювачів для бетону і розчину

Мета: Навчитися визначати зерновий склад заповнювачів бетону, ознайомитися з

методикою визначення густини, вологості, змістом пилуватих часток,

органічних домішок, міцності щебеню.

Робоче місце: Лабораторія ТОВ " Запоріжбудіндустрія ЛТД", тривалість заняття - 2 години.

Матеріально-технічне оснащення робочого місця: Набір стандартних решет, терези, пісок.

Правила охорони праці: Додержуватися загальних правил техніки безпеки при

роботі у лабораторії.

Література: [7, с.114... 139]

Завдання:

Визначити зерновий склад піску і модуль його крупності.

Зміст і послідовність виконання роботи

1. З середньої проби піску, який пройшов крізь решето з отворами Д = 5 мм, відібрати наважку 1000 г і просіяти її через комплект решет, послідовно розташованих по мірі зміни розмірів отворів у решетах (просівання вважається закінченим, якщо крізь решето на чистий лист паперу на одну хвилину проходить більше 0, 1% зерен піску від загальної маси наважки, що просіюється).

2. Залишки піску на кожному решеті зважити і визначити часткові залишки на кожному решеті з точністю до 0, 1% по формулі [7]

α і = mi/m х100,

де mі – маса залишку на даному решеті, г;

m – маса наважки, що просіюється, г

α і =

3. З точністю до 0, 1% визначається повний залишок на кожному решеті за формулою

Аі = α 2, 5 +…+ α і

де α 2, 5+…+α і – часткові залишки на решетах з більшим розміром отворів, починаючи з решета з розмірів отворів 2, 5 мм, %;

α і – частковий залишок на даному решеті, %.

4. Для оцінювання зернового складу піску і його придатності для приготування бетону результати просіювання (по повним залишкам нанести на графік
(рисунок 1) і робиться висновок про придатність піску для приготування бетону (таблиця 2)

5. Визначається модуль крупності піску Мк, з точністю до 0, 1 по формулі

Мк = (А2, 5 + А1, 25 + А0, 63 + А0, 315 + А0, 14)/100


Поделиться с друзьями:

mylektsii.su - Мои Лекции - 2015-2026 год. (2.435 сек.)Все материалы представленные на сайте исключительно с целью ознакомления читателями и не преследуют коммерческих целей или нарушение авторских прав Пожаловаться на материал