Студопедия

Главная страница Случайная страница

КАТЕГОРИИ:

АвтомобилиАстрономияБиологияГеографияДом и садДругие языкиДругоеИнформатикаИсторияКультураЛитератураЛогикаМатематикаМедицинаМеталлургияМеханикаОбразованиеОхрана трудаПедагогикаПолитикаПравоПсихологияРелигияРиторикаСоциологияСпортСтроительствоТехнологияТуризмФизикаФилософияФинансыХимияЧерчениеЭкологияЭкономикаЭлектроника






Выбор рода тока и напряжения, схемы электроснабжения






Электрические сети служат для передачи и распределения электрической энергии к цеховым потребителям промышленных предприятий. Потребители энергии присоединяются через внутрицеховые подстанции и распределительные устройства при помощи защитных и пусковых аппаратов.

Электрические сети промышленных предприятий выполняются внутренними (цеховыми) и наружными. Наружные сети напряжения до 1 кВ имеют весьма ограниченное распространение, т. к. на современных промышленных предприятиях электропитание цеховых нагрузок производится от внутрицеховых или пристроенных трансформаторных подстанций [7].

Выбор электрических сетей радиальные схемы питания характеризуются тем, что от источника питания, например от трансформаторной подстанции, отходят линии, питающих непосредственно мощные электроприёмники или отдельные распределительные пункты, от которых самостоятельными линиями питаются более мелкие электроприёмники.

Радиальные схемы обеспечивают высокую надежность питания отдельных потребителей, т. к. аварии локализуются отключением автоматического выключателя поврежденной линии и не затрагивают другие линии.

Все потребители могут потерять питание только при повреждении на сборных шинах КТП, что мало вероятно. В следствии достаточно надёжной конструкции шкафов этих КТП.

Магистральные схемы питания находят широкое применение не только для питания многих электроприёмников одного технологического агрегата, но также большого числа сравнения мелких приёмников, не связанных единым технологическим процессом.

Магистральные схемы позволяют отказаться от применения громоздкого и дорогого распределительного устройства или щита. В этом случае возможно применение схемы блока трансформатор-магистраль, где в качестве питающей линии применяются токопроводы (шинопроводы), изготовляемые промышленностью. Магистральные схемы, выполненные шинопроводами, обеспечивают высокую надёжность, гибкость и универсальность цеховых сетей, что позволяет технологам перемещать оборудование внутри цеха без существенного монтажа электрических сетей.

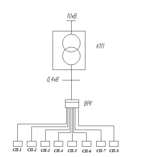
С учетом количества и мощностей станков и установок применяем для участка радиальную схему электроснабжения.

Трёхфазные сети выполняются трёхпроводными на напряжение свыше 1000 В и четырёхпроводными – до 1000 В. Нулевой провод в четырёхпроводной сети обеспечивает равенство фазных напряжений при неравномерной загрузке фаз от однофазных электроприёмников [7].

Трёхфазные сети на напряжение 380/220 В (в числители – линейное, в знаменатели – фазное) позволяют питать от одного трансформатора трёх – и однофазные установки.

Электрические сети выполняются в основном по системе трёхфазного переменного тока, что является наиболее целесообразным, поскольку при этом может производиться трансформация электроэнергии. При большом количестве однофазных электроприёмников от трёхфазных сетей осуществляются однофазные ответвления. [7, с.9]

Для инструментального цеха принимается радиальная схема электроснабжения. Данная схема обладает следующими преимуществами: высокая надёжность электроснабжения, удобство эксплуатации, возможность применения простых устройств автоматизации.

Рисунок 1 – Схема инструментального цеха

 


Поделиться с друзьями:

mylektsii.su - Мои Лекции - 2015-2026 год. (1.998 сек.)Все материалы представленные на сайте исключительно с целью ознакомления читателями и не преследуют коммерческих целей или нарушение авторских прав Пожаловаться на материал