Студопедия

Главная страница Случайная страница

КАТЕГОРИИ:

АвтомобилиАстрономияБиологияГеографияДом и садДругие языкиДругоеИнформатикаИсторияКультураЛитератураЛогикаМатематикаМедицинаМеталлургияМеханикаОбразованиеОхрана трудаПедагогикаПолитикаПравоПсихологияРелигияРиторикаСоциологияСпортСтроительствоТехнологияТуризмФизикаФилософияФинансыХимияЧерчениеЭкологияЭкономикаЭлектроника






Устройство и работа пожарных извещателей






Пожар – чрезвычайно серьезная опасность, поэтому на судах мощностью главного дизеля более 165кВт и на всех пассажирских судах независимо от мощности главного дизеля в соответствии с Правилами Речного Регистра РФ устанавливают автоматически действующую сигнализацию.

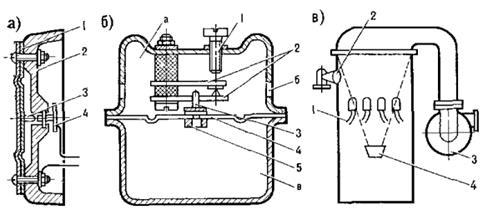
Рисунок 13 – Пожарные извещатели:
а – максимальный; б – дифференциальный; в – дымовой  

Измерительные преобразователи пожарной сигнализации монтируют внутри главных и аварийных электрораспределительных щитов, около топливных насосов, котлов, над главными дизелями, дизель-генераторами, в насосных отделениях и других пожароопасных местах. В качестве измерительных преобразователей системы противопожарной сигнализации на судах используют температурные и дымовые извещатели, срабатывающие при повышении температуры и наличии дыма в контролируемых помещениях.

По принципу действия температурные извещатели делят на:

- Максимальные;

- Дифференциальные;

- Комбинированные.

Максимальные температурные извещатели включают световую и звуковую сигнализацию на посту управления судном и в ЦПУ при определенной температуре в контролируемом помещении (обычно они настраиваются на 70°С). Функциональная схема максимального извещателя показана на рис. 13, а. Извещатель состоит из фарфорового или пластмассового корпуса 2, соединенного с биметаллической пластиной 1., При предельном значении температуры в помещении биметаллическая пластина прогибается и своим контактом 3 через неподвижный контакт 4 замыкает цепь сигнализации.

Дифференциальные извещатели (рис. 13, б) реагируют на скорость нарастания температуры. Корпус одного из таких извещателей «Теплозвон» разделен.мембраной 4 на две камеры а и в. Верхняя камера а окнами б сообщается с воздушным пространством контролируемого помещения. Нижняя камера в имеет глухие стенки и соединена с камерой а через дроссельный канал во втулке 5. При нормальной температуре контролируемого помещения давление воздуха в обеих камерах одинаковое и контакты 2 замкнуты. Если же температура в помещении резко возрастает, то, поскольку воздух из-под мембраны 4 выходит медленно,. давление в камере в увеличивается и мембрана, прогибаясь вверх, стержнем 3 размыкает контакты 2, что и приводит к срабатыванию световой и звуковой сигнализации. Настройка такого извещателя производится: регулировочным винтом 1 и путем подбора втулки 5 с таким дроссельным отверстием, что контакты размыкаются при скорости нарастания температуры 0, 085÷ 0, 170°С/сек, (5÷ 10°С/мин).

Принцип действия комбинированных извещателей сочетает принцип действия максимальных и дифференциальных преобразователей. Они реагируют не только на максимальные значения температур, но и на скорость их возрастания.

Температурные извещатели рассчитаны на помещения площадью 25÷ 30 м2. В помещениях площадью более 30м2 устанавливают не менее двух извещателей.

Пожарный контроль помещений больших площадей осуществляется дымовыми извещателями, чувствительным элементом которых является фоторезистор 2 (рис. 13, в). Камера извещателя с помощью приемных трубок 1 сообщается с различными участками контролируемого помещения. Воздух, отсасываемый из камеры вентилятором 3, подсвечивается электролампой 4. Задымленность воздуха в камере улавливается фоторезнотором 2. Импульсы от извещателей по электрической цепи поступают на сигнальный пульт в ЦПУ и рулевую рубку. Принципиальная электрическая схема пожарной сигнализации зависит от типа и числа извещателей, а также способа подачи импульса (размыканием или замыканием контактов).

При получении сигнала о пожаре обслуживающий персонал с палубы открывает кран-дозаггор пенообразующей жидкости, с ЦПУ или из рулевой рубки переключает (при необходимости) тумблеры соответствующих помещений в положение «Авария». При эхом обмотки электромагнитных клапанов получают питание, открывается доступ воды в общую и соответствующие раздаточные магистрали. Подача воды к очагу пожара обеспечивается включением электроприводного насоса с местного или дистанционного поста управления.

Для локализации пожара судно разделяют на противопожарные зоны вертикальными огнестойкими переборками. В случае дистанционного закрытия дверей, огнестойких или огнезадерживающих переборок на посту управления судном и в ЦПУ включается соответствующая исполнительная сигнализация.

Импульсы, вырабатываемые извещателями, могут использоваться и для автоматического включения средств пожаротушения. Из автоматизированных систем водотушения на судах наиболее распространена сплинкерная. При повышении температуры воздуха колба сплинкерной головки давлением паров изнутри разрушается, вода из магистрали поступает к распылителю и в виде мелких брызг вспрыскивается в контролируемое помещение. Давление воды перед спринклерами поддерживается постоянным с помощью пневмо-цистерны.

Газоанализатор «ОРСа»

Для полного сгорания всякого топлива требуется определенное количество воздуха. Измерить непосредственно количество воздуха, поступающего в топку котла или цилиндры дизеля, довольно трудно.

Состав выпускных газов является одним из диагностических параметров, характеризующих техническое состояние ЦПГ, топливной аппаратуры и турбокомпрессора дизеля. С увеличением износа этих деталей содержание СО в газах возрастает, а содержание О2.

Поэтому о количестве и, следовательно, качестве сжигания топлива судят косвенно – по анализу выпускных газов. Для этого пользуются специальными приборами – газоанализаторами.

На судах речного флота содержание углекислого газа СО2, кислорода О2 и окиси углерода СО в выпускных газах определяют ручным переносным газоанализатором «ОРСа» (рис. 14).

Рисунок 14 – Газоанализатор «ОРСа»  

Он состоит из трех поглотительных сосудов для определения содержания (в %): 8СО2; 9О2 и 11СО. Каждый сосуд имеет два стеклянных цилиндра, соединенных с общей трубкой 4 кранами 3. Чтобы избежать попадания воздуха в сосуды 9 и 11, на их патрубки надеты резиновые чехлы 10 и 12.

Сосуды заполняют соответствующими реактивами:

- раствором едкого калия для поглощения углекислого газа;

- щелочным раствором пирагалловой кислоты для поглощения кислорода;

- аммиачным раствором хлористой меди для поглощения окиси углерода.

Проба газа очищается от механических примесей в фильтре 1. При взятии пробы газа пользуются колбой 5. Колба заполнена подкрашенной водой и резиновой трубкой соединена с измерительной бюреткой 7. В целях охлаждения бюретку помещают в стеклянный цилиндр 6, заполненный водой. Перед взятием пробы газа колбу 5 устанавливают так, чтобы уровень воды в бюретке 7 был на отметке «100», Затем при открытом трехходовом кране 2 перемещают колбу 5 вниз, заполняя бюретку 7 газом до отметки «О».

После этого кран 2 перекрывают и открывают кран 3 первого поглотительного сосуда. Поднимая и опуская несколько раз колбу 5, перегоняют газы в поглотительный сосуд. Для определения количества поглощенного СО2 колбу с водой устанавливают так, чтобы уровень воды в ней и в бюретке совпал. Высота этого уровня, измеренная по шкале бюретки, показывает в процентах по объему количество поглощенного газа.

Точно так же определяют содержание О2 и СО в оставшемся объеме газа. После взятия пробы газ с помощью резиновой груши 13 при поднятой колбе удаляют из прибора.

В связи с очень низкой стойкостью раствора для поглощения СО чаще всего с помощью газоанализатора «ОРСа» определяют только содержание СО2 и O2.

Содержание СО (%) в отходящих газах находят по формуле:

(1)

где – характеристика топлива, определяемая в зависимости от его элементарного состава.


Поделиться с друзьями:

mylektsii.su - Мои Лекции - 2015-2026 год. (2.425 сек.)Все материалы представленные на сайте исключительно с целью ознакомления читателями и не преследуют коммерческих целей или нарушение авторских прав Пожаловаться на материал