Студопедия

Главная страница Случайная страница

КАТЕГОРИИ:

АвтомобилиАстрономияБиологияГеографияДом и садДругие языкиДругоеИнформатикаИсторияКультураЛитератураЛогикаМатематикаМедицинаМеталлургияМеханикаОбразованиеОхрана трудаПедагогикаПолитикаПравоПсихологияРелигияРиторикаСоциологияСпортСтроительствоТехнологияТуризмФизикаФилософияФинансыХимияЧерчениеЭкологияЭкономикаЭлектроника






Регулировочная техника






Компьютер, установленный в теплице соединен с наружной метеостанцией, а также с датчиками в самой теплице, с целью учета климатических показателей в данный момент времени. Регулировочные программы непрерывно проводят оценку параметров и оптимизируют климатические факторы в теплице, оперативно управляя средствами автоматизации, установленными в теплице, чтобы обеспечить оптимальное использование ресурсов, предотвращения ошибок в культивировании.

Контроль осуществляется по двум основным направлениям:

Внутреннее

Падающее излучение: Растениям необходим свет определенной интенсивности и продолжительности. Относительная влажность воздуха: При слишком высокой влажности возрастает угроза инфекций вследствие грибкового заражения. Влажность почвы (субстрата): Должна быть оптимизирована для потребностей роста растений. Концентрация углекислого газа: Важный фактор для процесса фотосинтеза. Температура воздуха / Движение воздуха: Необходимо регулировать с помощью форточек в теплице. Питательные вещества / Жидкое удобрение: регулируется с помощью поливной автоматики.

Внешнее

Измеряемые параметры: Скорость ветра (чашечный анемометр) Направление ветра (датчик направления ветра) Освещение (люксметр) Температура наружного воздуха Осадки (дождемер на вентиляционных форточках) Влажность наружного воздуха (термогигрометр). Датчики в теплице и Средства автоматизации. Температура воздуха в растительных насаждениях. Температура почвы (при обогреве почвы). Влажность воздуха в растительных насаждениях. Сила света внутри помещения. Концентрация углекислого газа. Влажность почвы в области корней культуры. Уровень pH питательных растворов: важно для оценки получаемых питательных веществ. Проводимость питательных растворов, для оптимизации дозировки питательных веществ

Регуляция температуры - регулировка отопления (насосы, смесители) - регулировка вентиляции (клапаны, вентиляторы) - адиабатическое охлаждение (распыляющие форсунки)

• Освещение - Затеняющие устройства (энергетический экран ночной эксплуатации) - Затемняющие экраны (управление продолжительностью светового дня) - Осветительные устройства (управление продолжительностью светового дня)

• Влажность воздуха - Увлажнение воздуха (туманообразующая установка) - высушивание путем охлаждения / подогрева против заболеваний листа растений

• Углекислый газ - установки для распыления углекислого газа

• Орошение, удобрение - оросительная автоматика (насосы, магнитные клапаны) - установки дозирования для удобрений (дозирующие системы, насосы, магнитные клапаны)

 

2 Выбор технологических схем и рабочих машин

 

 

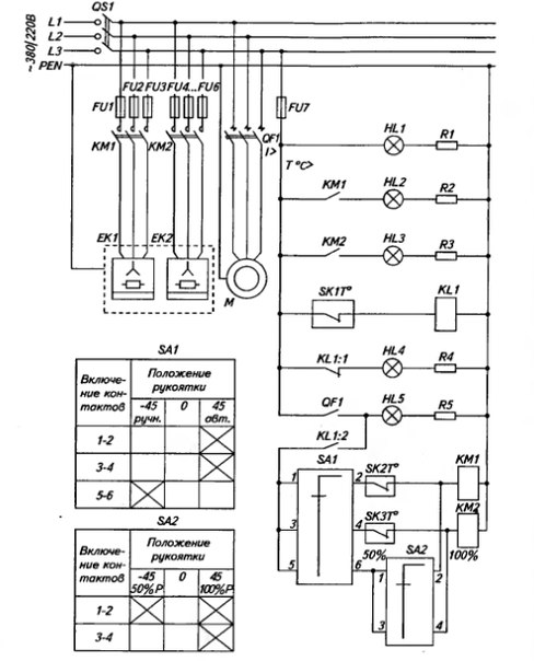
Рисунок 1 Схема управления СФОЦ

 

Автоматический режим установки обеспечивается переключателем SA1. Когда в помещении температура выше нормы контакты SK2 и SK3 датчиков температур ДТКБ-53Т разомкнуты и ступени электронагревателей отключены. Рукоятка переключателя SA1 должна стоять в правом положении. При понижении температуры Твнутр контакт SK2 замкнется и включится первая ступень блока электронагревателей. В случае дальнейшего снижения Твнутр замкнется контакт SK3 и включится вторая ступень блока электронагревателей. Отключение ступеней происходит в обратном порядке.

В ручном режиме: Переключатель SA1 переводится в левое положение, тогда переключателем SA2 ожно включить первую ступень, а затем вторую ступень нагревателей.В случае аварийного режима при перегреве ТЭНов срабатывает датчик температуры ТР-200 (контакты SK1), который отключает реле KL. Он своими контактами обесточивает КМ1 и КМ2. Кроме отключения нагревателей реле KL своими контактами включает красную сигнальную лампу HL4.


3 Расчет задания

 

В светотехническом разделе выбирается вид и система освещения, нормированная освещенность Ен и коэффициент запаса (в процессе эксплуатации световой поток осветительных приборов уменьшается), тип светового прибора (выбирается по трем критериям: по КСС, по светотехническим характеристикам по экономическим показателям). Расчет будет производиться тремя методами: точечным методом, методом коэффициента использования и методом удельной мощности. Выполняется размещение световых приборов.

Таблица 1 - Характеристика здания

Наименование помещения Площадь, м2 Длинна, м Ширина, м Высота, м Среда Коэффициент отражения
             
Теплица 570, 24 59, 4 9, 6 2, 66 Особо сыря      

 

В сельскохозяйственных помещениях предусматривают следующие виды освещения: рабочее, технологическое, дежурное, аварийное, ремонтное. Также различают две системы освещения: общую (равномерную или локализованную) и комбинированную. Для освещения данного здания будем проектировать технологическое освещение. Во всех помещениях будем проектировать общую равномерную систему освещения.

Таблица 2 - Требования к освещению помещений

Наименование помещения Нормированная освещённость Нормируемая плоскость Минимальная степень защиты СП Коэффициент запаса
         
Теплица   Г – 0, 0 IP 54 1, 3

 

 

3.1 Теплица

Выбор светового прибора наиболее целесообразный тип светового прибора должен выбираться на основе полного технико-экономического сопоставления различных возможных вариантов. Выбор светового прибора для данного помещения представлен в таблице.

Таблица 3 - Выбор светового прибора

Светильники с IP 54 КСС Мощность лампы КПД %
НСП 03 М   75 (65)
ЛСП 16 Д1    

 

Выберем светильник ЛСП 16, т.к. это светильник с наибольшей мощностью лампы, косинусной КСС и относительно высоким КПД.

Размещение световых приборов

Световые приборы обычно размещают по вершинам квадратов или ромбов, оптимальный размер стороны которых определяется по формуле:

λ С × НР £ L £ λ Э × НР (1)

1, 4 × 2, 7 £ L £ 2, 7 × 1, 6

3, 78 £ L £ 4, 32

где lЭ и lС – относительные светотехническое и энергетическое наивыгоднейшее расстояние между светильниками;

НР – расчетная высота осветительной установки, м.

Численные значения lЭ и lС зависят от типа кривой силы света

НР = Н0 - hСВ - hР (2)

НР = 3-0, 1-0, 2

НР = 2, 7 м

где Н0 – высота помещения, м;

hСВ – высота свеса светильника, м;

hР – высота рабочей поверхности от пола, м.

Lопт=4

Na = a/Lопт = 59.4/4 = 15

Nв = в/Lопт = 9, 6/4 = 3

N = Na*Nв = 3*15 = 45

Согласно расчету в данном помещении необходимо разместить сорок пять световых приборов данного типа.

Определим расстояние между светильниками в ряду:

La = a/Nв = 9.6/5 = 1, 92 м

Определим мощность осветительной установки точечным методом. Вычертим план помещения (рисунок 2) и расположим в нем выбранные световые приборы, наметим контрольную точку, в которой должна обеспечиваться минимальная нормированная освещенность. Далее определяют в данной контрольной точке условную освещенность по формуле:

е = ∑ ei (3)

где еi – условная освещенность контрольной точки i-го светильника, которую в свою очередь определяют по следующей формуле:

(4)

где a - угол между вертикалью и направлением силы света светильника в расчетную точку;

Ja 1000 - сила света i-го светильника с условной лампой (со световым потоком в 1000 лм) в направлении расчетной точки. Численное значение. Ja 1000 определяют по кривым силы света.

Рисунок 2 - Схема расположения светильников в теплице (вид спереди).

Рисунок 3 - Схема расположения светильников в теплице (вид сверху).

x = 5.66

(5)

где m - коэффициент, учитывающий дополнительную освещенность за счет влияния удаленных светильников и отражения от ограждающих конструкций;

1000 – световой поток лампы;

hсв – КПД светильника.

лм

По численному значению потока и каталожным данным выберем светодиодный светильник Армстронг компании «Светотроника».

Расчет досвечивания

Для расчета досвечивания был использован точечный метод

(4)

x = 1.71

лм

4 Выбор схемы электроснабжения и напряжения питания осветительной сети

Для питания осветительных приборов общего внутреннего и наружного освещения, как правило, должно применяться напряжение не выше 220В. Поэтому для питания осветительной сети данного здания выберем сеть с напряжением 220В.

 

4.1 Компоновка осветительной сети

Разделение на группы потребителей Разделение на группы делают по следующим рекомендациям: число светильников на двухфазную трехпроводную группу не должно превышать 40 шт., а на трехфазную четырехпроводную 60 шт. Длина трехпроводной должна быть около 60 м, а четырехпроводной около 80 м.

Согласно ПУЭ, предельный ток группы не должен превышать 25А.

а) Первая группа двухфазная трехпроводная

15 светильников ЛСП 16 с лампами ЛБ – 40 -1

б) вторая группа двухфазная трехпроводная

15 светильников ЛСП 16 с лампами ЛБ – 40 -1

в) третья группа двухфазная трехпроводная

15 светильников ЛСП 16 с лампами ЛБ – 40 -1

 

4.2 Расчет токов в группах

(6)

где

m – количество фаз;

Uф- фазное напряжение;

Σ P – суммарная мощность ламп накаливания;

Первая группа Σ P = 2383 Вт
Вторая группа Σ P = 2383, 92 Вт
Третья группа Σ P = 2385, 84 Вт

 

 

4.3 Выбор сечения проводов

Выбор сечения по механической прочности.

Сечение не может быть менее 1 мм2.

S = Σ P/(c*∆ u) (7)

C= 11.4

Сечение провода для первой группы S1= 2.4/2.28 = 1.1 мм2 Потери напряжения для первой группы ∆ U = Σ P1/(c*s) = 2.4/(11.4*1.1) = 0.2%
Сечение провода для второй группы S2= 2.4/2.28 = 1.1 мм2 Потери напряжения для второй группы ∆ U = Σ P2/(c*s) = 2.4/(11.4*1.1) = 0.2%
Сечение провода для третей группы S3= 2.4/2.28 = 1.1 мм2 Потери напряжения для третей группы ∆ U = Σ P3/(c*s) = 2.4/(11.4*1.1) = 0.2%  

Выберем провод АПВ (медный трехжильный сечением 1, 5 мм2 для номинального напряжения 220 В)

 

5. Выберем защитную аппаратуру и осветительный щиток

Iв ≥ k*Ik (8)

Ik = Iт = k*Ip = 1*1.82 = 1.82

Iв1 = 1.2*1.82 = 2.2 A

Iв2 = 1.2*1.82 = 2.2 A

Iв3 = 1.2*1.82 = 2.2 A

 

Исходя из расчетов выберем:

Автомат ВА – 5125 – 34
Предохранители ПР – 2 – 15
УЗО УЗО20-10-2-010
Осветительный щиток ЩН852-400731-УХЛ4 0, 4

 

6 Расчет отопления и вентиляции

6.1 Полезный тепловой поток отопительной установки, Вт, определяется из уравнения теплового баланса помещения:

(9)

где Фо – тепловой поток, теряемый через наружные ограждения помещения, Вт;

Фв – тепловой поток, теряемый с вентилируемым воздухом, Вт;

Фисп – тепловой поток, расходуемый на испарение влаги с мокрых поверхностей растеневодческого помещения, Вт;

Фж – тепловой поток, выделяемый растениями, Вт.

Фп = 1896, 3 + 4, 65 + 0, 005 – 0, 02 = 1901 Вт

(10)

где qот – удельная отопительная характеристика помещения, ;

Vо – удельный объем помещения, ;

N - количество кустов.;

Тв - температура внутреннего воздуха помещения, оС;

Тн - расчетная зимняя температура наружного воздуха, оС;

а - поправочный коэффициент, учитывающий влияние разности температур на значение удельной отопительной характеристики.

(11)

(12)

(13)

где

QV – объемный расход вентиляционного воздуха,

- плотность воздуха при температуре ТВ,

СР – удельная изобарная теплоемкость воздуха, равная 1000 .

(14)

Воздухообмен по нормативной концентрации влаги внутри помещения рассчитывается по выражению:

м3/с, (15)

где

dВ и dН – влагосодержание внутреннего и наружного воздуха, г /кг с.в.;

dН – при наружных температуре -20°С можно принять 0, 2г/кг с.в.;

dв - определяется при помощи i-d диаграммы по принятой нормативной температуре воздуха в помещении

dB = 0 г/кг с.в.;

ρ – плотность воздуха при внутренней температуре, кг /м3;

(16)

Мж – количество влаги, выделяемой растениями,

г/с (17)

где

m – количество кустов растений, содержащихся одновременно в помещении;

q – количество влаги, выделяемое одним кустом;

Ми- количество влаги, испаряющейся с поверхности ограждений, пола, поилок и т.д. Для растеневодческих помещений

г/с (18)

Следовательно:

м3/с (19)

Теплота, теряемая на испарение влаги

Фи = 2477· Ми Вт (20)

где

2477 кДж/кг - скрытая теплота испарения 1 кг воды.

Фи = 2477· 0, 0009 =0, 005 Вт

Теплота, выделяемая растениями,

Фж=m·qж Вт (21)

где

qж - количество теплоты, выделяемой одним кустом. Согласно справочным данным примем qж=10-4 Вт.

Фж=196*10-4 = 0, 02 Вт

 

6.2 Расчетная мощность электрокалориферов в помещении

 

, (22)

где

кз – коэффициент запаса, учитывающий возможное снижение питающего напряжения и старение нагревателей, кз=1, 05…1, 1;

hэку – тепловой КПД, учитывающий потери от корпуса электрокалорифера и воздуховодов, hэку = 0, 95…1;

b - доля расчетной мощности, которая должна быть обеспечена от ЭКУ, %

Расчетная мощность одного калорифера

(23)

где

n – число ЭКУ в помещении

 

Объемная подача вентилятора одной ЭКУ

(24)

 

6.2.1 Выбор стандартной ЭКУ

 

6.2.2 По рассчитанному значению Р выбирают электрокалориферную установку.

Выбираем установку СФОЦ – 5 – 700 м3

Т.к. 0, 2 м3/с < 0, 448 м3/с, то к выбранному ЭКУ нетредуется параллельно подключать дополнительный вентилятор.

6.2.3. Определяем фактическую температуру воздуха, выходящего из электрокалорифера

(25)

где

Рн – номинальная мощность электрокалорифера

Qvф – фактический объемный расход воздуха через электрокалорифер, м3/с. Qvф = Qvн = 0, 2

Предельно допустимая Твых из установок типа СФОЦ составляет 50оС, таким образом

Твых £ 50 оС 21 оС < 50 оС

 

6.2.4. Проверка ЭКУ по температуре поверхностного оребрения ТЭНов

(26)

где

Р1 – мощность одного ТЭНа, Вт;

RT – термическое сопротивление теплоотдаче от поверхности ТЭНа к омывающему его воздуху, оС /Вт

(27)

(28)

где

a – коэффициент теплоотдачи от поверхности ТЭНа к воздуху,

АР – площадь поверхности оребрения ТЭНа, м2;

 

(29)

где

lB – теплопроводность воздуха, ;

РЧ – число Прандаля;

V – скорость потока воздуха в электрокалорифере, м/с

u – коэффициент кинематической вязкости воздуха, м2/с =0, 32

Скорость потока воздуха в электрокалорифере

(30)

где

Аж – площадь живого сечения электрокалорифера, м2

(31)

где

l – высота окна электрокалорифера, м;

n1 – число ТЭНов в одном вертикальном ряду (одной секции)

(32)

где

n2 – число секций в электрокалорифере (вертикальных рядов ТЭНа)

Тпов < Тпов.пред

27, 4 0С < 180 0С

 

7. Выбор электропривода

 

7.1 Выбор вентилятора

Вентилятор подбирают по требуемым значениям давления Р и объемной подаче воздуха Qvт

Выбираем вентилятор ВР 80-75 №2, 5 с hв=0, 95

Необходимая мощность на валу электродвигателя:

где

p – необходимое давление вентилятора, Па;

hв – КПД вентилятора, принимаемый по его характеристики;

hпер – КПД передачи (при непосредственной посадке колеса вентилятора на вал электродвигателя hпер = 1, для клиноременной передачи hпер = 0, 95)

 

7.2 Выбираем электродвигатель марки АИР63А2 Р = 370 Вт

8. Рассмотрение вопросов эксплуатации оборудования

8.1 Эксплуатация осветительных электроустановок.

При недостаточной освещенности производственных цехов ухудшается зрение и падает производительность труда, снижается качество выпускаемой продукции. Поэтому для промышленных предприятий разработаны и являются обязательными нормы минимальной освещенности, предусмотренные СНиП и ПУЭ.

Величины освещенности по этим нормам зависят от характера производства и тем выше, чем большая точность требуется при выполнении технологических процессов и производственных операций. При проектировании и светотехнических расчетах освещенность принимают несколько большую, чем требуется по нормам.

Данный запас обусловливают тем, что во время эксплуатации уровень первоначальной (проектной) освещенности с течением времени неизбежно снижается. Это происходит за счет постепенного уменьшения светового потока светильников, загрязнения арматуры и некоторых других причин. Однако принимаемый при проектировании и расчетах запас освещенности является достаточным при нормальной эксплуатации электроосветительных установок: регулярной очистке светильников, световодов, своевременной смене ламп и т.п. При неудовлетворительной эксплуатации принятый запас освещенности не может компенсировать понижающегося уровня освещенности, и она становится недостаточной.

Следует иметь в виду, что на освещенность помещения большое влияние оказывает цвет окраски стен и потолков и их состояние. Окраска в светлые тона и регулярная очистка от загрязнения способствуют обеспечению требуемых норм освещенности. Периодичность осмотров осветительных электроустановок зависит от характера помещений, состояния окружающей среды и устанавливается главным энергетиком предприятия. Ориентировочно для запыленных помещений с агрессивной средой можно принять необходимую периодичность осмотров рабочего освещения один раз в два месяца, а в помещениях с нормальной средой — один раз в четыре месяца.

8.2 Осмотры осветительных установок

При осмотрах осветительных электроустановок проверяют состояние электропроводки, щитков, осветительных приборов, автоматов, выключателей, штепсельных розеток и других элементов установки. Проверяют также надежность имеющихся в установке контактов: ослабленные контакты должны быть затянуты, а обгоревшие — зачищены или заменены новыми.

8.3 Замена ламп в светильниках

В производственных цехах промышленных предприятий существуют два способа смены ламп: индивидуальный и групповой. При индивидуальном способе ламп заменяют по мере их выхода из строя; при групповом способе их заменяют группами (после того, как они отслужили положенное количество часов). Второй способ экономически более выгодный, так как может быть совмещен с очисткой светильников, но связан с большим расходом ламп.

При замене не следует использовать лампы большей мощности, чем это допускается для осветительного прибора. Завышенная мощность ламп приводит к недопустимому перегреву светильников и патронов и ухудшает состояние изоляции проводов.

Светильники и арматуру очищают от пыли и копоти в цехах с небольшим выделением загрязняющих веществ (механические и инструментальные цеха, машинные залы, кожевенные за воды и т. п.) два раза в месяц; при большом выделении загрязняющих веществ (кузнечные и литейные цеха, прядильные фабрики, цементные заводы, мельницы и др.) четыре раза в месяц. Очищают все элементы светильников — отражатели, рассеиватели, лампы и наружные поверхности арматур. Очистку окон для естественного освещения проводят по мере их загрязнения.

Рабочее и аварийное освещение в производственных цехах включают и выключают по графику лишь тогда, когда естественное освещение недостаточно для производства работ.

Проверки и испытания осветительных установок при эксплуатации. Электроосветительные установки при эксплуатации подвергают ряду проверок, испытаний. Проверяют сопротивление изоляции рабочего и аварийного освещения. Исправность системы аварийного освещения проверяют, отключая рабочее освещение, не реже одного раза в квартал. Автомат или блок аварийного переключения освещения проверяют один раз в неделю в дневное время. У стационарных трансформаторов на напряжение 12— 36 В изоляцию испытывают 1 раз в год, а у переносных трансформаторов и ламп на 12 — 36 В — каждые три месяца.

8.4 Выполнение фотометрических измерений освещенности в помещениях

Фотометрические измерения освещенности в основных производственных и технологических цехах и помещениях с контролем соответствия мощности ламп проекту и расчетам проводят 1 раз в год. Освещенность проверяют с помощью люксметра во всех производственных цехах и на основных рабочих местах. Полученные значения освещенности должны — соответствовать расчетным и проектным.

Перед тем как приступить к проверке освещенности, необходимо установить места, на которых целесообразно измерить освещенность. Результаты осмотров и проверок оформляют актами, утвержденными главным энергетиком предприятия.

Особенности эксплуатации газоразрядных источников света Особенности эксплуатации люминесцентных ламп и газоразрядных ламп высокого давления

Промышленность изготовляет следующие газоразрядные источники света с лампами:

а) люминесцентные ртутные низкого давления;

б) дуговые ртутные высокого давления (типа ДРЛ);

в) ксеноновые (типа ДКсТ) высокого давления с воздушным охлаждением и сверхвысокого давления с водяным охлаждением;

г) натриевые лампы высокого и низкого давления.

Наибольшее распространение получили первые два типа ламп. Газоразрядные лампы имеют следующие основные особенности. Световой коэффициент полезного действия (КПД) ламп накаливания находится в пределах 1, 6-3 %, а их световая отдача не превышает 20 лм/Вт потребляемой мощности для мощных ламп и снижается до 7 лм/Вт для ламп мощностью до 60 Вт. Световой КПД люминесцентных ламп и ламп ДРЛ достигает 7 %, а световая отдача превышает 40 лм/Вт. Однако такие лампы включаются в электрическую сеть только через пускорегулирующую аппаратуру (ПРА).

Для зажигания люминесцентной лампы и особенно лампы ДРЛ требуется некоторое время (от 5с до 3 - 10 мин). Основным элементом пускорегулирующего аппарата обычно служит индуктивное сопротивление (реактор), ухудшающее коэффициент мощности; поэтому применяют конденсаторы, встраиваемые в современные пускорегулирующие аппараты.

Промышленность выпускает люминесцентные лампы общего назначения мощностью от 4 до 200 Вт. Лампы мощностью от 15 до 80 Вт выпускаются серийно в соответствии с ГОСТами. Остальные лампы изготовляют небольшими партиями по соответствующим техническим условиям. Одна из особенностей эксплуатации люминесцентного освещения заключается в затруднении поиска неисправности по сравнению с использованием ламп накаливания. Это объясняется тем, что наиболее распространенная схема включения люминесцентных ламп содержит стартер и дроссель (балластное сопротивление) и становится гораздо сложнее схемы включения лампы накаливания.

Другой особенностью люминесцентного освещения является то, что для нормального зажигания и работы люминесцентной лампы напряжение сети не должно быть менее 95 % от номинального. Поэтому при эксплуатации люминесцентных ламп необходимо контролировать напряжение сети. Нормальный режим работы люминесцентной лампы обеспечивается при температуре 18—25 °С, при более низкой температуре люминесцентная лампа может не зажечься.

Во время эксплуатации осмотр люминесцентных ламп проводится чаще, чем ламп накаливания. Осмотр люминесцентных ламп рекомендуется проводить ежедневно, а очистку от пыли и проверку исправности — не реже одного раза в месяц.

При эксплуатации необходимо учитывать также, что после окончания нормального срока службы люминесцентной лампы (около 5 тыс. ч) она практически теряет свои качества и подлежит замене. Лампа, при работе которой наблюдаются мигание или свечение только на одном конце, подлежит замене.

8.5 Эксплуатация ЭКУ

Перед тем как включить электроводонагреватель в работу (под напряжение), необходимо наполнить его резервуар водой до вытекания её через трубопровод горячей воды (разборную трубу). Следует иметь в виду, что включение электроводонагревателя под напряжение при отсутствии воды в резервуаре приводит к быстрому перегоранию (выходу из строя) ТЭНов. Поскольку во всех емкостных электроводонагревателях разбор горячей воды осуществляется путем выдавливания её холодной водой, поступающей (из водопро-водной магистрали) в нижнюю часть резервуара, нельзя устанавливать запорный кран на трубопроводе горячей воды (разборной трубе). При закрытом кране нагрев воды приводит к возникновению в резервуаре большого давления, в результате чего стенки резервуара могут разорваться.

Такой принцип разбора горячей воды, с одной стороны, не допускает смешивания поступающей холодной воды с горячей, так как этому препятствует: загиб к низу выходного конца питающего патрубка, большая плотность поступающей холодной воды по сравнению с горячей и небольшая скорость поступления холодной воды в резервуар, а с другой – гарантирует постоянное наличие её в резервуаре. Это исключает возможность включения под напряжение обнаженного нагревательного устройства. Чтобы это требование полностью удовлетворялось, запрещается разбирать горячую воду через спускной кран.

В трубопроводе холодной воды обязательно должен быть: вентиль-клапан (работает одновременно как вентиль и как обратный клапан), который пропускает воду из водопроводной магистрали в резервуар электроводонагревателя, но не выпускает её обратно, а также тройник со спускным краном, служащий для освобождения резерву-ара от воды при его очистке и ремонте.

При монтаже и реконструкции водонагревателя не допускается сборка трубопровода холодной воды без обратного клапана. При отсутствии обратного клапана или при его неисправности возможно вытягивание горячей воды из резервуара в водопроводную магистраль с опасными при этом последствиями. Электрическая схема предусматривает автоматическое поддержание темпера-туры воды на определенном значении.

Для поддержания электроводонагревателей в исправном состоянии в процессе эксплуатации рекомендуется система технического обслуживания, разработанная в соответствии с ГОСТ 18322-78 «Система технического обслуживания и ремонта техники».

Согласно этой системе техническое обслуживание электроводонагревателей выполняют на месте их установки без демонтажа и разборки. Типовой перечень работ предусматривает техническое обслуживание электроводонагревателей.

Технология технического обслуживания электроводонагревателей (емкостных и проточных) включает ряд последовательно выполняемых операций.

Стеклянным техническим термометром проверяют температуру воды на выходе электроводонагревателя. Температура воды у электроводонагревателей типа ВЭТ и УАП должна быть в пределах 90+-5 0С (ТУ 70 РСФСР 73-448-73), для ЭПВ-2А – не должна превышать 950С (ТУ 27-09-819-72), для ЭВ-150М – в пределах 86+-4 0С (требования заводской инструкции), для ВЭП-600 – соответствовать заданному значению, но не превышать 220С в системах автопоения растений и 950С при использовании воды на технологические нужды (ТУ-23-2-790-73).

Температуры нагретой воды на выходе электроводонагревателя не соответствует требуемым значениям, если неисправны схемы автоматики (регуляторы температуры) или перегорели один или несколько трубчатых электроводонагревателей. В процессе технического обслуживания электроводонагревателя устраняют выявленную неисправность.

Затем электроводонагреватель отключают от сети и на коммутационном аппарате помещают плакат «Не включать. Работают люди».

Щеткой-сметкой, ветошью обтирочной 629 и керосином осветительным КО- 30 очищают электроводонагреватель снаружи от пыли и грязи.

Визуально проверяют отсутствие утечек воды из бака электроводонагревателя (резервуара для воды) и из трубопроводов.

При помощи ключей, отверток и молотка снимают защитную крышку (может быть две) нагревательного устройства и проверяют надежность крепления контактов питающего кабеля (проводов). Ослабленные крепления подтягивают. При снятой защитной крышке определяют работоспособность каждого трубчатого электроводонагревателя и целостность их нагревательных элементов. После этого защитную крышку устанавливают на место.

Проверяют исправность заземления корпуса электроводонагревателя. Убедившись в его наличии, измеряют величину переходящего сопротивления контакта заземления, которая не должна превышать 0, 1 Ом между заземляющим проводником и наиболее доступной металлической частью электроводонагревателя.

Если величина измеряемого сопротивления оказалась более 0, 1 Ом, то контактное соединение разбирают и тщательно зачищают контактные поверхности (бака и заземляющего провода) до металлического блеска; зачищенные места покрывают соответствующей смазкой.

8.6 Текущий ремонт

Для поддержания электроводонагревателей в исправном состоянии в процессе эксплуатации рекомендуется применять систему (технологию) текущего ремонта, разработанную в соответствии с ГОСТ 18322-78 «Система технического обслуживания и ремонта техники».

Текущий ремонт электроводонагревателей выполняют на месте их установки без демонтажа, но с частичной разборкой. Ремонтируют элементы нагревтельного блока (трубчатых электроводонагревателей) и настраивают регуляторы температуры и предохранительные клапаны на базах текущего ремонта электрооборудования хозяйств (колхозов или совхозов).

Технология текущего ремонта электроводонагревателей предусматривает выполнение типового перечня работ электротехническим персоналом соответствующей (требуемой) квалификации, а также обеспеченность его нужными приборами, инструментом, приспособлениями и материалами.


9 Экономическое обоснование

Таблица 4 - Смета капитальных затрат

Перечень материалов и компонентов Маркировка, мощность Количество, шт., м. Цена за единицу, руб. Общая стоимость, руб.  
Автомат ВА – 5125 – 34        
Предохранители ПР – 2 – 15        
УЗО УЗО20-10-2-010   838, 1 838, 1  
Осветительный щиток ЩН852-400731-УХЛ4 0, 4        
Светильник ЛСП 16   516, 12 23225, 4  
Лампа ЛБ – 40 -1   32, 86 2957, 4  
Электрокалориферная установка ЭКОЦ-5        
Электродвигатель АИР63А2 Р        
  Провод АПВ 6, 7 Руб/м 84, 5 1236, 15
Вентилятор ВР 80-75, No 2, 5        
Итого 95460, 05  
                         

 


Список литературы

1 Электротехнология / А. М. Басов, В. Г. Быков, А. М. Лаптев, В. Б. Файн. – М.: Агропромиздат, 1985. – 256 с., ил.

2 Захаров А. А. Применение теплоты в сельском хозяйстве. – 3-е изд., перераб. и доп. - М.: Агропромиздат, 1986, - 286 с

3 СНиП 2.10.04-85 ТЕПЛИЦЫ И ПАРНИКИ

4 СП 107.13330.2012 Теплицы и парники

5 Казимир А.П., Керпелева И.Е. Эксплуатация электротермических установок в сельскохозяйственном производстве. – М.: Россельхозиздат, 1984. – 208 с., ил.

9 Технологические и технические средства в сельском хозяйстве, Электронный ресурс. URL: https://kalxoz.ru (дата обращения 27.11.14г.)

10 АГРОИНФО, Электронный ресурс. URL: https://agroinfo.com (дата обращения 27.11.14г.)

11 Электромонтажная продукция. Электронный ресурс. URL: https://kalxoz.ru (дата обращения 27.11.14г.)

 


Поделиться с друзьями:

mylektsii.su - Мои Лекции - 2015-2026 год. (2.356 сек.)Все материалы представленные на сайте исключительно с целью ознакомления читателями и не преследуют коммерческих целей или нарушение авторских прав Пожаловаться на материал