Студопедия

Главная страница Случайная страница

КАТЕГОРИИ:

АвтомобилиАстрономияБиологияГеографияДом и садДругие языкиДругоеИнформатикаИсторияКультураЛитератураЛогикаМатематикаМедицинаМеталлургияМеханикаОбразованиеОхрана трудаПедагогикаПолитикаПравоПсихологияРелигияРиторикаСоциологияСпортСтроительствоТехнологияТуризмФизикаФилософияФинансыХимияЧерчениеЭкологияЭкономикаЭлектроника






Кафедра нанотехнологии и инженерной физики






Кафедра нанотехнологии и инженерной физики

 

 

КУРСОВАЯ РАБОТА

 

подисциплине «Аппаратное и программное обеспечение микро- и наносистемной техники»

 

на тему «Изучение физических основ микро- и наносистемных устройств для измерения ускорения»

Специальность (направление подготовки) 222900.62«Нанотехнологии и

 

микросистемная техника»

Автор работыЗвигинцева А.А. __________________

 

 

Группа НМ-21б

 

Руководитель работы (проекта) Ряполов П.А. __________________

 

 

Работа защищена ____________________

(дата)

Оценка_____________________

 

Члены комиссии _________________________ __________________________

(подпись, дата) (инициалы, фамилия)

 

_________________________ __________________________

(подпись, дата) (инициалы, фамилия)

 

_________________________ __________________________

(подпись, дата) (инициалы, фамилия)

 

 

Курск, 2015 г.

Минобрнауки России

Федеральное государственное бюджетное образовательное учреждение

высшего профессионального образования

«Юго-Западный государственный университет»

 

Кафедра нанотехнологии и инженерной физики

 

ЗАДАНИЕ НА КУРСОВУЮ РАБОТУ

 

Студент Звигинцева А.А. шифр 06738 группа НМ-21б

 

1.Тема «Изучение физических основ микро- и наносистемных устройств для измерения ускорения»

2. Срок представления работы (проекта) к защите «11» июня 2014 г.

3. Исходные данные:

3.1. Дать определения рассматриваемым физическим величинам.

3.2. Перечислить основные физические законы и зависимости, относящиеся к рассматриваемой тематике.

3.3. Привести примеры ситуаций, в которых возникает необходимость измерения рассматриваемых параметров.

3.4. Описать историческое развитие способов измерения изучаемых параметров.

3.5. Дать полное инженерное описание не менее пяти вариантов измерительных систем для изучения указанных параметров.

3.6. Подобрать измерительное устройство и аналогово-цифровой преобразователь для измерения ускорения со следующими параметрами:

Диапазон измерения Погрешность измерения Быстродействие Тип датчика
±16g +/- 2% 0.5 сек Акселерометр

4. Содержание пояснительной записки курсовой работы

1... Введение. 6

2... Основная часть. 7

2.1 Основные физические законы и зависимости, связанные с ускорением. 7

2.1.1 Среднее и мгновенное ускорение. 7

2.1.2 Кинематика точки. 10

2.1.3 Ускорение точки при прямолинейном движении. 11

2.1.4 Ускорение точки при движении по окружности. 12

2.2 Измерения ускорения и примеры их использования. 14

2.2.1 Акселерометр. 14

2.2.2 Примеры применения акселерометра. 16

2.3 Историческое развитие измерений ускорения. 18

2.3.1 История развития акселерометров в мобильных телефонах. 18

2.3.2 История развития МЭМС и НЭМС.. 24

2.4 Полное инженерное описание измерительных систем. 32

2.4.1 Промышленный акселерометр. 32

2.4.2 Высокочувствительный акселерометр. 34

2.4.3 Трехкомпонентный акселерометр. 36

2.4.4 Миниатюрные акселерометры (датчики удара) 37

2.4.5 Акселерометры общего назначения. 39

2.5 Измерительное устройство для измерения ускорения. 40

3 Заключение. 43

СПИСОК ИСПОЛЬЗОВАННЫХ ИСТОЧНИКОВ………………………………45

 

5. Перечень графического материала: не предусмотрено

Руководитель работы ____________________ Ряполов П.А.

(подпись, дата)

Задание принял к исполнению ______________________ Звигинцева А.А.

(подпись, дата)


 

РЕФЕРАТ

Курсовая работа объемом 40 страниц, содержит 29 иллюстраций, 5 таблиц и 13 использованных источников литературы.

Перечень ключевых слов: ускорение, измерения, акселерометр, МЭМС, НЭМС, датчик.

В данной работе исследованы различные виды измерений ускорения, а также датчики и их технологические параметры. Целью работы является описание наиболее актуальных методов измерения ускорения, их исторического развития и характеристик. Результатом работы является структурированное и достаточно полное описание наиболее распространенных методов измерений ускорения, а также качественное рассмотрение инженерных характеристик некоторых измерительных систем.В работе рассмотрены современные способы исследования данных параметров, тенденции развития в данной области техники и технологии, а также даны прогнозные предположения о развитии методов ускорения.

В ходе выполнения второй части работы было разработано и изготовлено устройство для измерения ускорения, основанное на принципах микро- и наносистемной техники.


 

Содержание

 

1... Введение. 6

2... Основная часть. 7

2.1 Основные физические законы и зависимости, связанные с ускорением. 7

2.1.1 Среднее и мгновенное ускорение. 7

2.1.2 Кинематика точки. 10

2.1.3 Ускорение точки при прямолинейном движении. 11

2.1.4 Ускорение точки при движении по окружности. 12

2.2 Измерения ускорения и примеры их использования. 14

2.2.1 Акселерометр. 14

2.2.2 Примеры применения акселерометра. 16

2.3 Историческое развитие измерений ускорения. 18

2.3.1 История развития акселерометров в мобильных телефонах. 18

2.3.2 История развития МЭМС и НЭМС.. 24

2.4 Полное инженерное описание измерительных систем. 32

2.4.1 Промышленный акселерометр. 32

2.4.2 Высокочувствительный акселерометр. 34

2.4.3 Трехкомпонентный акселерометр. 36

2.4.4 Миниатюрные акселерометры (датчики удара) 37

2.4.5 Акселерометры общего назначения. 39

2.5 Измерительное устройство для измерения ускорения. 40

3 Заключение………………………………………………………………………. 43

СПИСОК ИСПОЛЬЗОВАННЫХ ИСТОЧКИКОВ………………………………45

 

 


 

1 Введение

Разрешающая способность человеческого глаза - около 100 микрометров (0, 1 мм), что примерно соответствует толщине волоска. Чтобы увидеть более мелкие предметы, требуются специальные устройства. Изобретенный в конце XVII века микроскоп открыл человеку новые миры, и в первую очередь мир живой клетки. Но у оптического микроскопа есть естественный физический предел разрешения - длина волны света, и этот предел (приблизительно равный 0, 5 мкм) был достигнут к концу XIX века. Следующим этапом погружения в глубь микромира стал электронный микроскоп, в котором в роли луча света выступает пучок электронов. Его разрешение достигает нескольких ангстрем (0, 1 нм), благодаря чему ученым удалось получить изображение вирусов, отдельных молекул и даже атомов. Но и оптический и электронный микроскоп дают лишь плоскую картинку

Увидеть трехмерную структуру микромира удалось только тогда, когда на смену оптическому лучу пришла тончайшая игла. Вначале принцип механического сканирования с помощью микрозонда нашел применение в сканирующей туннельной микроскопии, а затем на этой основе был разработан более универсальный метод атомно-силовой микроскопии.

Оба метода активно используются в исследовании структуры поверхности материала.

 

2 Обзор методов исследования

2.1 Историческое развитие

История микроскопии – это история непрерывных поисков человека, стремившегося проникнуть в тайны природы. Микроскоп появился в XVII в., и с этих пор наука стала быстро продвигаться вперед. Многие поколения исследователей проводили за микроскопом долгие часы, изучая не видимый глазу мир. Сегодня трудно себе представить биологическую, медицинскую, физическую, металлографическую, химическую лаборатории без оптического микроскопа: исследуя капельки крови и срез ткани, медики составляют заключение о состоянии здоровья человека. Установление структуры металла и органических веществ позволило разработать целый ряд новых высокопрочных металлических и полимерных материалов.

Наше столетие часто называют электронным веком. Проникновение в тайны атома позволило сконструировать электронные приборы – лампы, электронно-лучевые трубки и др. В начале 20-х годов у физиков возникла идея использовать пучок электронов для формирования изображения предметов. Реализация этой идеи породила электронный микроскоп.

Широкие возможности получения самой разнообразной информации, в том числе и с участков объектов, соизмеримых с атомом, послужили стимулом к совершенствованию электронных микроскопов и применению их практически во всех областях науки и техники в качестве приборов для физических исследований и технического контроля.

Современный электронный микроскоп способен различать столь малые детали изображения микрообъекта, которые не в состоянии обнаружить ни один другой прибор. В еще большей степени, чем размеры и форма изображения, ученых интересует структура микрообъекта; и электронные микроскопы могут рассказать не только о структуре, но и о химическом составе, несовершенствах строения участков микрообъекта размером в доли микрометра. Благодаря этому сфера применения электронного микроскопа непрерывно расширяется и сам прибор усложняется.

Первые просвечивающие электронные микроскопы работали с напряжением, ускоряющим электроны, в 30 – 60 кВ; толщина исследуемых объектов едва достигала 1000 Å (1 Å – 10-10 м). В настоящее время созданы электронные микроскопы с ускоряющим напряжением в 3 МВ, что позволило наблюдать объекты толщиной уже в несколько микрометров. Однако успехи электронной микроскопии не ограничились только количественным ростом ускоряющего напряжения. Этапным стало создание серийного растрового электронного микроскопа (РЭМ), который сразу же завоевал популярность у физиков, химиков, металлургов, геологов, медиков, биологов и даже у криминалистов. Наиболее существенные особенности этого прибора – большая глубина резкости изображения, которая на несколько порядков выше, чем у микроскопа оптического, и возможность исследования массивных образцов практически без какой-либо их специальной подготовки.Эволюция идей физики неразрывно связана с развитием методов исследования, позволяющих объяснить явления, происходящие в микромире. В развитии любой науки, изучающей реальные физические тела, два вопроса являются основными: как ведет себя тело в тех или иных условиях? Почему оно ведет себя определенным образом? Наиболее полный на эти вопросы ответ можно получить, если рассматривать структуру тела и его поведение комплексно, т. е. от микросвязей и микроструктуры до макроструктуры в макропроцессор. В XIX в, окончательно была сформулирована теория изображения, и физикам стало очевидно, что для улучшения разрешения микроскопа нужно уменьшать длину волны излучения, формирующего изображение. Сначала это открытие не привело к практическим результатам. Только благодаря работе Луи де Бройля (1924 г.)[1], в которой связывалась длина волны частицы с ее массой и скоростью, из чего следовало, что и для электронов (как и для световых золи) должно иметь место явление дифракции; и Буша (1926 г.), показавшего, что электрические и магнитные поля действуют почти как оптические линзы, стало возможным вести конкретный разговор об электронной оптике.

В 1927 г. американские ученые К. Девиссои и Л. Джермер наблюдали явление дифракции электронов, а английский физик Д. Томсон и со- ветский физик П. С. Тартаковский провели первые исследования этого явления. В начале 30-х годов академик А. А. Лебедев разработал теорию дифракции в приложении к электронографу [2].

На основе этих основополагающих работ стало возможным создать электронно-оптический прибор, и де Бройль предложил заняться этим одному из своих учеников, Л. Сциларду [2]. Тот в разговоре с известным физиком Д. Табором рассказал ему о предложении де Бройля, однако Габор убедил Сциларда в том, что любой предмет, находящийся на пути электронного луча, сгорит дотла и, кроме того, живые объекты в вакуум помешать нельзя.

Сцилард отказался от предложения своего учителя, но к тому времени уже не существовало трудностей в получении электронов. Физики и радиотехники успешно работали с электронными лампами, в которых электроны получали за счет термоэлектронной эмиссии, или, попросту говоря, за счет нагревания нити (катода), а направленное движение электронов к аноду (т. е. прохождение тока через лампу) формировалось приложением напряжения между анодом и катодом. В 1931 г. А. А. Лебедев предложил схему электронографа с магнитной фокусировкой пучка электронов, которая легла в основу большинства приборов, изготовленных в нашей стране и за рубежом.

В 1931 Р.Руденберг подал патентную заявку на просвечивающий электронный микроскоп, а в 1932 М.Кнолль и Э.Руска построили первый такой микроскоп, применив магнитные линзы для фокусировки электронов. Этот прибор был предшественником современного ОПЭМ. (Руска был вознагражден за свои труды тем, что стал лауреатом Нобелевской премии по физике за 1986.) [2]

В 1938 Руска и Б. фон Боррис построили прототип промышленного ОПЭМ для фирмы " Сименс-Хальске" в Германии; этот прибор в конце концов позволил достичь разрешения 100 нм. Несколькими годами позднее А.Пребус и Дж.Хиллер построили первый ОПЭМ высокого разрешения в Торонтском университете (Канада).

Широкие возможности ОПЭМ почти сразу же стали очевидны. Его промышленное производство было начато одновременно фирмой " Сименс-Хальске" в Германии и корпорацией RCA в США. В конце 1940-х годов такие приборы стали выпускать и другие компании.

РЭМ в его нынешней форме был изобретен в 1952 Чарльзом Отли. Правда, предварительные варианты такого устройства были построены Кноллем в Германии в 1930-х годах и Зворыкиным с сотрудниками в корпорации RCA в 1940-х годах, но лишь прибор Отли смог послужить основой для ряда технических усовершенствований, завершившихся внедрением в производство промышленного варианта РЭМ в середине 1960-х годов. Круг потребителей такого довольно простого в обращении прибора с объемным изображением и электронным выходным сигналом расширился с быстротой взрыва. В настоящее время насчитывается добрый десяток промышленных изготовителей РЭМ'ов на трех континентах и десятки тысяч таких приборов, используемых в лабораториях всего мира. В 1960-х годах разрабатывались сверхвысоковольтные микроскопы для исследования более толстых образцов. Лидером этого направления разработок был Г.Дюпуи во Франции, где в 1970 был введен в действие прибор с ускоряющим напряжением, равным 3, 5 млн. вольт. РТМ был изобретен Г.Биннигом и Г.Рорером в 1979 в Цюрихе. Этот весьма простой по устройству прибор обеспечивает атомное разрешение поверхностей. За свою работу по созданию РТМ Бинниг и Рорер (одновременно с Руской) получили Нобелевскую премию по физике.

Широкое развитие методов электронной микроскопии в нашей стране связано с именами ряда ученых: Н. Н. Буйнова, Л. М. Утевского, Ю. А. Скакова (просвечивающая микроскопия), Б. К. Вайнштейна (электронография), Г. В. Спивака (растровая микроскопия), И. Б. Боровского, Б. Н. Васичева (рентгеновская спектроскопия) и др. Благодаря им электронная микроскопия вышла, из стен научно-исследовательских институтов и находит все более широкое применение в заводских лабораториях.

 

2.2 Принцип работы электронного микроскопа

 

В настоящее время различают просвечивающую электронную микроскопию (ПЭМ) и растровую электронную микроскопию (РЭМ). Данные для сравнения РЭМ, ПЭМ и световой микроскопии (СМ) приведены в таблице 1.

 

Табл. 1. Сравнительные характеристики световых и электронных микроскопов

 

Просвечивающий электронный микроскоп представляет собой вакуумную камеру, изготовленную в виде вертикально расположенной колонны (рис. 1). Вдоль центральной оси этой колонны сверху вниз внутри колонны расположены электронный прожектор, определенный набор электрических катушек с проводом - электрических магнитов, выполняющих роль электромагнитных линз для пучка электронов, проходящего вдоль центральной оси колонны до ее основания, и флуоресцирующего экрана, поверхность которого бомбардируют электроны пучка.

 

Рис.1. Просвечивающий электронный микроскоп JEM-200CX

 

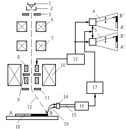
ПЭМ является фактическим аналогом светового микроскопа. Его схема показана на рис.2. Исследуемый образец располагается в области объективной линзы 5. Проекционная и промежуточная линзы выполняют функцию окуляра. Изображение формируется на флуоресцирующем экране.

 

Рис. 2. Схема просвечивающего электронного микроскопа:

1 - катод, 2 - управляющий электрод, 3 - анод, 4 - конденсорная линза, 5 - объектная линза, 6 - апертурная диафрагма, 7 - селекторная диафрагма, 8 - промежуточная линза, 9 - проекционная линза, 10 – экран

 

Объект АВ располагают обычно на микросетке. Проходя через объект, электроны рассеиваются в некоторый телесный угол, который ограничивается апертурой диафрагмой объектной линзы. Изображение объекта, формируемое объектной линзой (А’В’) увеличивается промежуточной (А’’В’’) и проекционной (А’’’В’’’) линзами. Контраст изображения обуславливается поглощением (амплитудный контраст) и рассеянием (фазовый контраст) электронов в объекте (рис. 3).

 

Рис. 3. Электронные изображения биологической ткани, полученные при различной степени увеличения. На первом изображении с увеличением в 170 раз видна графитовая микросетка, на которой располагают исследуемый объект

 

В ПЭМ объект исследования должен пропускать пучок электронов. Первостепенная задача исследователя - обеспечение двух условий: малой толщины образца и избирательного взаимодействия электронов с разными деталями образца. Микроскоп снабжается камерой, в объёме которой создаётся необходимый вакуум (10-5 - 10-6 Па). Ускоряющее напряжение, прикладываемое между катодом и анодом, находится в пределах от 20 до 200 кВ, что обеспечивает режим работы «на просвет». В РЭМ это напряжение значительно меньше (до 20 кВ). Весьма эффективно применение ПЭМ для анализа микроструктуры материалов, установление в ней нарушений, контроля правильности заполнения узлов кристаллической решётки, наличия пустот, дислокаций и т.д. (рис. 4).

Рис. 4. Двумерное электронное изображение кристалла Nb, полученное при 200 кэВ ускоряющего напряжения и увеличении в 6.000.000 раз. Черные точки соответствуют позициям атомов Nb, белые – каналам межатомного пространства.

 

В отличие от ПЭМ растровая электронная микроскопия позволяет дефектоскопировать образцы практически любых размеров по толщине. В её основе лежат физические явления, наблюдающиеся при бомбардировке поверхности твёрдого тела пучком электронов с энергией до нескольких десятков килоэлектронвольт, разворачиваемым в двумерный растр на поверхности исследуемого образца. К таким явлениям относятся: эмиссия вторичных электронов (рис. 5); рентгеновское излучение; оптическое излучение (катодолюминесценция); образование отражённых электронов (рис. 6); наведение токов в объекте дефектоскопирования (рис. 7 а); поглощение электронов (рис. 7 б); электроны, прошедшие сквозь образец (рис. 7 в); образование объёмного заряда; образование термоволны при модуляции электронного пучка по амплитуде. Регистрация и последующее преобразование сигналов, вызванных вторичными эффектами, позволяет получить разнообразные по информативному содержанию " электронные" изображения объекта.

 

Рис. 6. Контроль дефектов изготовления интегральных схем по электронным изображениям, полученным в режиме контроля отраженных электроном при различных ускоряющих напряжениях и увеличении в 250 раз

 

Рис. 7. Электронные изображения, полученное в режимах контроля наведенных токов в кристалле интегральной схемы (а), поглощенных электронов (сквозного сопротивления) в пленке сплава четырех металлов Ti-Fe-Ni-Ag (б), электронов, прошедших сквозь тонкий слой каучука (в)

 

Если после бомбардировки образца электронным пучком измерить энергетическое распределение всех эмиттированных из него электронов в диапазоне энергий от 0 до Е0 (Е0 - энергия первичных бомбардирующих поверхность исследуемого образца электронов), то получится кривая, подобная изображённой на рис. 8. Высокоэнергетическая часть распределения (область I) имеет широкий максимум и соответствует отраженным электронам, меньшая часть которых имеет низкие энергии (область II). Увеличение числа эмиттированных электронов, которые образуют область III, происходит за счёт процесса вторичной электронной эмиссии.

 

Рис. 8. Энергетическое распределение электронов, эмиттированных из исследуемого образца после его бомбардировки первичным электронным пучком

Вторичные электроны возникают в результате взаимодействия между высокоэнергетичными электронами пучка и слабо связанными электронами проводимости. При взаимодействии между ними происходит передача электронам зоны проводимости лишь нескольких электронвольт энергии, но вполне достаточных для того, чтобы они покинули кристаллическую решётку. В состав вторичных электронов входят также электроны, возникающие в результате выбивания из внутренних оболочек атомов и Оже-электроны, возникающие в результате безизлучательной рекомбинации. Энергия этих электронов характеризуется энергией определённых электронных уровней конкретного атома.

В процессе неупругого рассеяния электронов пучка при взаимодействии его с исследуемым образцом может возникать рентгеновское излучение. Это происходит за счёт двух различных процессов:

· торможения электрона пучка в кулоновском поле атома, приводящего к возникновению непрерывного спектра электромагнитного излучения с энергией от нуля до энергии падающего электрона (в этот диапазон входит и энергия рентгеновских квантов);

· взаимодействия электрона пучка с электронами внутренних оболочек, приводящего к возникновению характеристического рентгеновского излучения (энергия испускаемого рентгеновского кванта характеризуется разностью энергий между чётко определёнными электронными уровнями).

Когда некоторые материалы, такие как диэлектрики и полупроводники, подвергаются электронной бомбардировке, то возникает длинноволновое электромагнитное излучение в ультрафиолетовой и видимой части спектра. Это излучение, известное как катодолюминесценция.

Для анализа рабочего состояния активных и пассивных элементов ИС представляет интерес режим наведённых токов. При сканировании электронным пучком поверхности кристалла ИС, подключенного к источнику питания, часть поглощённых в кристалле электронов превращается в свободные носители заряда и генерируют электрические сигналы, обнаруживаемые в цепи питания. Эти сигналы имеют максимальное своё значение при пересечении электронным пучком областей потенциальных барьеров на кристалле (p-n переходов), что позволяет их визуализировать на экране видеомонитора (рис. 7 а).

Конструктивно РЭМ от ПЭМ отличается наличием отклоняющей системы для электронного луча, датчиков отражённых и вторичных электронов, датчиков других вторичных сигналов с блоком формирования видеосигнала и электронным видеоблоком для наблюдения и фотографирования изображения (рис. 9, 10).

 

Рис. 10. Схема растрового электронного микроскопа:

1 - термоэмиссионный катод; 2 - управляющий электрод; 3 - анод, 4 – ЭЛТ(электронно-лучевая трубка) для наблюдения; 5 - ЭЛТ для фотографирования; 6, 7 - первая и вторая конденсорная линзы; 8 - отклоняющие катушки; 9 – стигматор; 10 - объективная линза; 11 - объективная диафрагма; 12 - электронный пучок; 13 - генератор развёртки электронного луча микроскопа и ЭЛТ видеоблока; 14 - сцинтиллятор; 15 – светопровод; 16 – ФЭУ(фотоэлектронный умножитель); 17 – видеоусилитель; 18 – исследуемый образец; 19 – регистрируемый сигнал (оптический, рентгеновский или электронный)

 

В РЭМ необходимо применять излучающую систему, формирующую на образце пятно очень малого размера и позволяющую перемещать его по всей поверхности образца. Вследствие того, что диаметр пучка электронов поддерживается в пределах нескольких микрометров на достаточно большом расстоянии от поверхности образца, глубина резкости велика, что очень важно при исследовании рельефных поверхностей микрообъектов (рис. 6). Эта особенность РЭМ, которой полностью лишены световые и просвечивающие электронные микроскопы, обеспечивает РЭМ большое практическое значение и при небольших увеличениях (рис. 11).

Плюсы данных методов микроскопии заключаются в исключительной способности увеличения, которая может достигать размеров атома, которая помогает в исследованиях поверхностей практически любых материалов, но при всех достоинствах так же присутствуют существенные недостатки. А именно: электронные микроскопы дороги в производстве и обслуживании, но общая и эксплуатационная стоимость конфокального оптического микроскопа сравнима с базовыми электронными микроскопами. Микроскопы высокого разрешения должны содержаться в стабильных(без вибраций) помещениях, зачастую под землей, и без внешних электромагнитных полей. В большинстве случаев образцы должны наблюдаться под вакуумом, так как молекулы атмосферы иначе будут рассеивать электроны.

 

2.3 Современная аналитическая приборная база

2.3.1 Растровый электронный микроскоп РЭМ-2000М

 

РЭМ-2000М — растровый измерительный электронный микроскоп с камерой низкого вакуума для исследований в материаловедении, нанотехнологиях, физике, химии, геологии, микроэлектронике, биологии, медицине и др. областях с гарантированными метрологическими параметрами измерений линейных размеров субмикронного диапазона и массовой доли элементов в составе исследуемых объектов.

 

Рис..Растровый электронный микроскоп РЭМ-2000М

 

Данный электронный микроскоп соответствует жестким требованиям максимальной механической, тепловой и электрической стабильности, так же, как точным юстировкам усовершенствованных компонентов.

2.3.2 Растровый электронный микроскопPhenom (FEI Company)

 

Phenom — уникальный прибор для получения изображения, вносящий новую размерность в микроскопию. Phenom делает получение изображения высокого разрешения практическим и доступным для промышленных и исследовательских лабораторий.

Рис.. Растровый электронный микроскопPhenom (FEI Company)

 

Микроскоп обеспечивает связующее звено между электронной и световой микроскопией, предлагая лучшее от обеих путем комбинации световой и электронно-оптической технологий в одну интегрированную, легкую в обращении микроскопную систему. Это идельный прибор в помощь исследователям в их новаторских поисках, а также преподавателям для объяснения научных концепций студентам. Высокое качество изображения, обеспечиваемое микроскопом PHENOM, поможет создать новые пути повышения еффективности производства и ускорить причинно-следственный анализ.

 

2.3.3 Растровый электронный микроскоп JEOL JSM-7600F

 

JSM-7600F – новейшая модель в линейке сканирующих электронных микроскоп JEOL, в которой реализованы все последние достижения в технологии электронной оптики JEOL. Термополевой катод (Шоттки), объективная линза с низкими аберрациями и высокая стабильность обеспечивают высокое разрешение и тонкий зонд даже при высоких токах пучка (свыше 200нА при 15кВ). Это идеальное решение для исследования и анализа наноструктур.

Рис.. Растровый электронный микроскоп JEOL JSM-7600F

 

Многозадачный, высокоэффективный СЭМ с низким энергопотреблением (1, 2 кВА) снабжен уникальной комбинацией пушки «In-lens», позволяющей эффективно собирать все электроны и поддерживать высокий ток пучка, подогревного автоэмиссионного катода и линзы с оптимальным углом апертуры для формирования тонкого зонда, даже при высоких токах. Встроенный r-фильтр позволяет смешивать сигналы детекторов вторичных и отраженных электронов, делая анализ изображений еще более эффективным. Маленький размер зонда гарантируется даже при низких ускоряющих напряжениях и высоких токах. На колонну микроскопа могут быть установлены все типы аналитических приставок, например, EDS, WDS, EBSD, CL. Маленький диаметр зонда и оптимальные условия позволяют элементный анализ образцов с размерами анализируемой области в несколько десятков нанометров.

 

2.3.4 Растровый электронный микроскоп высокого разрешения JEOL JSM-7800F

 

JSM 7800F растровый электронный микроскоп высокого разрешения с катодом Шоттки и супергибридной объективной линзой. В этом микроскопе реализованы последние достижения в технологии электронной оптики, что позволяет получать на данном микроскопе изображения с очень высоким разрешением. Микроскоп JSM 7800F является уникальным исследовательским инструментом для исследования в различных областях науки.

 

Рис.. Растровый электронный микроскоп высокого разрешения JEOL JSM-7800F

 

JSM 7800F растровый электронный микроскоп высокого разрешения с катодом Шоттки и супергибридной объективной линзой. В этом микроскопе реализованы последние достижения в технологии электронной оптики, что позволяет получать на данном микроскопе изображения с очень высоким разрешением. Микроскоп JSM 7800F является уникальным исследовательским инструментом для исследования в различных областях науки.

 


Поделиться с друзьями:

mylektsii.su - Мои Лекции - 2015-2026 год. (1.198 сек.)Все материалы представленные на сайте исключительно с целью ознакомления читателями и не преследуют коммерческих целей или нарушение авторских прав Пожаловаться на материал