Студопедия

Главная страница Случайная страница

КАТЕГОРИИ:

АвтомобилиАстрономияБиологияГеографияДом и садДругие языкиДругоеИнформатикаИсторияКультураЛитератураЛогикаМатематикаМедицинаМеталлургияМеханикаОбразованиеОхрана трудаПедагогикаПолитикаПравоПсихологияРелигияРиторикаСоциологияСпортСтроительствоТехнологияТуризмФизикаФилософияФинансыХимияЧерчениеЭкологияЭкономикаЭлектроника






Транспортеры






Транспортеры относятся к машинам “непрерывного” транспорта для перемещения насыпных или штучных грузов непрерывным потоком. Для комплексной механизации в строительстве широко применяют различные виды транспортеров: ленточные, скребковые, пластинчатые, роликовые, винтовые.

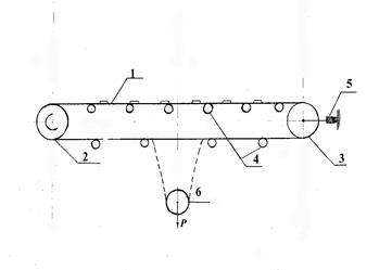
Конвейерная лента (1) ленточного транспортера (рис. 2.17) огибает приводной (2) и натяжной (3) барабаны, установленные в противоположных концах пролета, а в пролете между ними опирается на ряд роликовых опор (4), которые монтируются на раме. Привод ведущего барабана осуществляется от электродвигателя через редуктор. Двигатель и редуктор установлены на раме. Передвижные ленточные транспортеры выполняются длиной от 5 до 20 м, стационарные – до нескольких сотен метров.

Натяжной барабан перемещается с помощью специального устройства (5). Натяжение ленты может осуществляться (для стационарных транспортеров) дополнительным барабаном (6) с грузом.

Несущим элементом ленточного транспортера является многослойная (3-10 слоев) прорезиненная лента из прочной хлопчатобумажной ткани шириной от 300 до 1400 мм. Для укрепления ленты используют нейлоновые прокладки и стальные тросики, запрессованные между слоями ленты. Транспортеры могут быть либо горизонтальными, либо наклонными (для транспортирования инертных составляющих бетонных смесей – до 18 град.).

Рис. 2.17. Ленточный транспортер:

1 – конвейерная лента, 2 – приводной барабан, 3 – натяжной барабан, 4 – роликовые опоры, 5 – натяжное устройство,

6 – дополнительный барабан с грузом

 

Пластинчатые, скребковые и ковшовые транспортеры используют в качестве тягового органа одну или две бесконечные цепи, установленные на ведущих и ведомых звездочках.

У пластинчатых транспортеров, применяемых для транспортирования горячих или острокусковых материалов, на цепях закрепляются настилы из гладких или фигурных металлических пластин (пример – эскалатор), у скребковых, используемых для транспортирования сыпучих материалов, на цепях закреплены скребки, а сами цепи помещены в открытый желоб. Ковшовые элеваторы (нории) состоят из цепи (или ленты), на которой через определенные расстояния укреплены ковши. Ковшовые элеваторы используют для транспортирования сыпучих материалов в вертикальном или крутонаклонном направлениях.

Роликовые конвейеры (рольганги) – рама с установленными на ней роликами. Бывают приводные, т. е. имеющие механический привод, и неприводные, т.е. такие, по которым груз перемещается вручную.

Винтовые конвейеры (шнеки) применяют для транспортирования цемента, гравия, песка, шлака, мокрой глины, бетонной смеси на расстояние 30-40 м под углом до 45 град. Винтовой конвейер представляет собой винт, заключенный в кожух. При вращении винта материал перемещается вдоль его оси.

 


Поделиться с друзьями:

mylektsii.su - Мои Лекции - 2015-2026 год. (0.156 сек.)Все материалы представленные на сайте исключительно с целью ознакомления читателями и не преследуют коммерческих целей или нарушение авторских прав Пожаловаться на материал