Студопедия

Главная страница Случайная страница

КАТЕГОРИИ:

АвтомобилиАстрономияБиологияГеографияДом и садДругие языкиДругоеИнформатикаИсторияКультураЛитератураЛогикаМатематикаМедицинаМеталлургияМеханикаОбразованиеОхрана трудаПедагогикаПолитикаПравоПсихологияРелигияРиторикаСоциологияСпортСтроительствоТехнологияТуризмФизикаФилософияФинансыХимияЧерчениеЭкологияЭкономикаЭлектроника






Установка столярных изделий в каменных зданиях






Столярные изделия поступают комплектами в контейнерах в процессе возведения здания. Комплект изделий определяется планировкой помещений. Масса груженого контейнера должна быль согласована с грузоподъемностью монтажного крана. Таким образом поставляют оконные и дверные блоки, встроенные шкафы, антресоли, подоконные доски. Окрашенные за один раз изделия с комплектом приборов и комплектующих материалов поставляют в виде плоских заготовок-блоков.

Оконные и дверные блоки устанавливают в проектное положение в процессе возведения стен или в готовые проемы. При установке и временном закреплении оконных блоков основными выверочными операциями являются центрирование блока по оси, которая должна совпадать с осью блока в нижних этажах; выверка глубины установки блока от наружной поверхности стены; выверка вертикальности блока; установка низа блока горизонтально по уровню. По периметру блока устраивают изоляцию. В процесс установки блоков включаются операции закрепления его в проеме и уплотнение зазора между ними стеной. Крепится блок металлическими ершами, забиваемыми в специально установленные для этой цели деревянные антисептированные пробки, а стык уплотняется монтажной пеной или смоченной в гипсовом растворе паклей. Заканчивается заполнение оконных и дверных проемов устройством откосов – штукатурных или пластмассовых.

В соответствии с требованиями ГОСТ 3071-2002 «Швы монтажные узлов примыкания оконных блоков к стеновым проемам» конструкции монтажных швов узлов примыкания оконных блоков к стеновым проемам классифицируют по следующим эксплуатационным характеристикам:

- сопротивлению теплопередаче;

- стойкости к силовым эксплуатационным воздействиям;

- воздухопроницаемости;

- водопроницаемости;

- звукоизоляции;

- паропроницаемости.

Монтажный шов должен состоять из трех слоев, которые подразделяют по основному функциональному назначению:

наружный – водоизоляционный, паропроницаемый;

центральный – теплоизоляционный;

внутренний – пароизоляционный.

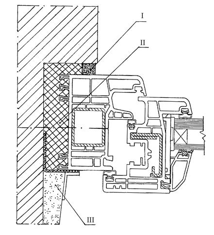
Каждый из слоев монтажного шва может, кроме основных, выполнять и дополнительные функции (например, наружный слой может иметь существенное сопротивление теплопередаче), что необходимо учитывать при определении расчетных характеристик конструкции. Принципиальная схема монтажного шва показана на рисунке 10.5.

Конструкции монтажных швов должны быть устойчивы к различным эксплуатационным воздействиям: атмосферным факторам, температурно-влажностным воздействиям со стороны помещения, силовым (температурным, усадочным и др.) деформациям.

В зависимости от конфигурации поверхностей стеновых проемов монтажные швы могут быть прямыми (оконный проем без четверти) или угловыми (оконный проем с четвертью).

С наружной стороны монтажные швы могут быть защищены специальными профильными деталями: дождезащитными нащельниками, звукоизоляционными накладками и др.

С внутренней стороны монтажные швы могут быть закрыты штукатурным слоем или деталями облицовки оконных откосов.

Наружный слой монтажного шва должен быть водонепроницаем от дождевого воздействия при заданном (расчетном) перепаде давления между наружной и внутренней поверхностями монтажного шва.

Для устройства наружного слоя рекомендуется применение материалов, обладающих адгезией к поверхности оконных проемов и коробок оконных блоков. Изоляционные материалы наружного слоя (не защищенные при эксплуатации от воздействия солнечных лучей) должны быть устойчивы к УФ облучению. Материалы наружного слоя не должны препятствовать удалению парообразной влаги из центрального слоя шва.

Центральный изоляционный слой должен обеспечивать требуемое сопротивление теплопередаче монтажного шва. Заполнение монтажного шва теплоизоляционными материалами должно быть сплошным по сечению, без пустот, разрывов, щелей и переливов. Расслоения, сквозные зазоры, щели, а также раковины с наибольшим размером 10 мм не допускаются. В необходимых случаях для предотвращения воздействия влаги со стороны стенового проема на центральный изоляционный слой (в плоскости возможного конденсатообразования) допускается установка пароизоляционной ленты между внутренней поверхностью стенового проема и монтажным швом.

Рисунок 10.5. Принципиальная схема монтажного шва:

I – наружный водоизоляционный паропроницаемый слой;

II – центральный теплоизоляционный слой;


Поделиться с друзьями:

mylektsii.su - Мои Лекции - 2015-2026 год. (0.406 сек.)Все материалы представленные на сайте исключительно с целью ознакомления читателями и не преследуют коммерческих целей или нарушение авторских прав Пожаловаться на материал