Студопедия

Главная страница Случайная страница

КАТЕГОРИИ:

АвтомобилиАстрономияБиологияГеографияДом и садДругие языкиДругоеИнформатикаИсторияКультураЛитератураЛогикаМатематикаМедицинаМеталлургияМеханикаОбразованиеОхрана трудаПедагогикаПолитикаПравоПсихологияРелигияРиторикаСоциологияСпортСтроительствоТехнологияТуризмФизикаФилософияФинансыХимияЧерчениеЭкологияЭкономикаЭлектроника






Буроваяплатформа в Северном море






Гравитационные железобетонные платформы применяют на глубинах от 100 до 200 м. Гравитационные платформы устанавливаются на морское дно без креплений. Такие платформы могут состоять из кессона и опорных колонн из железобетона, на которые устанавливают стальное верхнее строение с оборудованием. Масса бетона может достигать нескольких сотен тысяч тонн, а площадь опорной плоскости – 15 тыс. м2. Они более долговечны, изготавливаются на берегу и на плаву доставляются буксирами на место установки. Емкости основания можно использовать для хранения нефти. Буровой инструмент проходит внутри колонны, поэтому уменьшен риск загрязнения моря. Гравитационные платформы изготавливаются целиком из железобетона либо комбинированными (опоры из металла, башмаки из железобетона) и удерживаются за счёт массы сооружения. Основания гравитационной буровой платформы состоят из 1-4 колонн диаметром 5-10 м.

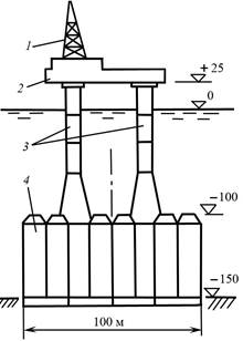
Условная схема глубоководной платформы гравитационного типа приведена на рисунке.

Глубоководная платформа гравитационного типа:

1 – буровая; 2 – верхнее строение; 3 – ж/б колонны; 4 – опорная часть –

ж/б понтон 100× 100 м, разделенный на 64 отсека

Платформы всех типов используются российскими фирмами при добыче нефти и газа. В частности, компания «Лукойл» ведет работы на Каспийском море.

При освоении континентального шельфа северных морей возникают дополнительные трудности из-за тяжелых ледовых условий. Для преодоления трудностей применяют два различных подхода.

Первый – строительство искусственных островов. Такой способ применим, если глубины небольшие. В 1983 году в море Бофорта на северном побережье Аляски (США) построен искусственный остров. При средней глубине 20 м сначала было сделано так называемое «обмеление» до отметки минус 9 м, потом были подведены на плаву и затоплены 8 металлических понтонов и пространство между ними замыто песком до отметки плюс 3 м. Верх понтонов снабжен наклонным парапетом высотой 4, 5 м для отражения волн и льда.


Поделиться с друзьями:

mylektsii.su - Мои Лекции - 2015-2026 год. (2.038 сек.)Все материалы представленные на сайте исключительно с целью ознакомления читателями и не преследуют коммерческих целей или нарушение авторских прав Пожаловаться на материал