Студопедия

Главная страница Случайная страница

КАТЕГОРИИ:

АвтомобилиАстрономияБиологияГеографияДом и садДругие языкиДругоеИнформатикаИсторияКультураЛитератураЛогикаМатематикаМедицинаМеталлургияМеханикаОбразованиеОхрана трудаПедагогикаПолитикаПравоПсихологияРелигияРиторикаСоциологияСпортСтроительствоТехнологияТуризмФизикаФилософияФинансыХимияЧерчениеЭкологияЭкономикаЭлектроника






Методы испытаний. 7.1 Методы испытаний материалов при входном контроле качества устанавливают в технологической документации с учетом требований НД на эти материалы






7.1 Методы испытаний материалов при входном контроле качества устанавливают в технологической документации с учетом требований НД на эти материалы. Методы испытаний при производственном операционном контроле качества устанавливают в технологической документации с учетом требований настоящего стандарта.

7.2 Подготовку поверхностей оконных проемов (5.7) оценивают визуально. Геометрические размеры монтажных зазоров и размеры дефектов измеряют при помощи рулетки по ГОСТ 7502, линейки по ГОСТ 427, штангенциркуля по ГОСТ 166 с использованием методов по ГОСТ 26433.0 и ГОСТ 26433.1.

7.3 При измерении отклонений от отвесной линии (вертикали) и горизонтального уровня соответствующих поверхностей оконных проемов и конструкций следует пользоваться правилами измерений по ГОСТ 26433.2.

7.4 Внешний вид и качество установки лент, прокладок, укладки пенного утеплителя и герметиков оценивают визуально с расстояния 400 - 600 мм при освещенности не менее 300 лк.

7.5 Определение прочности сцепления (адгезии) герметизирующих лент и прокладок к элементам конструкций при приемосдаточных испытаниях при производстве работ осуществляют в такой последовательности:

с помощью специального режущего инструмента (например, резака) подрезают край ленты, установленной на поверхность монтажного стыка;

край ленты зажимают в специальном захвате и через динамометр отрывают по нормали к поверхности сцепления, фиксируя при этом силу отрыва.

Отслоение ленты должно происходить при усилии не менее 0, 3 кгс/см.

7.6 Методы квалификационных и периодических лабораторных испытаний

(Поправка, ИУС № 10 2005 г.).

7.6.1 Сопротивление теплопередаче монтажных швов определяют расчетным методом как сумму термических сопротивлений отдельных слоев с учетом коэффициентов теплопередачи внутренней и наружной поверхностей стены или при лабораторных испытаниях по ГОСТ 26602.1. При этом коэффициент теплопроводности применяемых материалов принимают по результатам испытаний по ГОСТ 7076 или другой нормативной документации. Оценку температурного режима узлов примыкания оконного блока к стеновому проему проводят путем проведения лабораторных испытаний или расчетным методом по методикам, утвержденным в установленном порядке, с учетом положений приложения Г.

7.6.2 Воздухо-, водопроницаемость монтажных швов определяют по ГОСТ 26602.2.

Испытания проводят с использованием специального устройства, конструкция которого представлена на рисунке 3. Устройство представляет из себя кассету (например, деревянную) с установленной в нее глухой панелью. Внутренний профиль брусков кассеты имитирует размеры и конфигурацию откосов оконного проема.

0430S10-04736

А, В, Н - размеры панели; s, h - размеры зазоров под монтажный шов; 1 - кассета с накладными брусками; 2 - накладные бруски; 3 - паронепроницаемая лента; 4 - пенный утеплитель; 5 - коробка панели; 6 - заполнение панели (например, звукоизоляционный материал); 7 - звукопоглощающая прокладка; 8 - обшивка панели; 9 - водоизоляционная прокладка

Рисунок 3 - Устройство для испытаний монтажных швов на воздухо-, водопроницаемость и звукоизоляцию

Панель представляет из себя коробку оконного блока, обшитую с двух сторон листовым материалом (например, водостойкой фанерой по НД).

Поверхности кассеты и панели должны иметь водостойкое покрытие.

Зазор между кассетой и образцом оконного блока, а также конструкцию и технологию устройства монтажного шва принимают согласно конструктивному решению узла примыкания.

Устройство устанавливают в проем испытательной камеры на герметизирующих прокладках.

Условия проведения испытаний уточняют в программе испытаний.

7.6.3 Звукоизоляцию определяют по ГОСТ 26602.3. Для проведения испытания используют устройство по 7.6.2. Внутренний объем панели обшивают листовым звукопоглощающим материалом и заполняют сухим песком. Устройство устанавливают в проем испытательной камеры на звукоизоляционной замазке. Конструктивное решение панели должно обеспечивать звукоизоляцию не менее 40 дБА.

7.6.4 Устойчивость наружного изоляционного слоя к воздействию ультрафиолетового облучения определяют, используя режим испытаний, приведенный в ГОСТ 30673 (облучение в аппарате «Ксенотест»). Испытания проводят на трех образцах материалов изоляционного слоя длиной не менее 200 мм. Результат испытания признают удовлетворительным, если после испытаний на поверхности каждого образца отсутствуют разрывы, трещины, раковины, расслоения и потеки.

7.6.5 Сопротивление паропроницанию и паропроницаемость материалов монтажного шва определяют по ГОСТ 25898.

7.6.6 Водопоглощение утеплителей определяют по ГОСТ 17177.

7.6.7 Сопротивление отслаиванию (адгезионную прочность) пленочных и ленточных материалов наружного и внутреннего изоляционных слоев определяют по ГОСТ 10174. Прочность сцепления герметиков с основой определяют по ГОСТ 26589, метод Б (при этом один из склеиваемых образцов изготавливают из алюминиевого сплава или поливинилхлорида толщиной 3 - 5 мм).

7.6.8 Для определения адгезионной прочности пенных утеплителей устанавливают величину усилия, требуемого для разрушения связи между утеплителем и конструкционным материалом при действии растягивающих сил, направленных перпендикулярно плоскости контакта.

Число образцов для испытаний - не менее 5.

7.6.8.1 Аппаратура и приспособления

Машина разрывная, обеспечивающая разрушение образца со скоростью движения активного захвата (10 ± 1) мм/мин и позволяющая измерить значение разрушающего усилия с погрешностью не более 1 %.

Специальное приспособление, устанавливаемое в зажимах испытательной машины. Приспособление должно обеспечивать совпадение продольной оси образца с направлением прилагаемого усилия.

7.6.8.2 Образцы для испытаний

Образцы изготавливают путем заливки и вспенивания утеплителя в металлической форме с внутренним диаметром (51 ± 0, 5) мм и высотой не менее 30 мм, в днище которой укреплен диск из конструкционного материала (например, из поливинилхлорида или алюминиевого сплава). Внутренние цилиндрические поверхности формы смазывают консистентной смазкой. Поверхность диска должна быть обезжирена.

После вспенивания и отвердевания образец утеплителя вынимают из формы и путем механической обработки доводят до размеров: по диаметру - (50 ± 0, 5) мм, по высоте - (30 ± 1) мм. Допускается использовать прямоугольные образцы размером [(50 ´ 50 ´ 30) ± 0, 5] мм. Полученные таким образом два образца попарно склеиваются эпоксидным клеем.

7.6.8.3 Порядок проведения и обработка результатов испытания

Склеенный образец с помощью приспособлений устанавливают в зажимах машины. Испытания проводят при температуре (20 ± 2) °С и при скорости движения захватов машины (10 ± 1) мм/мин.

Растяжение проводят до разрушения или отслоения образца от подложки, при этом фиксируют наибольшую нагрузку, достигнутую при испытаниях.

Обе части испытанного образца подвергают визуальному осмотру для определения характера разрушения (по утеплителю, адгезионному шву или смешанного характера).

Прочность сцепления утеплителя с конструкционным материалом s, МПа (кгс/см2), вычисляют по формуле

(1)

где Р max - максимальное усилие при отрыве или разрушении образца, кгс.

S - площадь поперечного сечения образца, см2.

За результат испытаний принимают среднеарифметическое значение результатов испытаний образцов.

7.6.9 Деформационную устойчивость монтажного шва определяют по максимальной величине его деформации под воздействием силы, направленной перпендикулярно к плоскости монтажного шва, при которой сохраняется его целостность. В обоснованных случаях допускается проводить этот вид испытаний монтажного шва на пенном утеплителе.

Число образцов для испытаний - не менее трех.

7.6.9.1 Аппаратура и приспособления

Машина разрывная, обеспечивающая разрушение образца со скоростью движения активного захвата (10 ± 1) мм/мин и позволяющая устанавливать значение разрушающего усилия с погрешностью не более 1 %.

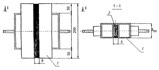
Специальное приспособление с обоймой для размещения образцов монтажного шва. Приспособление при проведении испытаний должно обеспечивать совпадение поперечной оси образца с направлением прилагаемого усилия (рисунок 4).

Специальное устройство для подготовки образцов пенного утеплителя и их установки в испытательной машине (схема устройства представлена на рисунке 4а).

7.6.9.2 Образцы для испытаний

Образцы монтажного шва для проведения испытаний получают путем послойного заполнения обоймы специального приспособления изоляционными материалами в соответствии с проектно-конструкторским решением и технологией производства монтажных работ (рисунок 4).

0430S10-04736

b - толщина шва; 1 - обойма из алюминия или нержавеющей стали толщиной 3 мм; 2 - образец испытываемого монтажного шва

Рисунок 4 - Схема приспособления для испытания монтажных швов на деформационную устойчивость

0430S10-04736

I - положение пластин при заданной (начальной) толщине образца (h 1);

II - положение пластин при наибольшем сжатии образца (h 2);

III - положение пластин при наибольшем растяжении образца (h 3);

1 - корпус устройства; 2 - образец материала; 3 - алюминиевые пластины толщиной не менее 2, 0 мм; 4 - смазка

Рисунок 4а - Схема устройства для подготовки образцов и испытания пенного утеплителя на деформационную устойчивость

Образцы пенного утеплителя для проведения испытаний получают путем заполнения им корпуса устройства, представленного на рисунке 4а. Внутренний диаметр корпуса, определяющий размер образца - (60 + 0, 2) мм, высота внутренней полости корпуса - 30 мм (без учета толщины ограничительных пластин). Внутренняя поверхность корпуса должна быть смазана консистентной смазкой. На дно корпуса устройства до заливки пены устанавливают алюминиевую пластину диаметром (60 - 0, 2) мм. Вторую пластину диаметром (65 - 0, 5) мм устанавливают в верхней части корпуса в виде крышки и жестко фиксируют любым способом. Заливку пены производят в отверстие диаметром 8 мм в боковой стенке корпуса. Для удаления излишка пены предусматривают такое же отверстие с другой стороны корпуса. После заливки пены образец выдерживают не менее суток, после чего образец вынимают из корпуса.

7.6.9.3 Порядок проведения испытания

Обойму с образцом монтажного шва (или образец пенного утеплителя, представляющий собой цилиндр отвердевшей пены, зажатый между двумя алюминиевыми пластинами) устанавливают в захватах машины. Испытание проводят при температуре (20 ± 2) °С путем последовательных растяжений и сжатий образца. Величину растяжения и сжатия в миллиметрах устанавливают исходя из назначения монтажного шва. Производят не менее 20 циклов растяжения - сжатия образца. Между каждым циклом производят выдержку образца без нагрузки не менее 20 мин.

7.6.9.4 Оценка результатов испытания

После завершения испытания визуально осматривают поверхности образцов. Результат испытания признают удовлетворительным, если каждый образец не имеет сквозных расслоений и разрушений.

Деформационную устойчивость j, %, определяют по формуле

(2)

где  h - размер перемещения пуансона (разница между толщиной образца при растяжении и сжатии), мм;

h 1 - заданная (начальная) толщина образца, мм.

7.6.10 Устойчивость монтажного шва к воздействию эксплуатационных температур определяют по материалам наружного изоляционного слоя. Оценку морозостойкости производят по температуре хрупкости по ГОСТ 7912 (диаметр изгиба 400 мм) и теплостойкости по ГОСТ 2678.

7.6.11 Долговечность (срок службы) монтажного шва определяют по НД и методикам, утвержденным в установленном порядке. Совместимость материалов подтверждают испытаниями на долговечность монтажного шва.


Поделиться с друзьями:

mylektsii.su - Мои Лекции - 2015-2026 год. (1.664 сек.)Все материалы представленные на сайте исключительно с целью ознакомления читателями и не преследуют коммерческих целей или нарушение авторских прав Пожаловаться на материал