Студопедия

Главная страница Случайная страница

КАТЕГОРИИ:

АвтомобилиАстрономияБиологияГеографияДом и садДругие языкиДругоеИнформатикаИсторияКультураЛитератураЛогикаМатематикаМедицинаМеталлургияМеханикаОбразованиеОхрана трудаПедагогикаПолитикаПравоПсихологияРелигияРиторикаСоциологияСпортСтроительствоТехнологияТуризмФизикаФилософияФинансыХимияЧерчениеЭкологияЭкономикаЭлектроника






Монтаж конструкций при использовании одиночных кондукторов

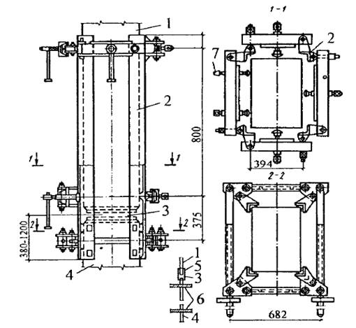
При наличии монтажной оснастки в виде одиночных кондукторов (рис. 11.1) монтаж каркаса лучше выполнять по раздельной схеме. Сначала в пределах монтажного участка устанавливают все колонны, выверяют их, закрепляют на сварке и заделывают стыки.

Рис. 11.1. Одиночный кондуктор для колонн многоэтажных зданий: 1 — монтируемая колонна; 2 — уголковая стойка кондуктора; 3 — стык колонн; 4 — нижестоящая колонна; 5 — одиночный кондуктор; 6 — междуэтажное перекрытие; 7 — регулировочные винты для установки и выверки колонн

После установки ригелей, сварки и замоноличивания их узлов приступают к монтажу элементов лестничных клеток и укладке плит перекрытий. Сначала укладывают распорные плиты между колоннами, затем основные или промежуточные. Все плиты надежно приваривают к ригелям и швы между элементами заделывают бетоном. К монтажу конструкций следующего яруса приступают после достижения бетоном в швах не менее 70% проектной прочности.

 

Для выполнения сварочных работ кондуктор может быть снабжен специальной площадкой. Для монтажа колонн со стыком выше уровня перекрытия используют кондуктор с роликами на концах, что позволяет снизить силы трения и осуществить установку колонн первоначально в положение, близкое к проектному. Корректируют положение колонны с помощью регулировочных винтов кондуктора.

Собирать элементы каркаса следует поэтажно. До установки колонн на каждом ярусе на оголовках нижестоящих колонн закрепляют с помощью винтов кондукторы. Поднятую краном колонну заводят в хомуты кондуктора и плавно опускают на оголовок нижестоящей колонны. Колонны приводят в проектное положение с помощью винтов кондуктора, обеспечивая соосность устанавливаемой и нижестоящих колонн. По вертикали их выверяют с помощью верхних винтов кондуктора. Точность приведения колонны в вертикальное положение контролируют теодолитом по двум осям. Несоосность установленных и нижестоящих колонн после выверки не должна превышать 5 мм, а отклонение их от вертикали не более 3 мм.

После выверки приступают к укладке ригелей первого этажа яруса колонн и сварке закладных деталей ригелей и ко­лонн. Кондукторы можно переставлять на следующую позицию только после сварки стыков колонн, укладки и сварки ригелей, укладки распорных и основных плит перекрытия. В случае применения сборных перегородок последние устанавливают до укладки рядовых плит перекрытия.

После окончания монтажа и сварки всех элементов первого этажа яруса приступают к монтажу элементов второго этажа того же яруса.

<== предыдущая лекция | следующая лекция ==>
Определите номинальный состав бетона и массу бетонной смеси при заданных показателях. | Повторять до тех пор, пока браслет достаточно долго. Помните, что это свободные и там будет пространство между узлами, что вы делаете. Удачи!
Поделиться с друзьями:

mylektsii.su - Мои Лекции - 2015-2026 год. (1.257 сек.)Все материалы представленные на сайте исключительно с целью ознакомления читателями и не преследуют коммерческих целей или нарушение авторских прав Пожаловаться на материал