Студопедия

Главная страница Случайная страница

КАТЕГОРИИ:

АвтомобилиАстрономияБиологияГеографияДом и садДругие языкиДругоеИнформатикаИсторияКультураЛитератураЛогикаМатематикаМедицинаМеталлургияМеханикаОбразованиеОхрана трудаПедагогикаПолитикаПравоПсихологияРелигияРиторикаСоциологияСпортСтроительствоТехнологияТуризмФизикаФилософияФинансыХимияЧерчениеЭкологияЭкономикаЭлектроника






Выполнения студентами научной работы.






 

1. Размещение промышленных предприятий с учетом условий охраны окружающей среды.

2. Исследование и выбор наиболее рациональных объемно-планировочных и конструктивных решений зданий масложировой промышленности.

3. Исследование и выбор наиболее рациональных объемно-планировочных и конструктивных решений зданий хлебопекарного, кондитерского и макаронного производств.

4. Исследование и выбор наиболее рациональных объемно-планировочных и конструктивных решений предприятий винодельческой промышленности.

5. Исследование и выбор наиболее рациональных объемно-планировочных и конструктивных решений зданий консервных предприятий.

6. Исследование и выбор наиболее рациональных объемно-планировочных и конструктивных решений зданий предприятий бродильной промышленности.

7. Исследование применяемых методов и оборудования при очистке сточных вод сахарного производства.

8. Исследование вопросов утилизации и переработки отходов сахарной промышленности.

9. Исследование эффективности работы оборудования при химической очистке сточных вод.

10. Эффективность применения легких металлических несущих и ограждающих конструкций зданий для предприятий пищевой промышленности.

11. Применение новых строительных материалов при строительстве предприятий пищевой промышленности.

12. Выбор и обоснование оптимальных вариантов систем отопления (вентиляции) для предприятий:

хлебопекарной; кондитерской; масложировой; винодельческой промышленности.

13. Исследование и обоснование возможности максимальной блокировки зданий на промышленной площадке пищевых предприятий.

14. Исследование вопросов производственной эстетики зданий пищевой промышленности (на примере любой отрасли промышленности).

15. Исследование и выбор эффективности материалов для внутренней отделки зданий консервной промышленности (хлебопекарной, кондитерской и пр.).

Работа по выполненной теме оформляется в виде реферата на 15 - 20 страницах с вычерчиванием схем, рисунков, таблиц.

Реферат должен содержать следующие разделы:

1. Анализ существующих методов (решений, проектов) и цель исследований (по литературным данным).

2. Исследование (описание) новых и предлагаемых решений.

3. Технико-экономическая эффективность предлагаемых методов (решений).

4. Выводы и предложения.

5. Используемая литература.

 

Приложение 1

 

 

 

Рис.1. Схема расположения изображений на чертеже (формат А24)

1 – план здания

2 – продольный разрез здания

3 – поперечный разрез здания

4, 5 – детали здания

6 – основная надпись (штамп)

 

 

Приложение 2

 

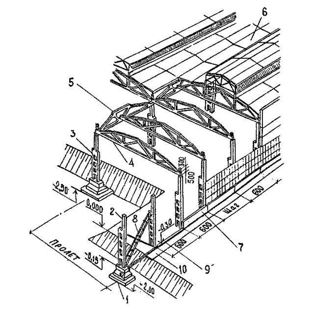
Рис.2. Одноэтажное многопролетное каркасное здание из

сборного железобетона

1 – фундаменты колонн;

2 – пристенная колонна;

3 – средняя колонна;

4 – ферма покрытия;

5 – подстропильная ферма;

6 – плиты покрытия;

7 – стеновая панель;

8 – вертикальные связи;

9 – фундаментная балка;

10 - отмостка

Рис. 3. Полный сборный железобетонный каркас многоэтажного промышленного здания с перекрытиями балочного типа

1 – колонна, 2 – ригель, 3 – плита перекрытия,

4 – вертикальные стальные связи, 5 – фундамент под колонну,

6 – фундаментная балка, 7 – несущая конструкция (балка) покрытия,

8 – плита покрытия

 

 

Рис. 4. Общий вид объемно-планировочного элемента здания из легких металлических конструкций комплектной поставки со структурными блоками покрытия из прокатных профилей типа ЦНИИСК

1 – структурный блок; 2 – колонна; 3 – стеновая панель;

4 – ригель стеновой; 5 – оконная панель; 6 – утеплитель; 7 - профилированный настил; 8 – водоизоляционный ковер; 9 – жалюзийная решетка;

10 – ворота; 11 – дверь; 12 – зенитный фонарь; 13 – крышный вентилятор; 14 – водосточная воронка; 15 – цокольная панель.

 

 

Рис. 5. Элемент складки структурного покрытия типа ЦНИИСК

 

Рис. 6. Каркас здания с покрытием из плоских рам типа «Плауэн»:

1 – рама; 2 - прогон

 

 

 

Рис.8. Одноэтажное здание: а – без кранового оборудования с наружным водостоком; б – с подвесными кранами с внутренним водостоком

 

 

 

Рис. 10. Сборные железобетонные колонны производственных зданий:

I – для одноэтажных зданий; а, б – сплошные – для зданий без мостовых кранов; в, г – для зданий с мостовыми кранами; д, е – двухветвевые с мостовыми кранами; II – для многоэтажных зданий: а, б – с одноэтажной разрезкой; в, г – с двухэтажной разрезкой

 

 

 

 

 

Рис. 14. Железобетонные подстропильные фермы и балки покрытия

а – подстропильная ферма пролетом 12 м для скатных кровель;

б – то же для малоуклонных кровель; в – подстропильная балка;

г - подстропильная ферма в установленном положении

 

Рис. 15. Ригели междуэтажных перекрытий а – типа I; б – типа II

 

 

Рис. 16. Элементы балочного железобетонного каркаса:

а – колонны; б – ригели перекрытий пролетами 6 и 9 м; в – то же, пролетом 12 м; г – ребристые плиты перекрытий; д – то же, плоские пустотные; е – сопряжение ригеля с колоннами крайних и средних рядов, вариант опирания плит на полки ригеля; ж – то же, при опирании плит по верху ригеля

 

 

Рис. 17. Железобетонные ребристые плиты типа I

 

 

Рис. 18. Железобетонные ребристые плиты типа II

 

 

Рис. 19. Многоэтажное производственное здание с опиранием ребристых плит на полки ригелей

 

Рис. 20. Многоэтажное производственное здание с опиранием ребристых плит поверху ригелей

 

Рис. 21. Лестницы многоэтажных зданий

 

 

Приложение 3

Серия 1.020-1/83

 

Конструкция каркаса используется для многоэтажных общественных, производственных и вспомогательных зданий промышленных предприятий.

Каркас многоэтажного здания этой серии решен по связевой схеме с шарниром сопряжением ригелей и колонн.

Пространственная устойчивость зданий обеспечивается системой вертикальных устоев, объединенных горизонтальными дисками перекрытий. Вертикальными устоями служат связевые панели, образуемые сборными железобетонными диафрагмами жесткости или стальными связями, соединенными с примыкающими колоннами.

Пролеты зданий могут быть 3; 6; 7, 2 и 9м, шаг колонн 6; 7;, 2; 9м.

Высота этажей может приниматься: 2, 8; 3, 3; 3, 6; 4, 2; 4, 8; 6; 7, 2 м. с учетом требований технологического процесса, проводимого в здании.

Для общественных зданий этажностью до 5 этажей предусматривается сечение колонн 300´ 300 мм.

Для зданий повышенной этажности и малоэтажности с высокой нагрузкой на перекрытие, сечение колонн 400´ 400 мм. Колонны могут быть бесстыковые на всю высоту здания и стыкуемые между собой по высоте.

Лестничные клетки вне зависимости от габаритных схем зданий размещаются в модуле 3´ 6 м.

 

 

Рис. 23. План многоэтажного здания

 

 

Рис. 24. Продольный разрез многоэтажного здания серии 1.020 – 1/83

 

1 – колонна

 

2 – ригель

 

3 – ребристая плита

 

4 – крайний (пристенный) ригель

 

 

 

Рис. 25. Поперечный разрез здания серии 1.020 – 1/83

 

1 – колонна

 

2 – ригель

 

3 – ребристые плиты

 

 

 

 

 

Приложение 4

 

Примерный текст пояснительной записки и графической части контрольной работы.

 

Производственное здание для предприятий пищевой промышленности запроектировано многоэтажным (одноэтажным) с количеством этажей …. Сетка колонн принята …, высота этажей …, Ширина здания … м, длина … м.

Здание каркасное с самонесущими стенами из сборных железобетонных элементов серии (1.460 – 6 или 1.420 – 12, 1.020 – 1/83).

Каркас здания состоит из колонн, балок междуэтажных перекрытий и несущих конструкций покрытий (балок, ферм).

Колонны железобетонные сборные сечением … мм.

Фундаменты под колонны ступенчатые. Глубина заложения … м. Под стены укладываются фундаментальные балки.

Междуэтажные перекрытие сборные балочного типа (безбалочные). Несущими конструкциями служат ригели типа I и типа П. Настил из ребристых железобетонных плит основных размером 1, 5× 6 м и доборных размеров 0, 75× 6 м, укладываемых у продольных стен (из гладких многопустотных плит).

Покрытие запроектировано из сборных типовых элементов. Несущими конструкциями служат ригели (двухскатные предварительно напряженные балки, балки с параллельными поясами, металлические фермы, железобетонные фермы пролетом … м).

Настил из железобетонных ребристых плит размером 3× 6 м (3× 12 м).

Пароизоляция осуществляется из одного слоя пергамина по-битумной мастике.

Теплоизоляция проектируется из слоя пенобетонных (газобетонных) плит толщиной 200 – 250 мм.

Выравнивающий слой укладывается из цементного раствора (асфальтового раствора) толщиной 20 - 30 мм.

Кровля в виде рулонного ковра состоит из двух слоев пергамина и двух слоев рубероида (одного слоя пергамина и двух слоев гидроизола), проклеенных битумной мастикой.

Защитный слой из светлого гравия по битумной мастике.

Стены здания запроектированы из крупных керамзитобетонных панелей (железобетонных утепленных панелей) размером 1, 2× 6 и 1, 8× 6 м (стены из кирпича толщиной … м).

Освещение помещений предусматривается через оконные проемы размерами … м (с помощью ленточного остекления).

Внутренняя отделка производственных помещений осуществляется путем облицовки стен глазурованными плитками. В подсобно-производственных и складских помещениях стены окрашиваются масляными или водно-эмульсионными составами.

Покрытия полов из керамических плиток, в складских помещениях асфальтобетонные (цементные).

Лестницы запроектированы из сборных крупноразмерных элементов маршей и лестничных площадок. Стены лестничных клеток – кирпичные, фундаменты – ленточные.

В здании запроектирован грузовой лифт.

 

Приложение 5

 

Расчетные параметры наружного воздуха и продолжительность отопительного периода (СниП 2.01.01 – 82 табл.I)

 

Место расположения предприятия Температура наружного воздуха Продолжительность отопительного периода, дней.
Наиболее холодной пятидневки (параметр Б) Средняя за отопительный период
Москва Краснодар Новосибирск Хабаровск Н. Новгород Петербург Волгоград Киев Томск Одесса -25 -19 -39 -32 -30 -25 -22 -21 -40 -17 -3, 2 +1, 5 -9, 1 -10, 1 -4, 7 -2, 2 -3, 4 -1, 1 -8, 8 +1  

 

РЕКОМЕНДУЕМАЯ ЛИТЕРАТУРА

 


Поделиться с друзьями:

mylektsii.su - Мои Лекции - 2015-2026 год. (1.867 сек.)Все материалы представленные на сайте исключительно с целью ознакомления читателями и не преследуют коммерческих целей или нарушение авторских прав Пожаловаться на материал