Студопедия

Главная страница Случайная страница

КАТЕГОРИИ:

АвтомобилиАстрономияБиологияГеографияДом и садДругие языкиДругоеИнформатикаИсторияКультураЛитератураЛогикаМатематикаМедицинаМеталлургияМеханикаОбразованиеОхрана трудаПедагогикаПолитикаПравоПсихологияРелигияРиторикаСоциологияСпортСтроительствоТехнологияТуризмФизикаФилософияФинансыХимияЧерчениеЭкологияЭкономикаЭлектроника






Тема 10: Конструкции с/х зданий и сооружений.






1. Классификация с/х зданий по назначению и особенностям ОПР.

2. Основные конструктивные элементы с/х зданий.

3. Характеристика с/х зданий различного назначения (здания для содержания скота и птицы, зернохранилища, овощехранилища, силосные траншеи и башни).

§28, стр.261-270, конспект

______________________________________________________________________________________________________________________________________________________________________________________________________________________________________________________________________________________

По назначению с/х здания классифицируются на:

- ___________________________________________________________________

______________________________________________________________________

- ___________________________________________________________________

______________________________________________________________________

- ___________________________________________________________________

- ___________________________________________________________________

- ___________________________________________________________________

______________________________________________________________________

- ___________________________________________________________________

______________________________________________________________________

 

__________________________________________________________________________________________________________________________________________________________________________________________________________________________________________________________________________________________________________________________________________________________________________________________________________________________________

По особенностям объемно-планировочного решения с/х здания делятся на:

- ___________________________________________________________________

______________________________________________________________________

- ___________________________________________________________________

______________________________________________________________________

По особенностям расположения несущих элементов:

- __________________________________________________________________

____________________________________________________________________________________________________________________________________________

- __________________________________________________________________

____________________________________________________________________________________________________________________________________________

- ___________________________________________________________________

______________________________________________________________________

Рис. 10.1. Конструктивные схемы с/х зданий

а, б – __________________________________________________________________________

в – ____________________________________________________________________________

г – ____________________________________________________________________________

1 – ____________________________________________________________________________

2 – ____________________________________________________________________________

3 – ____________________________________________________________________________

4 – ____________________________________________________________________________

5 – ____________________________________________________________________________

6 – ____________________________________________________________________________

7 – ____________________________________________________________________________

8 – ____________________________________________________________________________

9 – ____________________________________________________________________________

10 – ___________________________________________________________________________

11 – ___________________________________________________________________________

12 – ___________________________________________________________________________

13 – ___________________________________________________________________________

К основным конструктивным элементам с/х зданий относятся:

- ___________________________________________________________________

______________________________________________________________________

- ___________________________________________________________________

- ___________________________________________________________________

______________________________________________________________________

- ___________________________________________________________________

______________________________________________________________________

- ___________________________________________________________________

______________________________________________________________________

- ___________________________________________________________________

____________________________________________________________________________________________________________________________________________

- ___________________________________________________________________

- ___________________________________________________________________

- ___________________________________________________________________

- ___________________________________________________________________

- ___________________________________________________________________

 

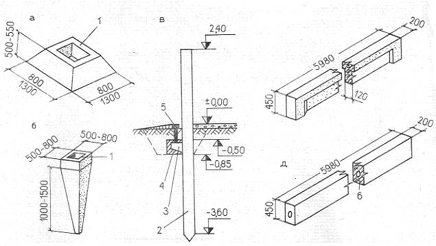
Рис 10.2. Сборочные ж/б конструкции подземной части с/х зданий

а – фундаментные башмаки;

б – короткие пирамидальные сваи;

в – сваи-колонны;

г – фундаментные балки;

д – цокольные панели;

1 – «стакан» фундамента;

2 – свая;

3 – опорный стальной столик;

4 – обетонирование;

5 – фундаментная балка;

 

Рис. 10.3. Несущие элементы надземной части с/х зданий

а – колонны крайнего ряда;

б – колонны среднего ряда;

в – ж/б полурама;

г – односкатные балки покрытия;

д – ввускатные балки покрытия;

е – безраскосные керамзитобетонные фермы;

ж – сталежелезобетонная ферма;

и – деревянная ферма;

к – треугольная арка со стальной затяжкой;

л – стальная стропильная ферма.

 

 

Рис. 10.4. Ограждающие элементы с/х зданий

а – однослойные стеновые панели;

б – двухслойные стеновые панели;

в – а/ц стеновые панели на деревянном каркасе;

г – ж/б плиты покрытий;

д – плиты покрытий с обшивкой из а/ц волнистых листов;

1 – рейки деревянного каркаса;

2 – монтажные петли;

3 – обшивка;

4 – утеплитель;

5 – покрытие из волнистого а/ц листа.

 

Рис. 10.5. Ж/б конструкции с/х зданий

а – решетчатая плита пола;

б – лоток кормушки;

в – лоток скребкового транспортера;

г – задняя стенка кормушки;

д – подушка опорной рамы силосохранилища;

е – рама силосохранилища;

ж – боковая плита силосохранилища.

Здания для содержания птицы и скота _____________________________________

__________________________________________________________________________________________________________________________________________________________________________________________________________________________________________________________________________________________________________________________________________________________________________________________________________________________________________________________________________________________________________________________________________________________________________________________________________________________________________________________________________________________________________________________________________________________________________________________________

Зернохранилища _______________________________________________________

________________________________________________________________________________________________________________________________________________________________________________________________________________________________________________________________________________________________________________________________________________________________________________________________________________________________________________________________________________________________________________________________________________________________________________

Овощехранилища ______________________________________________________

____________________________________________________________________________________________________________________________________________________________________________________________________________________________________________________________________________________________________________________________________________________________________________________________________________________________________

Силосные траншеи и башни ______________________________________________

__________________________________________________________________________________________________________________________________________________________________________________________________________________________________________________________________________________________________________________________________________________________________________________________________________________________________________________________________________________________________________

Самостоятельная работа:

Конструктивные особенности зданий при строительстве в сейсмических районах. стр.271-274;

Конструктивные особенности зданий при строительстве на просадочных грунтах. стр.275-276.

 

Дніпропетровський монтажний технікум

 

спеціальність 5.06010101

„Будівництво та експлуатація

будівель і споруд ”

 


Поделиться с друзьями:

mylektsii.su - Мои Лекции - 2015-2026 год. (1.239 сек.)Все материалы представленные на сайте исключительно с целью ознакомления читателями и не преследуют коммерческих целей или нарушение авторских прав Пожаловаться на материал