Студопедия

Главная страница Случайная страница

КАТЕГОРИИ:

АвтомобилиАстрономияБиологияГеографияДом и садДругие языкиДругоеИнформатикаИсторияКультураЛитератураЛогикаМатематикаМедицинаМеталлургияМеханикаОбразованиеОхрана трудаПедагогикаПолитикаПравоПсихологияРелигияРиторикаСоциологияСпортСтроительствоТехнологияТуризмФизикаФилософияФинансыХимияЧерчениеЭкологияЭкономикаЭлектроника






Защита от ветра и солнца






Поскольку на высоте ветровые нагрузки больше, чем внизу, необходимо предусматривать на кровле специальные ветрозащитные стенки по одной из сторон здания с учетом розы ветров; при этом следует учитывать, что ветровая тень (пространство, где «ветровая нагрузка» снижается под воздействием ветрозащитных стенок) равна 10 высотам стенки. В стенках необходимо делать просветы для проветривания (до 1/3 от площади стенки).

Защитные сооружения от солнца или дождя (навесы, тенты, козырьки, беседки и т.п.) выполняются в виде лёгких, ажурных композиций, которые должны опираться на бетонные подставки поверх защитного слоя кровли.

АРХИТЕКТУРНО-СТРОИТЕЛЬНЫЕ ДЕТАЛИ (УЗЛЫ)

В проекте эксплуатируемой кровли должны быть приведены детали (узлы) примыкания водоизоляционного ковра к выступающим над ним конструкциям: парапетам (стенам), трубам, вентиляционным шахтам, воронкам внутреннего водостока и др.

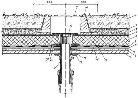
Места пропуска через кровлю труб должны быть выполнены с применением патрубков с фланцами (или железобетонных стаканов) и герметизацией кровли в этом месте. Места пропуска анкеров также должны быть загерметизированы, для чего устанавливают рамку из уголков, которая ограничивает растекание герметизирующей мастики, а пространство между патрубком или анкером заполняют мастикой.

Примеры устройства таких деталей приведены на рис. 3, 4. Деформационный шов показан на рис. 5 и 6.

В местах примыкания кровли к парапетам дополнительные слои водоизоляционного ковра и защитный фартук должны быть закреплены дюбелями, а верхняя часть парапета отделана кровельной сталью, закрепляемой костылями или покрыта парапетными плитками с герметизацией швов между ними (рис. 2, 7, 8 и 9).

Водоприемные воронки внутреннего водостока должны располагаться равномерно по площади кровли на пониженных участках не ближе 1, 5 м от вертикальных поверхностей. Площадь водосбора на одну воронку принимают равной 150…300 м2.

Вокруг воронки у водоотводящих отверстий в уровне водоизоляционного ковра производится засыпка гравием или щебнем с фракцией зерен не менее 15 мм (рис. 10).

Водосточные устройства должны обеспечить отвод воды как с поверхности покрытия, так и с уровня дренажного слоя и водоизоляционного ковра (в инверсионных кровлях), для чего в боковых поверхностях водосборника должны быть предусмотрены отверстия (рис. 11).

Места приклейки водоизоляционного ковра к фланцам водоприемной чаши воронки должны быть усилены дополнительным слоем рулонного кровельного материала. Воронка должна устанавливаться с промазкой понизу герметизирующей битумной мастикой.

. Конструкция водоотводящего устройства не должна менять своего положения при воздействии нагрузки. Для этого чаши водосточных воронок должны быть прикреплены хомутами к несущим плитам с резиновым уплотнителем либо соединены со стояками внутренних водостоков через компенсаторы.

Приемные патрубки водосточных воронок и охлаждаемые участки отводящих трубопроводов в пределах холодного помещения и на высоту 1, 2…1, 5 м от потолка в пределах теплого помещения должны иметь теплоизоляцию. Допускается предусматривать обогрев патрубков водосточных воронок и стояков в пределах охлаждаемых участков.

Орошение почвенного слоя с зелеными насаждениями может быть поверхностным или внутрипочвенным. Поверхностное орошение предусматривают из шланга или с помощью механических разбрызгивателей. Внутрипочвенное орошение производится при помощи перфорированных труб, располагаемых в траншеях, обложенных гравием.

Рис. 3 Пропуск трубы через традиционную эксплуатируемую кровлю.

1 - несущая железобетонная плита;

2 - выравнивающая стяжка из цементно-песчаного раствора;

3 - огрунтовка поверхности под кровлю;

4 - пароизоляции;

5 - плитный утеплитель;

6 - разделительный слой;

7 - основание под кровлю;

8 - основной водоизоляционный ковер;

9 - герметизирующая мастика;

10 - цементно-песчаный раствор (бетонные плитки, асфальто-бетон);

11 - защитный фартук из стали;

12 - хомут;

13 - стальной стакан с фланцем;

14 - минераловатный утеплитель

15 - пропускаемая труба;

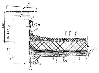
Рис. 4 Пропуск трубы через инверсионную эксплуатируемую кровлю.

1 - несущая железобетонная плита;

2 - выравнивающая стяжка;

3 - наклонный бортик;

4 - огрунтовка;

5 - основной водоизоляционный ковер;

6 - дополнительные слои ковра;

7 - плитный утеплитель;

8 - геотекстиль;

9 - засыпка гравием;

10-рамка из уголка;

11 - герметик;

12 - защитный фартук;

13 - пропускаемая труба;

14 - стальной стакане фланцем;

15 - минераловатный утеплитель;

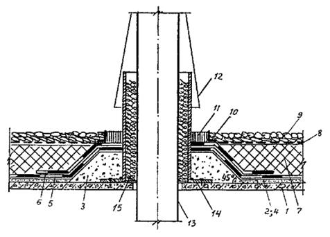
Рис. 5 Деформационный шов при традиционной эксплуатируемой кровле.

1 - несущая железобетонная плита;

2 - выравнивающая стяжка из цементно-песчаного раствора;

3 - огрунтовка поверхности под кровлю;

4 - пароизоляция;

5 - плитный утеплитель;

6 - разделительный слой;

7 - основание под кровлю;

8 - основной водоизоляционный ковер;

9 - дополнительные слои ковра

10 - цементно-песчаный раствор (бетонные плитки, асфальто-бетон);

11 - наклонный бортик;

12 - стальной компенсатор;

13 - минераловатный утеплитель;

14 - геотекстиль;

15 стальной костыль;

16 - защитный фартук из стали;

17 - крепежный элемент,

18 - дренажный слой

19 - почвенный слой

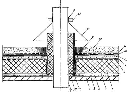
Рис. 6 Деформационный шов при инверсионной эксплуатируемой кровле.

1 - несущая железобетонная плита; 2 - выравнивающая стяжка; 3 - наклонный бортик; 4 - огрунтовка; 5 - основной водоизоляционный ковер; 6 - дополнительные слои ковра; 7 - стальной компенсатор; 8 - стенка деформационного шва; 9 - стальной костыль; 10 - защитный фартук; 11 - крепежный элемент; 12 - плитный утеплитель; 13 - геотекстиль; 14 - дренажный слой; 15 - почвенный слой; 16 - гравийная засыпка; 17 - наклонный бортик; 18 - приклеивающий состав; 19 - пароизоляция; 20 - минераловатный утеплитель.

Рис. 7 Парапет продольной стены при традиционной эксплуатируемой кровле

1 - несущая железобетонная плита;

2 - выравнивающая стяжка из цементно-песчаного раствора;

3 - огрунтовка поверхности под кровлю;

4 - пароизоляция;

5 - плитный утеплитель;

6 - разделительный слой;

7 - основание под кровлю;

8 - основной водоизоляционный ковер;

9 - дополнительные слои ковра;

10 - цементно-песчаный раствор (бетонные плитки, асфальто-бетон)

11 - наклонный бортик;

12 - парапетная плита;

13 - ограждение кровли;

14 - парапетная стенка.

 

Рис. 8 Парапет продольной стены при инверсионной эксплуатируемой кровле

1 - несущая железобетонная плита;

2 - выравнивающая стяжка из цементно-песчаного раствора;

3 - огрунтовка поверхности под кровлю;

4 - наклонный бортик;

5 - слой кровельного материала (усиление ковра);

6 - основной водоизоляционный ковер;

7 - дополнительные слои ковра;

8 - плитный утеплитель;

9 - приклеивающий состав;

10 - геотекстиль;

11 - гравийная засыпка;

12 - стальной защитный фартук;

13 - полоса стальная;

14 - крепежный элемент;

15 - герметизирующая мастика;

16 - парапетная плита;

17 - стенка парапета.

Рис. 9 Парапет стены при инверсионной эксплуатируемой кровле.

1 - несущая железобетонная плита;

2 - выравнивающая стяжка из цементно-песчаного раствора;

3 - огрунтовка поверхности под кровлю;

4 - наклонный бортик;

5 - слой кровельного материала (усиление ковра);

6 - основной водоизоляционный ковер;

7 - дополнительные слои ковра;

8 - плитный утеплитель;

9 - геотекстиль;

10 - дренажный слой;

11 - почвенный слой;

12 - бетонная плитка;

13 - парапетная стенка

14 - крепежный элемент;

15 - стальной костыль;

16 - защитный фартук из стали.

Рис. 10 Воронка внутреннего водостока при традиционной эксплуатируемой кровле.

1 - несущая железобетонная плита;

2 - выравнивающая стяжка из цементно-песчаного раствора;

3 - огрунтовка поверхности под кровлю;

4 - пароизоляция;

5 - плитный утеплитель;

6 - разделительный слой;

7 - основание под кровлю;

8 - основной водоизоляционный ковер;

9 - дополнительные слои ковра;

10 - водоприемная воронка;

11 - защитная решетка;

12 - герметизирующая мастика;

13 - уплотнитель;

14 - хомут;

15 - патрубок с фланцем.

16 - гравийная засыпка;

17 - бетонная плитка.

 

Рис. 11 Воронка внутреннего водостока при инверсионной эксплуатируемой кровле

1 - несущая железобетонная плита;

2 - выравнивающая стяжка из цементно-песчаного раствора;

3 - огрунтовка поверхности под кровлю;

4; 4' - слой кровельного материала (усиление ковра);

5 - основной водоизоляционный ковер;

6 - плитный утеплитель;

7 - геотекстиль;

8 - дренажный слой;

9 - почвенный слой;

10 - бортовой камень;

11; 12 - защитная решетка;

13 - патрубок с фланцем;

14 - прижимной фланец;

15 - герметик;

16 - уплотнитель;

17 - хомут


Поделиться с друзьями:

mylektsii.su - Мои Лекции - 2015-2026 год. (1.996 сек.)Все материалы представленные на сайте исключительно с целью ознакомления читателями и не преследуют коммерческих целей или нарушение авторских прав Пожаловаться на материал