Студопедия

Главная страница Случайная страница

КАТЕГОРИИ:

АвтомобилиАстрономияБиологияГеографияДом и садДругие языкиДругоеИнформатикаИсторияКультураЛитератураЛогикаМатематикаМедицинаМеталлургияМеханикаОбразованиеОхрана трудаПедагогикаПолитикаПравоПсихологияРелигияРиторикаСоциологияСпортСтроительствоТехнологияТуризмФизикаФилософияФинансыХимияЧерчениеЭкологияЭкономикаЭлектроника






Технология газовой цементации






Цементация в шахтных печах

В промышленности весьма широко применяют цементацию в шахтных печах. Шахтными называют печи, загрузка в которые осуществляется сверху

 

 

 

Рис 12 Схема шахтной печи:

1 – корпус, 2 – подъемная стойка с образцами, 3 – сдвигаемая крышка, 4 отводная трубка, 5 – факел сгораемых газов, 6 – трубка для подачи карбюризатора

 

Внутрь печи по каплям подается жидкий карбюризатор (керосин) - от 60 до 180 капель в минуту. Контроль за атмосферой внутри печи ведется по высоте и цвету факела пламени из отводной трубки. Иногда внутрь печи подают эндогаз

Недостатки шахтной печи:

- неравномерный нагрев по высоте

- слабая циркуляция атмосферы

- большие теплопотери через крышку

Поэтому концентрация углерода в поверхностном слое не постоянна

Цементация в механизированных камерных печах

 

 

Рис. 13 Схема камерной печи: 1 – камера нагрева, 2 – вентилятор. 3 – форкамера, 4 – подъемный стол для деталей, 5 – закалочный бак

Форкамера (то-есть, камера, находящаяся перед основной нагревательной камерой) позволяет предохранить детали от окисления в момент выемки из печи и перенесения их в закалочный бак. В форкамере поддерживается неокислительная атмосфера. Детали из нагревательной камеры 1 механически перемещаются на поверхность стола 4, который затем опускается в закалочный бак 5

 

Цементация в печах непрерывного действия

В массовом производстве (например, в автомобилестроении) широко применяются агрегаты непрерывного действия, включающие в себя, кроме печи для цементации, так же закалочное устройство и печь для отпуска

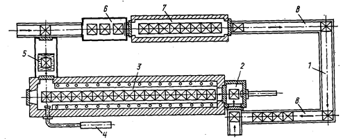
Рис 14 Схема работы толкательной установки для непрерывного процесса цементации:

1- загрузка и разгрузка, 2 входной шлюз (затвор), 3 – зона цементации, 4 – устройство для проталкивания, 5 – закалочное устройство, 6 – моечная машина, 7 – отпускная печь, 8 - рольганг

Типовой режим цементации и последующей термической обработки наиболее широко применяемых для цементации сталей 18ХГТ, 25ХГТ, 25ХГМ и др.:

n цементация при 930 град. С

n подстуживание до 850 град С

n ступенчатая закалка в масло (холодное или нагретое до 180 град С)

n отпуск при 180 град С

Печь для газовой цементации цементации непрерывного действия разделена на несколько зон. Как показано на Рис15

Рис 15 Схема цементационной печи непрерывного действия

1 – корпус, 2 толкатели. 3 – внутренние перегородки, разделяющие пространство печи на зоны

I Зона нагрева - в этой зоне углеродный потенциал pс поддерживается равным 0, 2 % С (как в сердцевине цементуемой стали)

II Зона активной цементации: pс -близок к пределу насыщения при данной температуре (около 1, 4% С)

III Зона диффузии - здесь pс поддерживается на уровне необходимой концентрации углерода в поверхностном слое (обычно около 1%)

IV Зона подстуживания - величина pс как и в предыдущей зоне

Величина углеродного потенциала регулируется расходом эндогаза, воздуха, добавками метана

Для автоматизации управления печью необходимо контролировать температуру, давление газа в печи, состав атмосферы

Относительно технологии закалки после цементации:

Очень важна правильно выбранная температура:

n при слишком низкой температуре в сердцевине выделяется свободный феррит

n при слишком высокой температуре - много остаточного аустенита в поверхностном слое стали

Масло нередко подогревают для уменьшения деформации деталей

Цементация в тлеющем разряде (ионная)

Этот вид цементации основан на явлении газового разряда (деталь-катод бомбардируется положительными ионами газа). При этом:

n Происходит катодное распыление поверхности и за счет этого - очистка поверхности детали

n Происходит активное диффузионное насыщение поверхности детали ускоренными ионами углерода, азота, бора и т.д.

Рис. 16 Схема ионной цементации: 1 – подача цементующего газа (пропана)

2 – корпус, 3 – деталь, 4 – тепловые экраны. 5 – вакуумирование объема

 

Источником углерода является пропан (С3Н8)

Плотность тока - 100А/кв м

Разогрев поверхности детали до 1000 град С происходит за счет ионной бомбардировки

Достоинства этого метода цементации:

1- сокращение длительности процесса в 2 - 3 раза

2- отсутствие внутреннего окисления и сажи

3- меньше расход цементующего газа

4- простота управления процессом

5- взрывобезопасность

6- улучшение условий труда

Но - невозможно закалить непосредственно с цементационного нагрева

 

Цементация в кипящем слое

Кипящий слой представляет собой в данном случае смесь частичек корунда (окись алюминия) диаметром 0, 05 - 0, 2 мм с частичками угля. Через этот слой продувается газ превращающий слой в псевдожидкость (легкие детали в этом слое всплывают, тяжелые тонут). Можно регулировать гидродинамическое состояние слоя, изменять в нем условия нагрева и охлаждения

 

 

Рис 17 Схема цементации в кипящем слое:

1 – корпус, 2 – кладка, 3 – крышка с отверстием для выхода продуктов сгорания, 4 – детали,, 5 – сыпучий материал, 6 – коллектор газовоздушной смеси с распределительными колпачками

 

Достоинства кипящего слоя:

n сокращение длительности (за счет увеличения скорости нагрева, активизации массопереноса)

n - равномерность температуры, уменьшение коробления

 

Нитроцементация (азотонауглероживание)

 

Нитроцементация- это процесс насыщения поверхности стали одновременно углеродом и азотом при температуре 700- 950 град С в газовой среде, состоящей из науглероживающего газа и аммиака

Чаще всего температура процесса 850 - 870 град С

После насыщения - закалка в масло

Процесс нитроцементации особенно выгоден, когда по условиям эксплуатации детали достаточна небольшая толщина упрочненного слоя - 0, 2 - 1, 0 мм

На ВАЗе из всех деталей (зубчатые колеса и др), подвергаемых упрочнению путем химико-термической обработки, около 90 % упрочняются именно нитроцементацией.

Преимущества нитроцементации по сравнению с цементацией:

n увеличивается скорость диффузии углерода (за счет наличия азота)

n понижается температура a«g превращения (за счет азота)

В итоге, скорость роста цементованного слоя до толщины 0, 8 мм при 930 град С такая же как при 860 град в случае нитроцементации. Это уменьшает время процесса, повышает стойкость печей, уменьшает деформации деталей.

Оборудование для нитроцементации то же, что и для цементации

Структура нитроцементованного слоя - мартенсит + карбонитриды + остаточный аустенит - до 25%, иногда до 45%.

Наилучшие свойства для данной марки стали можно получить только при оптимальном соотношении углерода и азота в поверхностном слое, например в стали 25ХГТ оптимально должно быть около 0, 3% азота и 0, 85 - 0, 95% (углерод + азот)

 

Цианирование

Цианирование - это химикотермическая обработка состоящая в одновременном насыщении поверхности углеродом и азотом в расплаве, содержащем цианистые соли. Структура и свойства слоя аналогичны нитроцементации

Cостав расплава:

NaCN (25%) + NaCl (25%) + NaCO3 (50%)

Механизм образования активных углерода и азота в расплаве:

2NaCN + O2 = 2NaCNO

2NaCNO + O2 = Na2CO3 + CO + N

Диффузионный слой толщиной 0, 2 мм достигается за 90 мин при температуре 850 град С

Вопросы по цементации

1. Какие физические и химические процессы обеспечивают насыщение поверхности стали углеродом

2 Что такое углеродный потенциал атмосферы

3. Что такое активность углерода. От каких факторов она зависит

4. Строение цементованного слоя при медленном и быстром охлаждении

5. Распределение углерода и твердости в цементованном слое. Эффективная толщина слоя

6. Напряжения в цементованном слое

7. Термическая обработка после цементации, ее цели. Варианты.

8. Какие стали применяют для цементации и почему

9. Технология цементации в твердом карбюризаторе. Схема, достоинства. Недостатки, основные химические реакции

10 Жидкие углеводороды, как источники газа для цементации, пример применения

11 Что такое эндогаз. Получение, применение

12 цементация в шахтных печах

13. Цементация в камерных печах

14. Зоны печи непрерывного действия

15 Схема толкательной установки (агрегата)

16. Ионная цементация

17 Нитроцементация и цианирование

 

 


Поделиться с друзьями:

mylektsii.su - Мои Лекции - 2015-2026 год. (0.938 сек.)Все материалы представленные на сайте исключительно с целью ознакомления читателями и не преследуют коммерческих целей или нарушение авторских прав Пожаловаться на материал