Студопедия

Главная страница Случайная страница

КАТЕГОРИИ:

АвтомобилиАстрономияБиологияГеографияДом и садДругие языкиДругоеИнформатикаИсторияКультураЛитератураЛогикаМатематикаМедицинаМеталлургияМеханикаОбразованиеОхрана трудаПедагогикаПолитикаПравоПсихологияРелигияРиторикаСоциологияСпортСтроительствоТехнологияТуризмФизикаФилософияФинансыХимияЧерчениеЭкологияЭкономикаЭлектроника






Принципы построения системы SECAM






Работа системы SECAM основана на двух принципах:

1. В каждой строке передаётся только один сигнал цветности;

2. Преобразование ЦРС в сигналы цветности осуществляется методом частотной модуляции.

Возможность поочерёдной передачи сигналов цветности основана на следующих соображениях. Как отмечалось в гл.II, неразличимость цвета мелких деталей позволяет ограничивать полосу частот сигналов цветности примерно до 1, 5 МГц. Так как полная полоса частот ТВ-спектра составляет 6 МГц и соответствует передаче наиболее мелких деталей, передаваемых в чёрно-белом виде яркостным сигналом ЕY, то окрашенные детали будут иметь размер вдоль строки, по крайней мере, в (6 МГц / 1, 5 МГц) = 4 раза большей, чем самые мелкие чёрно-белые детали. Аналогично можно считать допустимым увеличение в 3 – 4 раза размера окрашенных мелких деталей и в вертикальном направлении. На этом и основан принцип поочерёдной передачи ЦРС в системе SECAM: в течение одной строки передаётся сигнал ЕRY, в течение следующей – ЕBY и т.д.

Таким образом, для передачи используется только часть информации, выдаваемой цветной камерой. Половина строк растра представлена в цветовом сигнале компонентой ЕRY, а другая половина – компонентой ЕB Y. При этом предполагается, что в пропущенных строках цветовая информация практически идентична соседним. Иными словами, для сигналов цветности развёртка в полном кадре будет содержать вдвое меньшее число строк, что приводит к соответствующему увеличению размеров окрашенных мелких деталей по вертикали. Однако общая чёткость по вертикали при этом не упадёт, так как более мелкие детали передаются сигналом яркости ЕY с полным числом строк развёртки.

В телевизионном приёмнике цветного изображения для правильной работы цветного кинескопа необходимо иметь одновременно три ЦРС: ЕRY, ЕGY и

ЕBY. Для получения непрерывной последовательности сигналов ЕRY и

ЕBY и формирования с помощью матрицы третьего ЦРС ЕGY в приёмнике системы SECAM используется ячейка памяти – линия задержки со временем задержки на одну строку τ ЗАД. = ТСТР. = 64 мкс. При воспроизведении цветного изображения каждый сигнал цветности используется дважды: один раз он берётся с входа линии задержки, а другой – с её выхода. Процесс формирования непрерывных сигналов ЕRY и ЕBY с помощью линии задержки поясняется на рис.3.1.

Рис.3.1. Получение одновременных сигналов на входе матрицы

с помощью линии задержки

 

Так как сигналы цветности передаются поочерёдно через одну строку, а задержка линии равна длительности одной строки, сигналы цветности на входе и на выходе линии задержки оказываются различными, т.е. если в данный момент на входе линии имеется сигнал ЕRY, то на выходе будет сигнал ЕBY (или наоборот). Таким образом, линия задержки даёт возможность всегда иметь одновременно оба сигнала цветности. При этом, однако, предполагается, что в пропущенных строках цветовой сигнал практически не отличается от сигнала соседних строк. После восстановления непрерывности сигналов ЕRY и ЕBY можно получить с помощью матрицы сигнал ЕGY.

Как видно из рис.3.1, сигналы ЕRY и ЕBY и на входе, и на выходе линии задержки периодически меняются местами. Отсюда возникает необходимость соответствующего переключения сигналов так, чтобы на вход канала обработки сигнала R–Y подавался сигнал ЕRY, а на вход канала B–Y – сигнал ЕBY. Для этого в приёмнике SECAM используется схема электронного коммутатора.

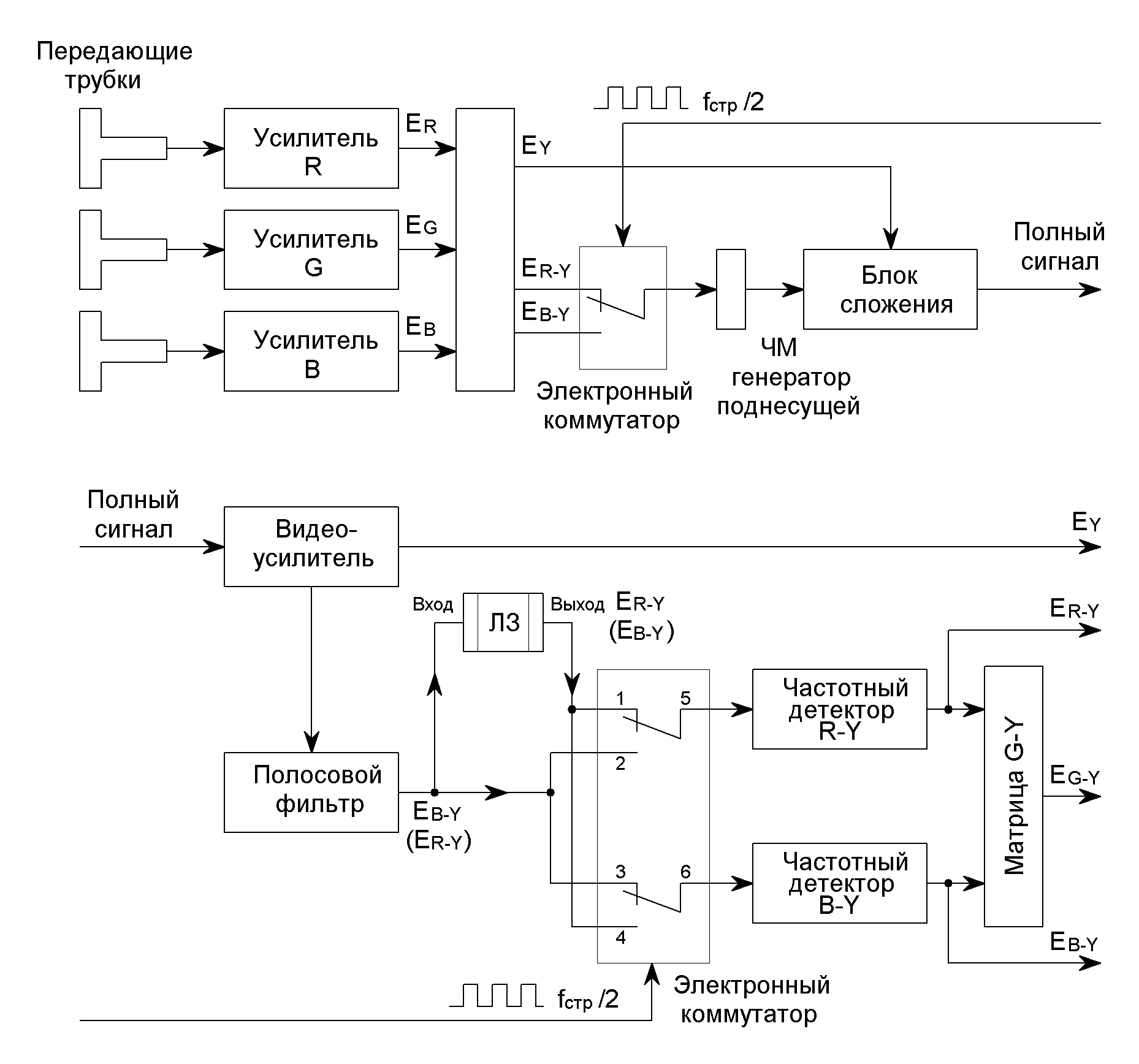
Принцип построения системы SECAM в упрощённом виде поясняется структурными схемами передающей и приёмной части, показанными на рис.3.2.

б)
а)

Рис. 3.2. Пояснение принципа передачи сигналов в системе SECAM.

Упрощённая функциональная схема кодирующего (а)

и декодирующего (б) устройства системы SECAM

 

Сигналы основных цветов ЕR, ЕG и ЕB, полученные с помощью трёх передающих трубок в ТВ-камере, усиливаются и поступают на матрицу, где формируются сигналы ЕY, ЕRY и ЕBY. С помощью электронного коммутатора, переключающегося после окончания каждой строки, формируется последовательность чередующихся ЦРС. Сигналы ЕRY и ЕBY по очереди управляют частотой генератора поднесущей. Полученные ЧМ-сигналы цветности в блоке сложения смешиваются с сигналом ЕY и образуется полный цветовой сигнал.

В телевизоре необходимо из принятого полного цветового сигнала сформировать ЦРС ЕR - Y, ЕGY и ЕBY. Полный сигнал, содержащий информацию о яркости, и сигналы цветности, передаваемые с помощью поднесущих, имеется на выходе видеоусилителя (рис.3.2б). С выхода видеоусилителя через полосовой фильтр этот сигнал поступает на вход линии задержки и на электронный коммутатор. Электронный коммутатор имеет четыре входа и два выхода. Сигнал с выхода линии задержки подаётся на входные зажимы 1 и 4, а сигнал с входа линии – на зажимы 2 и 3. Если с видеоусилителя поступает сигнал

ЕBY, то переключатели находятся в верхнем положении, как показано на рис.3.2б. В этом случае сигнал ЕBY поступает с входа 3 на выходной зажим 6 и частотный детектор B–Y. Сигнал ЕRY, передаваемый в течение предыдущей строки, берётся с выхода линии задержки и поступает на частотный детектор R–Y со входа 1. В течение следующей строки переключатели коммутатора находятся в нижнем положении, т.е. в замкнутом состоянии находятся контакты 2-5 и 4-6. В этом случае сигналы на детекторы R–Y и B–Y поступают следующим образом. Сигнал ЕRY, который теперь имеется на выходе усилителя (т.е. на входе линии задержки), через замкнутые контакты 2-5 поступает на детекторR–Y. Сигнал ЕBY берётся с выхода линии задержки и поступает на детектор через контакты 4-6. С выхода детекторов полученные ЦРС поступают на матрицу, формирующую третий ЦРС ЕGY. Для управления электронным коммутатором используются импульсы прямоугольной формы. Полный цикл коммутации осуществляется за время двух строк (в течение одной строки переключатели находятся в верхнем положении, в течение другой – в нижнем). Поэтому частота коммутирующих импульсов должна быть равна fСТР / 2. Нормальная работа телевизора возможна лишь в том случае, когда порядок переключения коммутатора соответствует очерёдности поступления ЦРС. Это возможно лишь тогда, когда электронный коммутатор в ТВ-приёмнике работает синфазно с электронным коммутатором кодирующего устройства. Для обеспечения указанной синфазности в приёмник вместе с основным набором сигналов необходимо передавать дополнительный сигнал, с помощью которого можно установить правильную фазу работы электронного коммутатора. Сигналы, устанавливающие правильную фазу работы электронного коммутатора, называются сигналами цветовой синхронизации.

 

3.2. Предыскажения сигналов в системе SECAM

Для получения и передачи сигналов цветности в системе SECAM используется частотная модуляция (ЧМ) поднесущих частот цветоразностными сигналами. Основным параметром, характеризующим ширину спектра ЧМ-коле-бания, является индекс частотной модуляции, определяемый соотношением

m = ∆ fД / FВ,

где ∆ fД – девиация (отклонение) несущей частоты от номинального значения;

FВ – высшая частота спектра модулирующего колебания.

При малых индексах ЧМ (m < 0, 5) ширина спектра несущей ЧМ-колебания с достаточной точностью может быть принята равной удвоенному значению F, т.е. удвоенной ширине спектра передаваемого сигнала. В этом случае ширина спектра, получаемая при ЧМ, мало отличается от ширины спектра при АМ. При увеличении индекса модуляции спектр модулированного колебания расширяется и достигает значения 2∆ fД, т.е. ширина спектра оказывается равной удвоенному значению девиации поднесущей частоты.

В системе SECAM для передачи ЦРС применяется ЧМ с индексом модуляции m ≈ 0, 2 (т.н. узкополосная модуляция). Если ЦРС передаются в полосе частот до 1, 5 МГц, то, согласно сказанному, общий спектр модулированного сигнала составит 3 МГц. Поскольку для обеспечения частотного уплотнения спектр сигналов цветности размещается в высокочастотной области спектра сигнала яркости, большее увеличение индекса модуляции не представляется возможным. В то же время высокая помехоустойчивость систем с использованием ЧМ может быть достигнута только при достаточно больших значениях индекса ЧМ. Поэтому, если не принять специальных мер, помехоустойчивость системы SECAM при приёме и обработке ЦРС будет недостаточно высокой. Это будет проявляться в том, что шумовые помехи, проникающие на экран телевизора по каналу цветности, будут сильно снижать качество изображения.

Можно повысить помехоустойчивость при приёме ЦРС, не прибегая к увеличению индекса ЧМ и не расширяя при этом спектр. Это достигается введением частотных предыскажений передаваемых сигналов и последующей их коррекцией на приёмном конце. Принцип действия частотных предыскажений основан на особенностях воздействия помех на ЧМ-сигнал. Известно, что при приёме ЧМ-сигналов наиболее опасным является паразитное изменение частоты и фазы высокочастотного колебания под воздействием помехи.

При детектировании ЧМ-сигналов в условиях наличия флуктуационных помех происходит значительное ухудшение соотношения сигнал / шум на выходе частотного детектора, особенно в области верхних частот спектра модулирующего сигнала.

Для устранения этого эффекта на передающем конце модулирующие цветоразностные сигналы подвергаются предварительной частотной коррекции – предыскажениям. Корректирующая цепь обеспечивает подъём высокочастотных составляющих ЦРС. Графически частотная характеристика корректирующей цепи представлена на рис. 3.3.

Рис.3.3. Амплитудно-частотная характеристика цепи НЧ-предыскажений

сигналов цветности.

 

Поскольку предыскажениям подвергается немодулированный (низкочастотный) сигнал цветности, данный вид предыскажений называется низкочастотными предыскажениями.

Для неискажённого приёма ЦРС в ТВ-приёмнике необходимо скорректировать внесённые частотные предыскажения. С этой целью в тракт усиления ЦРС следует включить корректирующий фильтр с частотной характеристикой, имеющей спад в области верхних частот. Полная коррекция будет иметь место, если частотная характеристика корректирующего звена в приёмнике будет обратная частотной характеристике звена предыскажения на передающем конце.

Частотная характеристика цепи коррекции НЧ-предыскажений представлена на рис.3.4.

Рис.3.4. Частотная характеристика цепи коррекции НЧ предыскажений

 

Как видно из рис.3.4, частотная характеристика корректирующего звена имеет спад, увеличивающийся по мере повышения частоты. Шумовые помехи, поступающие в приёмник вместе с полезным сигналом, после прохождения фильтра окажутся значительно ослабленными. При этом высокочастотные составляющие спектра помехи, имеющие б о льшую интенсивность, ослабляются в большее число раз. Следует отметить, что ослабление спектральных составляющих ЦРС, которые в приёмнике также подвергаются коррекции, не ухудшает качество изображения, так как их амплитуда была соответственно увеличена на передающем конце.

Техническая реализация цепей, осуществляющие описанные преобразования, оказывается довольно простой. На рис.3.5 представлены принципиальные схемы цепей, осуществляющих соответственно частотные предыскажения и их коррекцию.

а) б)

Рис.3.5. Принципиальные схемы корректирующих цепей:

а – схема цепи НЧ-предыскажений;

 
 
б – схема цепи коррекции НЧ-предыскажений.

 

В схеме на рис. 3.5а на низких частотах влияние конденсатора С не сказывается, и схему можно представить в виде делителя на резисторах R и R'. На частотах, превышающих 20 кГц, начинает сказываться шунтирующее действие конденсатора. Эквивалентное сопротивление горизонтального плеча делителя уменьшается с ростом частоты, за счёт чего обеспечивается постепенный подъём частотной характеристики.

В схеме на рис.3.5б конденсатор С включён в выходную цепь, что обеспечивает уменьшение эквивалентного сопротивление вертикального плеча с ростом частоты и соответствующее уменьшение коэффициента передачи.

Другой вид предыскажений, применяемый в системе SECAM, – это высокочастотные предыскажения, которым подвергается ЧМ-сигнал цветности. Цель этих предыскажений та же, что и у предыскажений видеосигналов, – увеличение помехозащищённости каналов яркости и цветности приёмника. Действие предыскажений, которым подвергается модулированный сигнал, проявляется в увеличении амплитуды поднесущей частоты при отклонении её от номинального значения. Графически зависимость коэффициента передачи цепи высокочастотных предыскажений представлена на рис.3.6.

Рис.3.6. Частотная характеристика цепи ВЧ-предыскажений

 

Как видно из рисунка, при отклонении частоты от номинального значения коэффициент передачи возрастает, что позволяет повысить уровень спектральных составляющих сигнала, удалённых от поднесущей и в большей степени подверженных воздействию помех.

В приёмнике необходимо иметь цепь коррекции ВЧ-предыскажений с частотной характеристикой, обратной частотной характеристике цепи введения предыскажений на передающем конце. Графически частотная характеристика корректирующей цепи представлена на рис.3.7.

Рис.3.7. Частотная характеристика цепи коррекции ВЧ-предыскажений

 

Коррекция высокочастотных предыскажений в приёмнике должна производиться достаточно точно. Экспериментально установлено, что минимум кривой должен совпадать с частотой 4, 286 МГц ± 20 кГц. Принципиальные схемы устройств, обеспечивающих получение АЧХ, представленных на рис.3.6 и 3.7, изображены на рис.3.8.

Рис.3.8. Принципиальные схемы корректирующих цепей:

а – цепь введения ВЧ-предыскажений;

б – цепь коррекции ВЧ-предыскажений.

 

Цепь, вводящая ВЧ-предыскажения, состоит из двух контуров, причём, контур L1 C1 R1 является параллельным, а контур L2 C2 R2 – последовательным. Для получения точной коррекции внесённых предыскажений корректирующая цепь в приёмнике также должна состоять из двух контуров, причём, последовательный и параллельный контуры следует поменять местами. На практике часто пользуются упрощённой корректирующей цепью, состоящей из одного параллельного контура (рис.3.8б).

 



Поделиться с друзьями:

mylektsii.su - Мои Лекции - 2015-2026 год. (1.029 сек.)Все материалы представленные на сайте исключительно с целью ознакомления читателями и не преследуют коммерческих целей или нарушение авторских прав Пожаловаться на материал