Студопедия

Главная страница Случайная страница

КАТЕГОРИИ:

АвтомобилиАстрономияБиологияГеографияДом и садДругие языкиДругоеИнформатикаИсторияКультураЛитератураЛогикаМатематикаМедицинаМеталлургияМеханикаОбразованиеОхрана трудаПедагогикаПолитикаПравоПсихологияРелигияРиторикаСоциологияСпортСтроительствоТехнологияТуризмФизикаФилософияФинансыХимияЧерчениеЭкологияЭкономикаЭлектроника






Выполнение работы






Задание 1. Измерение величины коэффициента распыления материалов при облучении в плазме тлеющего разряда.

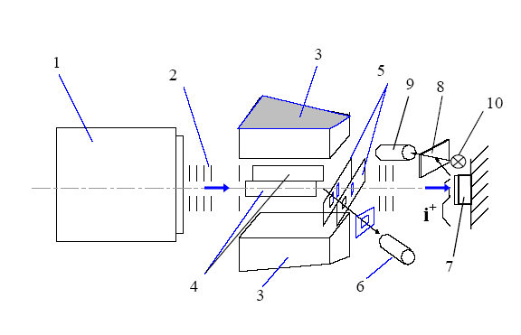
В данной лабораторной работе измерение величин коэффициентов распыления материалов в плазме тлеющего разряда проводится при давлениях остаточных газов р = 10-1÷ 10-2 Па. На рисунке 1 представлена конструкция установки для облучения материалов в плазме тлеющего разряда, которая состоит из разрядной камеры, 21 источника высокого напряжения и резистивных делителей (R1, R2, Rш).

Разрядная камера состоит из металлических дисковых электродов (анод, катод) и стеклянного цилиндра, выполняющего роль изолятора. Облучаемый образец устанавливается на поверхность катода, который выполняет так же функцию поддержания температуры образца на заданном уровне. Для обеспечения работы при пониженных давлениях разрядная камера помещается в вакуумный объем с давлением остаточных газов р=10-3÷ 10-4 Па. Благодаря этому часть рабочего газа покидает объем разрядной камеры через контролируемую негерметичность соединения торцевой поверхности цилиндра и дисковых электродов.

Регулировка оптимальной величины давления в разрядной камере осуществляется путем подачи рабочего газа через канал в катоде. При определенных условиях в объеме разрядной камеры возникает самоподдерживающийся тлеющий разряд (образуются свободные электроны и ионизированные атомы рабочего газа). Под действием электрического поля ионизированные атомы приобретают кинетическую энергию (Е = 100÷ 700 эВ) и попадая на поверхность образца выбивают атомы. Количество выбитых атомов обычно оценивается по уменьшению веса образца по формулам, а количество упавших на поверхность образца ионизированных атомов рабочего газа по дозе облучения.

Рисунок 1 – установки для облучения в плазме тлеющего разряда: А – анод, К – катод, ИВН – источник высокого напряжения.

Для измерения величин коэффициентов распыления в интервале энергий 1-20 кэВ при воздействии моноэнергетических пучков используется установка типа " Массмонохроматор", которая состоит из следующих элементов (рис.2): источника ионов (1) с ускорительной секцией (2), сепарирующего электромагнита с углом поворота 45о (3), фокусирующих линз (4), рабочей камеры (6). Установка имеет следующие характеристики: давление остаточных газов в области образца на выше р=1х10-4 Па, энергия ионов в пучке регулируется 1-20 кэВ, ток ионов 20-50 мА. Измерение величины коэффициента распыления определяется через отношение количества распыленных атомов к числу ионов, упавших на поверхность изучаемого образца. Для оценки числа распыленных атомов применяют методы измерения по потере веса или по высоте ступеньки согласно формулам.

Рисунок 2 – Схема установки типа " Массмонохроматор": 1 – источник ионов, 2 – ускорительная секция, 3 – вакуумопровод, 4 – электромагнитная фокусирующая линза, 5 – обмотки электромагнита массмонохроматора, 6 – рабочая камера, 7 – оптический ввод, 8 – фланец с держателем образца, 9 – высоковакуумные насосы.

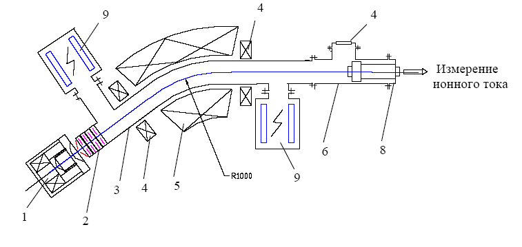
Изучение закономерностей распыления материалов при облучении полиэнергетическим пучком ионов проводится на установке ВОКАЛ (рис. 3). Как видно из рисунка, установка состоит из источника ионов, ускорительной трубки, фильтра энергии и масс ионов (образуют электроды- и полюсные наконечники электромагнитов-), держателя образца. Для определения параметров пучка используется поворотный электромагнит- с детектором типа цилиндра Фарадея. В процессе облучения мишени пучком ионов часть распылившихся атомов осаждается на специальный прозрачный коллектор, в результате чего его прозрачность уменьшается. Это приводит к снижению освещенности фотодиода и уменьшению фототока. Таки образом методом фотометрирования можно определять не только количество распылившихся атомов, но и получать зависимость количества распылившихся атомов от времени облучения (т.е. от дозы облучения).

Рисунок 3 – Схема изучения стойкости материалов к распылению при облучении полиэнергетическим пучком ионов на установке “ВОКАЛ”: 1 – источник ионов, генерирующий полиэнергетический пучок; 2 – ускорительная трубка; 3 – полюса электромагнита; 4 – электроды, создающие поперечное электрическое поле; 5 – ограничивающие диафрагмы; 6 – детектор, для определения тока пучка; 7 – облучаемый образец; 8 – коллектор распыленных атомов, 9 – фотодиод, 10 – лампа накаливания.

Задание 2: Изучение процессов распыления материалов под действием потоков ионов, основные закономерности.

В табл. 1 представлены данные по условиям облучения образцов Мо.

Таблица 1 – Условия проведения эксперимента.

Облучаемый материал Облучающие частицы Флюенс, ион/см2 < E>, кэВ j, мкА Температура облучения Т, °С
Mo Ar+ 1·1018     < 300
Mo Ar+ 1·1019     < 300

1. Время облучения рассчитывается исходя из необходимости получить определенный флюенс облучения на единичной площадке образца: .

При Ф = 1·1018 ион/см2 время облучения

Таким образом, при Ф = 1·1018 ион/см2 время облучения , а при Ф = 1·1019 ион/см2 – t = 6, 4·104 с.

2. Для оценки величины коэффициента распыления использовано полуэмпирическое выражение Смитта:

где l-поправочный коэффициент (lMo(Ar+)=20), Z1, Z2-порядковый номер движущийся частицы и материала мишени; М1, М2-атомная масса движущейся частицы и материала мишени соответственно; Е1-пороговая энергия распыления; U0-энергия сублимации.

Пороговая энергия распыления E1 =U0/μ (1-μ)

E1 < < E =>

= (20/6, 9). (18.42) 2. (40/96).10000 /(10000+50. 42.18) 2 = 3, 02 ат/ион

Полученная зависимость коэффициента распыления от энергии налетающих частиц Ar+ представлена на рисунке 4.

Рисунок 4 - Зависимость коэффициента распыления от энергии налетающих частиц Ar+.

Коэффициент распыления для полиэнергетического пучка определялся по формуле:

Sp(< E>)=

(интервал был разделен на 60 частей, причем DE=250 эВ)

Из рис. 4 видно, что типичные энергетические спектры ионов в пучке представляют собой куполообразную зависимость. Как показал эксперимент по изучению радиационной эрозии материалов, наблюдаются отличия в протекании этих процессов при облучении полиэнергетическим пучком ионов (рис. 5), которые обусловлены особенностями энерговыделения и градиента внутренних напряжений в приповерхностных слоях облучаемых материалов по сравнению с облучением моноэнергетическим пучком тех же ионов.

Рисунок 5 – Энергетический спектр ионов Ar+ в пучке: 1 – моноэнергетический пучок ионов; 2 – полиэнергетический пучок ионов (< E> = 10 кэВ- средняя энергия ионов в пучке)

3. Изменение структуры металла при облучении

а) б)

Рисунок 6 – Структура поверхности исходного образца меди в полированном состоянии (а) и после распыления полиэнергетическим пучком ионов со средней энергией 10 кэВ (б).

Масса исходного образца m1 = 0, 63121г;

Масса распыленного образца m2 = 0, 62616г;

Изменение массы Δ m = 0, 00505г;

Время облучения t = 30 мин = 1800 с;

Плотность потока пучка j = 6, 3·1015 ион/см2·с;

Коэффициент распыления = 4, 22 ат/ион.

Рисунок 7 – Зависимость коэффициента распыления Cu от энергии падающего пучка ионов Ar+.

На рисунках 8 и 9 для сравнения представлены фотографии поверхности образцов оболочки из сплава Э110.

Рисунок 8 – Фотографии поверхности образцов оболочки из сплава Э110, обработанной пучком ионов Ar+ дозой Ф = (1÷ 2)·1018 ион/см2: а) внешняя поверхность образца оболочки, б) участок поверхности увеличен (изображение получено во вторичных ионах).  

а) б)

Рисунок 9 – Фотографии поверхности образца оболочки из сплава Э110, облученного пучком ионов Ar+ с различными дозами, (изображение получено во вторичных ионах методом ИРМ): а) Ф = 1·1019 ион/см2; б) Ф = 2·1019 ион/см2.

Задание 3. Величина утонения первой стенки ТЯР за счет распыления.

Величина утонения первой стенки ТЯР за счет распыления определяется формулой:

время энергетического удержания плазмы = 10 с

время между импульсами = 60 с => общее время цикла = 1200 с => 2630 циклов в год

Sp для облучения атомами He+ (E = 1 кэВ) экранного материала (Be) равен 0, 27 ат/ион (взят из лекции № 7, прочитанной Польским В.И. в рамках курса «Специальные вопросы материаловедения ТЯР», 2012-2013 г.г.). Коэффициент распыления для полиэнергетического пучка, рассчитанный с учетом распределения в спектре He+ по энергии в реакторе типа ITER (рисунок 10) равен 0, 29 ат/ион.

Рисунок 10 – Энергетический спектр ионов He+ в реакторе типа ITER.

Поток ионов гелия на стенку D = 3·1024 частиц/м2год

Hмоно = 10.0, 27 ат/ион.9 г/моль. 3.1024 ион/м2год / (1, 848 г/см3.6, 02.1023ат/моль) = 0, 65 мм/год.

Hполи = 10.0, 29 ат/ион.9 г/моль. 3.1024 ион/м2год / (1, 848 г/см3.6, 02.1023ат/моль) = 0, 7 мм/год.

Выводы

В первом задании данной лабораторной работы происходило ознакомление с конструкцией и принципом действия установок, используемых для изучения процессов физического распыления материалов.

Во втором задании изучались процессы взаимодействия атомов молибдена с моно- и полиэнергетическим пучками ионов аргона. Построен энергетический спектр ионов Ar+ в пучке (моноэнергетическом и полиэнергетическом). Рассчитаны коэффициенты распыления для молибдена: SpMo моно= 3, 02 ат/ион, SpMo поли= 3, 21 ат/ион

Установлено, что при облучении полиэнергетическими пучками аргона коэффициент распыления незначительно увеличивается.

Изучена топография поверхности образцов меди до и после распыления. Выявлено, что после облучения происходит сглаживание поверхности образца, устранение крупных бороздок и неровностей. По известному значению уменьшения массы образца в результате распыления было найдено значение коэффициента распыления меди ионами Ar+ с энергией 10 кэВ:

Sp = 4, 22 ат/ион.

Исходя из зависимости, представленной на рисунке 7 – теоретическое значение Sp = 4, 5 ат/ион, что совпадает с экспериментально померенным значением с погрешностью 7%.

В третьем задании был произведен расчет возможной скорости утонения первой стенки ТЯР, которая составила:

Hмоно = 0, 65 мм/год;

Hполи = 0, 7 мм/год.

Утонение первой стенки ТЯР при воздействии на нее тяжелых ионов невелико, однако совместное действие ионов трития, дейтерия, гелия, металлов, а также нейтронного облучения может привести к заметному распылению материала и вследствие этого потери работоспособности данного конструкционного элемента. Суммарное утонение стенки ITER по расчетам составляет 8 мм за 5 лет работы.


Поделиться с друзьями:

mylektsii.su - Мои Лекции - 2015-2026 год. (0.756 сек.)Все материалы представленные на сайте исключительно с целью ознакомления читателями и не преследуют коммерческих целей или нарушение авторских прав Пожаловаться на материал