Студопедия

Главная страница Случайная страница

КАТЕГОРИИ:

АвтомобилиАстрономияБиологияГеографияДом и садДругие языкиДругоеИнформатикаИсторияКультураЛитератураЛогикаМатематикаМедицинаМеталлургияМеханикаОбразованиеОхрана трудаПедагогикаПолитикаПравоПсихологияРелигияРиторикаСоциологияСпортСтроительствоТехнологияТуризмФизикаФилософияФинансыХимияЧерчениеЭкологияЭкономикаЭлектроника






Реостаты






 

Реостатом называется электрический аппарат ручного управления, состоящий из резистора и составляющего с ним одно конструктивное целое переключающего устройства, которым можно изменять величину сопротивления. Реостаты выполняются как с плавным, так и со ступенчатым регулированием сопротивления.

В зависимости от материала, из которого выполнено сопротивление, реостаты разделяются на металлические, жидкостные (сопротивлением служит вода) и угольные (сопротивлением является уголь или графит).

В зависимости от окружающей среды и способа охлаждения -элементов резистора реостаты могут быть с воздушным, масляным и водяным охлаждением. Воздушное охлаждение применяется для всех типов реостатов, масляное и водяное — только для металлических.

По назначению различают следующие виды реостатов:

· пусковые — для пуска электрических двигателей постоянного и переменного тока;

· пускорегулировочные — для пуска и регулирования частоты вращения двигателей постоянного тока;

· регулировочные — для регулирования тока и напряжения;

· возбуждения — для регулирования напряжения генераторов постоянного и переменного тока и регулирования частоты вращения двигателей постоянного тока;

· нагрузочные — для нагрузки генераторов или их первичных двигателей.

Пусковые реостаты и пусковая часть пускорегулировочных реостатов для уменьшения габаритов должна иметь большую термическую постоянную времени. Так как эти реостаты работают в кратковременном режиме, то к стабильности их сопротивления не предъявляют высоких требований. У остальных реостатов сопротивление должно быть стабильно, и они рассчитываются на длительный режим работы.

На судах широкое распространение получили металлические реостаты с воздушным охлаждением, предназначенные для управления электрическими машинами постоянного тока. Они подразделяются на пусковые, пускорегулировочные и возбуждения.

Судовые реостаты серий РП, РВ, Р3П, Р3Р выпускаются в защищенном, брызгозащищенном и водозащищенном исполнении. Реостаты могут применяться только с теми машинами, для которых они предназначены, исходя из мощности машин, напряжения, а также из условий пуска и регулирования.

Судовые пусковые реостаты серий РП и Р3П предназначены для пуска и остановки шунтовых и компаундных двигателей постоянного тока и представляют собой сочетание в одном аппарате элементов пуска и защиты. Они имеют минимальную защиту, осуществляемую контактором типа КПМ, и максимальную защиту, которую обеспечивает реле мгновенного действия типа ЭРЭ-71А или РЭ-72.

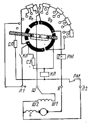
Рис. 6.1.2. Общий вид (а) и схема соединения (б) пускового реостата

Пусковые реостаты выполняются на предельные токи от 30 до 200А, с числом пусковых ступеней от 4 до 12. На рис. 6.1.2, а представлен общий вид пускового реостата. Состоит он из следующих основных элементов: контактной изоляционной панели, пускового резистора и металлического каркаса.

На контактной панели 1 смонтированы: контактор 6, максимальное реле 3, экономический резистор 4, неподвижные контакты 7, рычаг 2 с самоустанавливающейся контактной щеткой и зажимы 5 для присоединения внешних цепей.

На задней стороне контактной панели смонтирован пусковой резистор, состоящий из элементов, представляющих собой фарфоровые цилиндры с намотанной на них константановой или нихромовой проволокой либо стальные пластины, снабженные фарфоровыми наездниками с намотанной на них проволокой или лентой. Соединение между ступенями резисторами неподвижными контактами выполнены медными проводами, изолированными фарфоровыми бусами. Пуск и остановка двигателя осуществляются последовательным вводом и выводом ступеней резистора.

На контактной панели установлены упоры, ограничивающие ход контактной щетки в крайних положениях. Все металлические части реостатов имеют антикоррозионное покрытие.

Аппараты различных величин имеют принципиально одинаковые схемы и отличаются лишь числом ступеней и габаритами. Схема соединения пускового реостата серии РП приведена на рис. 6.1.2, б. Контактная щетка до начала пуска находится в крайнем левом положении. При пуске она с помощью маховичка перемещается вправо по часовой стрелке из положения «стоп» в положение «ход». В первом пусковом положении к катушке контактора КЛ подводится полное напряжение сети (минуя экономическое сопротивление СЭ), контактор включается и замыкает свой главный контакт. Через пусковой резистор, катушку РМ и якорь двигателя проходит ток. Одновременно получает питание шунтовая обмотка двигателя (зажим Ш). Якорь двигателя начинает вращаться. При дальнейшем перемещении контактной щетки выводятся из цепи якоря ступени пускового резистора. После срабатывания контактора его катушка получает питание через его главный контакт и экономический резистор. В крайнем правом положении контактной щетки все ступени реостата шунтируются, и щетка остается в этом положении на все время работы двигателя. Элементы резистора пускового реостата не рассчитаны на длительное пребывание под током. Поэтому недопустимо, чтобы контактная щетка находилась в промежуточных положениях реостата. Она должна занимать всегда крайнее левое или крайнее правое положение.

Рис. 6.1.3. Схема соединений пускорегулирующего реостата

При снижении напряжений в сети ниже допустимой величины (0, 5 Uном) или при его исчезновении контактор КЛ отключается и обесточивает двигатель. Появление и восстановление напряжения не вызывает самопроизвольного пуска двигателя, так как цепь питания катушки контактора разомкнута. Повторный пуск двигателя производится только после установки контактной щетки в исходное положение.

Минимальная защита, осуществляемая линейным контактором КЛ, не допускает работу двигателя при низком напряжении сети и не позволяет включить его на полное напряжение сети при выведенном пусковом резисторе из цепи якоря, т. е. предохраняет электрические цепи двигателя от повреждения большим пусковым током.

Максимальную защиту обеспечивает реле РМ, размыкающие контакты которого включены в цепь катушки линейного контактора, а втягивающая катушка — в главную цепь двигателя. При срабатывании реле его контакты размыкают цепь катушки контактора, который, отключаясь, размыкает цепь якоря двигателя. Ток уставки максимального реле равен двойному номинальному току двигателя. Для реостатов ударостойкого исполнения ток уставки реле равен трехкратному номинальному току двигателя.

Остановка двигателя производится переводом контактной щетки в крайнее левое положение. При этом она шунтирует катушку линейного контактора через первый неподвижный контакт. Отключение двигателя можно производить также и дистанционным отключающим устройством — автоматическим или с кнопочным управлением.

В ударостойких реостатах для подключения дистанционных отключающих устройств предусмотрен дополнительный зажим Ш1, соединенный с зажимом Ш перемычкой. Размыкающие контакты отключающего устройства подсоединяются к зажимам Ш и Ш1 после удаления перемычки с этих зажимов. При срабатывании дистанционного отключающего устройства, его контакты размыкают цепь катушки линейного контактора.

Линейный контактор, примененный в ударостойких реостатах, автоматически включается повторно в случаях его отключения вследствие сильной вибрации или сотрясения от удара. Достигается это с помощью дополнительного размыкающего вспомогательного контакта и предохранительного резистора СП. Они включены параллельно экономическому резистору и обеспечивают возбуждение втягивающей катушки линейного контактора от противо-ЭДС двигателя в момент размыкания главного контакта контактора в результате сотрясения или сильной вибрации. В ударостойких реостатах минимальная защита срабатывает при снижении напряжения в сети в пределах от 25 до 40%, а в реостатах других исполнений от 25 до 65% номинального значения.

Пусковые реостаты не предназначены для частых пусков. Контактор может отключать свой трехкратный номинальный ток не более трех раз подряд при напряжении сети, превышающем номинальное значение не более чем на 10%.

Для выбора пускового реостата необходимо знать следующие данные: мощность двигателя, условия пуска и вид нагрузки, напряжение питания двигателя. По этим параметрам из каталога выбираем величину реостата и номера элементов резистора.

Пускорегулировочные реостаты. Аналогичную конструкцию имеют пускорегулировочные реостаты серии РЗР. Схема соединений пускорегулировочного реостата приведена на рис. 6.1.3.

Пуск и регулирование частоты вращения осуществляются перемещением контактной щетки, выводящей ступени пускового резистора из цепи якоря, а затем вводящей ступени регулировочного резистора в цепь шунтовой обмотки двигателя. Процесс пуска двигателя аналогичен пуску с помощью пускового реостата.

Рис. 6.1.4. Схема соединений регулятора возбуждения

При пуске ток возбуждения протекает по цепи: зажим Л1 — главный контакт контактора КЛ — контактная щетка — неподвижный контакт-зажим Ш. Регулировочная часть реостата расположена за пусковой. Регулирование частоты вращения двигателя вверх достигается вращением маховичка реостата по часовой стрелке. При этом в цепь шунтовой обмотки двигателя постепенно вводятся ступени регулировочного резистора, рассчитанного на двигательный режим работы. Минимальная и максимальная защита осуществляется так же, как и в схемах пусковых реостатов.

Регуляторы возбуждения серии РВ предназначены для регулирования тока в обмотках возбуждения электрических машин постоянного тока. Регуляторы возбуждения для регулирования напряжения генераторов и регуляторы возбуждения для регулирования частоты вращения двигателей конструктивно не отличаются, но имеют разные схемы соединений ступеней регулировочного резистора (рис. 6.1.4).

В регуляторах, предназначенных для регулирования напряжения генераторов, ступени резистора вводятся при вращении маховичка против хода стрелки часов. Начало счета ступеней 1, 2, 3 ведется справа налево (рис. 6.1.4, а). В регуляторах, служащих для регулирования частоты вращения двигателей, ступени резисторов вводятся при вращении маховичка по ходу часовой стрелки и отсчитываются слева направо (рис. 6.1.4, б). Управление реостатами — ручное, с помощью маховичков. Регуляторы возбуждения выполняются на напряжение до 500В постоянного тока и рассчитаны на длительную работу. Они могут быть выполнены также для дистанционного управления. В этом случае вместо маховичка регулятор снабжается зубчаткой с цепной передачей для непосредственного соединения с приводом, устанавливаемым на щитке. Все регуляторы снабжаются схемой соединения, согласно которой они включаются в цепь обмотки возбуждения электрической машины.

Регуляторы возбуждения одной и той же серии имеют различное соединение элементов резистора в зависимости от напряжения возбуждения машины и условий регулирования. Регуляторы типа РВ имеют предельную силу тока 20А, объемную мощность реостата от 150 до 2250 Вт и количество ступеней от 10 до 70. У некоторых регуляторов возбуждения типа РЗВ число ступеней реостата достигает 140.

 

 


Поделиться с друзьями:

mylektsii.su - Мои Лекции - 2015-2026 год. (20.413 сек.)Все материалы представленные на сайте исключительно с целью ознакомления читателями и не преследуют коммерческих целей или нарушение авторских прав Пожаловаться на материал