Студопедия

Главная страница Случайная страница

КАТЕГОРИИ:

АвтомобилиАстрономияБиологияГеографияДом и садДругие языкиДругоеИнформатикаИсторияКультураЛитератураЛогикаМатематикаМедицинаМеталлургияМеханикаОбразованиеОхрана трудаПедагогикаПолитикаПравоПсихологияРелигияРиторикаСоциологияСпортСтроительствоТехнологияТуризмФизикаФилософияФинансыХимияЧерчениеЭкологияЭкономикаЭлектроника






Путевые и конечные выключатели






 

Путевой выключатель представляет собой командоаппарат, кинематически связанный с рабочей машиной и предназначенный для срабатывания на определенных точках ее пути. Конечный выключатель — это путевой выключатель, приводимый в действие рабочей машиной или ее частью в конце пути.

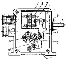
Рис. 7.1.2. Путевой выключатель серии УБ Рис. 7.1.3. Конечный выключатель типа ВК-311: а — вид спереди; б — вид сзади

Путевые и конечные выключатели широко используются в сложных схемах автоматизированного электропривода и позволяют автоматически управлять приводом на отдельных участках пути и производить его автоматическое отключение в крайних положениях производственного механизма. Конечные выключатели также широко используются в различных судовых устройствах автоматики и в качестве дверных выключателей освещения.

Путевые и конечные выключатели в зависимости от устройства, осуществляющего размыкание или замыкание контактов, можно подразделить на кнопочные (нажимные), рычажные, шпиндельные и вращающиеся.

Переключение контактов в этих выключателях осуществляется: в кнопочных— нажатием рабочего органа механизма на шток, с которым связаны контакты выключателя; в рычажных —воздействием рабочего органа механизма на рычаг, с которым связаны контакты; в шпиндельных — перемещением гайки по винту, связанному через передачу с валом механизма; во вращающихся — переключающими кулачковыми шайбами, связанными с валом механизма.

В настоящее время существует большое многообразие конструкций судовых путевых и конечных выключателей. Некоторые из них рассмотрены ниже.

Путевые выключатели серии УБ применяются в схемах управления для ограничения линейного передвижения механизмов при различных величинах выбега и могут использоваться при больших скоростях привода. Они допускают любой порядок замыкания контактов. На рис. 7.1.2 показан вращающийся путевой выключатель серии УБ.

Контактная система выключателя состоит из основания 1, на котором укреплены неподвижные контакты 2, и рычага 4 с контактным мостиком 3. Пружина 6 стремится повернуть рычаг в сторону размыкания контактов.

На оси 11 укреплены две шайбы, которые приводятся во вращение от вала выключателя 5 через червячную передачу. При вращении вала ролик отключающей шайбы 8 нажимает на выступ 10 собачки 9 и выводит ее из защемления с рычагом 4. Рычаг под действием пружины 6 поворачивается и размыкает контакты. При нажатии ролика замыкающей шайбы 7 на выступ рычага последний поворачивается, замыкает контакты, удерживаясь во включенном положении собачкой.

Моменты срабатывания контактов выключателя можно регулировать путем изменения взаимного расположения шайб на оси.

Соединение вала выключателя с вращающимися частями механизмов, от которых он приводится в действие, осуществляется посредством зубчатого колеса или муфты.

Выключатели имеют две независимые электрические цепи и могут работать как на постоянном, так и на переменном токе напряжением до 500В. Допустимый длительный ток кулачкового элемента 10—20А, ток включения 50—100А. Допустимое число включений не более 600 в час. Износоустойчивость до 600 00 включений и выключений.

Рис. 7.1.4 Конечный выключатель типа ВК-111

Конечные выключатели серии ВК предназначены для работы в качестве командоаппаратов при автоматическом управлении механизмами или в качестве аварийных ограничителей хода. Конечный выключатель типа ВК-311 имеет механизм для моментного переключения контактов. На рис. 7.1.3 представлен выключатель типа ВК-311. В металлическом корпусе 1 на клеммных колодках расположены неподвижные контакты 2. Подвижные контакты мостикового типа 3 укреплены на пластмассовом рычаге 6. Переключение контактов осуществляется при нажатии на ролик 4 и повороте приводного рычага 5, соединенного посредством набора ленточных пружин 7 с поводком 8.

Набор ленточных пружин позволяет приводному рычагу при избыточном перемещении нажимного устройства отклониться на дополнительный угол (провал).

При повороте приводного рычага поводок 8 нажимает на собачку 11. Усилие пружины 13, передаваемое на шарик 10, заставляет планку 1.2, жестко связанную с рычагом 3, мгновенно переключать контакты в момент освобождения ее собачкой 11. Возврат контактов в исходное положение происходит под действием пружины 9.

Конечные выключатели типа ВК-111. В выключателях типа ВК-111 (рис. 7.1.4) переключение контактов производится нажатием на шток 1, а возврат контактов в исходное положение осуществляется пружиной 2.

Рис. 7.2.1. Переключающее устройство нерегулируемого командоконтроллера
Рис. 7.2.2. Переключающий элемент регулируемого командоконтроллера

Выключатели типа ВК-311 выполняются либо с одним роликом, установленным по оси приводного рычага, либо с двумя роликами, либо с роликом, расположенным сбоку приводного рычага. Конечные выключатели имеют по одному замыкающему и по одному размыкающему контакту. Допустимый длительный ток контактов составляет 6А, ток включения 20А.

Износоустойчивость выключателей 1 млн. включений и выключений. Допустимая частота включений 600 в час.

Конечные рычажные выключатели серии КУ-740, ножные (педальные) выключатели серии НБ-740 и выключатели управления серии ВУ-740 предназначены для установки на открытых палубах. Они выполняются на напряжение до 380В переменного тока и до 220В постоянного тока. Номинальный ток контактов 10А, допустимый ток включения 50А.

 


Поделиться с друзьями:

mylektsii.su - Мои Лекции - 2015-2026 год. (1.519 сек.)Все материалы представленные на сайте исключительно с целью ознакомления читателями и не преследуют коммерческих целей или нарушение авторских прав Пожаловаться на материал