Студопедия

Главная страница Случайная страница

КАТЕГОРИИ:

АвтомобилиАстрономияБиологияГеографияДом и садДругие языкиДругоеИнформатикаИсторияКультураЛитератураЛогикаМатематикаМедицинаМеталлургияМеханикаОбразованиеОхрана трудаПедагогикаПолитикаПравоПсихологияРелигияРиторикаСоциологияСпортСтроительствоТехнологияТуризмФизикаФилософияФинансыХимияЧерчениеЭкологияЭкономикаЭлектроника






И корнеклубнеплодов






 

Содержание работы:

1. Измельчитель грубых кормов ИГК-30Б.

2. Универсальный измельчитель кормов ИКВ-Ф-5А «Волгарь».

3. Мойки-измельчители корнеклубнеплодов ИКМ-Ф-10, ИКС-5М,

ИКУ-Ф-10.

 

Приготовление кормов к скармливанию повышает их усвояемость, сокращает расход энергии на жевание, предупреждает заболевания животных. В практике содержания животных применяют широкий спектр кормов, имеющих свои специфические физико-механические свойства, поэтому для их приготовления применяют различные машины.

Измельчитель грубых кормов ИГК-30Б п р е д н а з н а ч е н для измельчения соломы, сена, сухих кукурузных стеблей и других грубых кормов с расщеплением их вдоль и поперек волокон, применяется на фермах КРС. ИГК-30Б имеет большую производительность, измельчает солому повышенной влажности (до 30 %) и обеспечивает высокое качество измельчения. Измельчитель выпускается в двух модификациях:

· навесной на трактор «Беларусь» – ИГК-30Б-1;

· стационарный с приводом от электродвигателя ИГК-30Б-II.

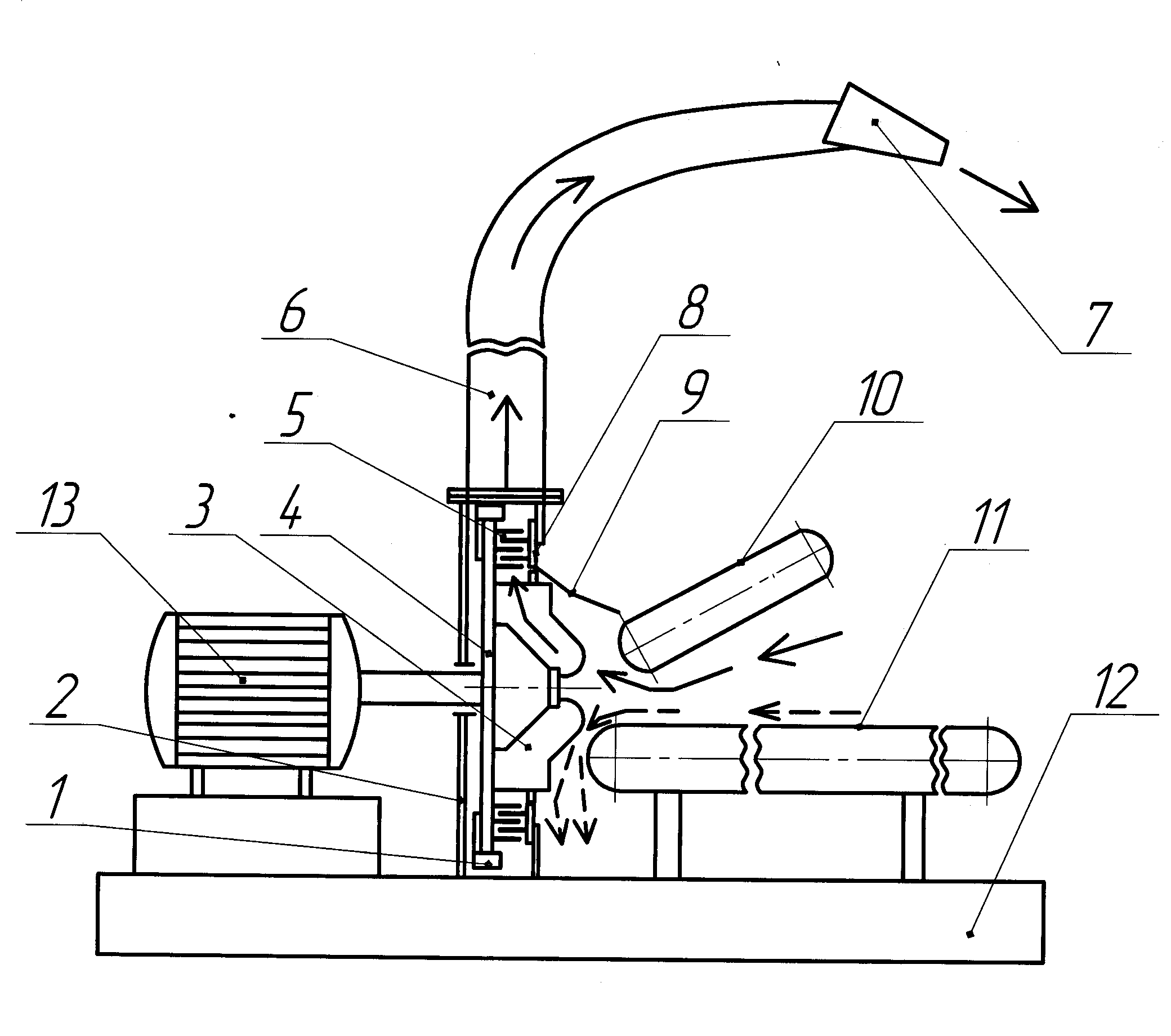
ИГК - 30Б-II (рис. 60) с о с т о и т из рамы 12, подающего 11 и уплотняющего 10 транспортеров, приемной 9 и измельчающей камер (на рис. не показана). На раме установлен электродвигатель 13, вращающий момент которого с помощью механической передачи передается ротору и питателю.

В состав питетеля входят горизонтальный (подающий) 11 и наклонный (поджимной) 10 транспортеры. Привод питателя от вала электродвигателя осуществляется через клиноременную передачу, червячный редуктор и цепную передачу.

Рабочий орган состоит из лопастей ротора 3 и двух дисков: подвижного 4 и неподвижного 8 с закрепленными на них штифтами 5. Штифты 5 в поперечном сечении имеют клиновидную форму и установлены заостренной гранью вперед по ходу движения, что обеспечивает интенсивное рубящее действие на грубый корм. Штифты расположены в три ряда на подвижном диске и в два ряда на неподвижном диске.

В верхней части корпуса измельчающей камеры закреплен дефлектор 6 с направляющим козырьком 7. В приемную камеру 9 корм подается питателем.

1 – лопатка; 2 – корпус; 3 – лопастной ротор; 4 – подвижный диск; 5 – штифты

подвижного диска; 6 – дефлектор; 7 – направляющий козырек; 8 – неподвижный

диск со штифтами; 9 – приемная камера; 10 – верхний уплотняющий транспортер;

11 – нижний подающий транспортер; 12 – рама; 13 – электродвигатель

 

Рисунок 60 – Схема измельчителя грубых кормов ИГК-30Б-II

 

Принцип измельчения соломы штифтами в дисковом измельчителе ИГК-30Б (излом, разрыв, перетирание при окружной скорости штифтов 42…48 м/с) основан на использовании свойств ломкости и хрупкости сухих стеблей.

Р а б о ч и й п р о ц е с с: грубые корма подаются на горизонтальный транспортер 11, а затем поджимаются наклонным транспортером 10. Под действием разрежения воздушного потока, создаваемого лопастями 3, грубый корм втягивается в приемную камеру 9, где за счет центробежных сил из него отделяются камни и другие тяжелые примеси. Очищенный корм втягивается в камеру измельчения и, попадая в пространство между подвижными и неподвижными штифтами, стебли корма ломаются, разрываются и перетираются. Измельченные частицы корма подхватываются лопатками подвижного диска 1 и через дефлектор 6 и козырек 7 выбрасываются из камеры измельчения в транспортное средство.

Производительность машины при влажности корма до 14 % равна 3 т/ч, до 35 % – 0, 8 т/ч. Мощность электродвигателя 30 кВт. Частота вращения рабочего органа 960 мин-1.

Универсальный измельчитель кормов ИКВ-Ф-5А «Волгарь». Важным моментом в работе поточно-технологических линий по приготовлению кормов на крупных животноводческих комплексах является использование машин для измельчения разных по физико-механическим свойствам кормов, то есть их универсальность. К числу таких машин относится измельчитель кормов ИКВ-Ф-5А «Волгарь».

ИКВ-Ф-5А п р е д н а з н а ч е н для измельчения предварительно вымытых корнеклубнеплодов, зеленой массы, силоса, грубых кормов и веточного корма на животноводческих и птицеводческих фермах и комплексах.

1 – приямок; 2 – транспортер загрузки измельченного корма; 3 – аппарат

вторичного резания; 4 – нижнее окно корпуса; 5 – шнек; 6 – заточное

устройство; 7 – режущий барабан; 8 – прессующий транспортер;

9 – подающий транспортер; 10 – электродвигатель

 

Рисунок 61 – Измельчитель ИКВ-Ф-5А «Волгарь»

У с т р о е н измельчитель ИКВ-Ф-5А следующим образом (рис. 61): на раме в её правой части установлен электродвигатель 10 мощностью 22 кВт. Вращающий момент с вала электродвигателя посредством механических передач (редуктора, цепной и ременной) передается рабочим органам измельчителя, в том числе на:

· питатель, состоящий из подающего 9 и прессующего транспортера 8;

· режущий барабан 7;

· аппарат вторичного резания 3;

· шнек 5.

На крышке корпуса измельчителя изнутри установлено заточное устройство 6.

Р а б о ч и й п р о ц е с с: подготовленный к измельчению корм укладывают ровным слоем на подающий транспортер 9, откуда он подпрессованный транспортером 8, направляется к режущему барабану 7 первой ступени резания, где происходит предварительное измельчение до фракции 20…30 мм.

Измельченная масса направляется шнеком 5 к аппарату вторичного резания 3, где корм подвижными и неподвижными ножами измельчается до фракции 2…10 мм. Измельченный корм выбрасывается через нижнее окно корпуса. Для удобства выгрузки кормов ниже окна расположен приямок 1 с транспортером загрузки измельченного корма 2. ИКВ-Ф-5А может измельчать корма для крупного рогатого скота, свиней и птицы. При измельчении грубых сочных кормов для КРС в работу включают только аппарат первичного резания. Необходимую крупность частиц для свиней и птицы устанавливают, изменяя угол установки лезвия, первого подвижного ножа аппарата вторичного резания относительно края витка шнека. При измельчении корма для птицы этот угол должен быть 9º, для свиней – 54º. Остальные ножи отстают на 72º от предыдущего.

Эксплуатационная производительность машины на корнеплодах 9 т/ч; на зеленых кормах, силосе 5, 5 т/ч; на сене, соломе 0, 8…1 т/ч; на рыбе 0, 5 т/ч. Частота вращения ножевого барабана 725 мин -1, аппарата вторичного резания 1015 мин -1.

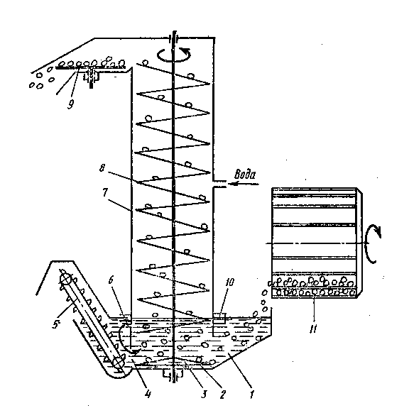
Мойка-измельчитель корнеклубнеплодов ИКМ-Ф-10 п р е д - н а з н а ч е н а для мойки корнеклубнеплодов, удаления из их общей массы камней и измельчения корнеклубнеплодов.

У с т р о й с т в о (рис. 62): в состав измельчителя входят три рабочих органа, в том числе: моющий шнек 3 диаметром 400 мм., приводимый во вращение электродвигателем (на схеме не обозначен) мощностью 2, 2 кВт; измельчающий аппарат 8 дискового типа с двумя горизонтальными и четырьмя вертикальными ножами, приводимыми во вращение электродвигателем 4, и скребковый транспортер 11 для удаления камней, песка и грязи с приводом от мотор-редуктора мощностью 0, 8 кВт.

Ванна и смонтированнные на ней рабочие органы, закреплены на общей раме. На нижнем конце шнека закреплен активатор 1.

Перед началом работы моечную ванну 2 заполняют водой через вентиль, установленный в патрубке 10 кожуха шнека. В процессе работы этим же вентилем регулируют подачу воды в зависимости от загрязненности корнеплодов. Уровень воды в ванне поддерживается патрубком 12, расположенным в области скребкового транспортера 11.

Для предотвращения выхода из строя капроновой втулки в нижней опоре шнека работа машины рекомендуется только при наличии воды в моечной ванне.

Р а б о ч и й п р о ц е с с: после заполнения ванны водой включают все рабочие органы с помощью электродвигателей и загружают в установку корнеплоды. Под действием вращающегося потока воды, создаваемого активатором, корнеплоды перемешиваются, отмываются, а затем шнеком подаются вверх в измельчающее устройство. При подъеме корнеплоды дополнительно обмываются струями воды, поступающими из распылителя.

1 – активатор; 2 – моечная ванна; 3 – шнек; 4 – электродвигатель привода

измельчителя; 5 – выгрузная горловина; 6 – лопатки; 7 – дека; 8 – диски с ножами;

9 – корпус измельчителя; 10 – патрубок подачи воды; 11 – транспортер-камнеудалитель; 12 – патрубок уровня воды; 13 – сливной патрубок

 

Рисунок 62 – Технологическая схема измельчителя ИКМ-Ф-10

В процессе предварительного мытья корнеплодов в ванне за счет центробежных сил, создаваемого активатором, происходит отбрасывание камней и песка к выгрузному окну транспортера-камнеудалителя, и он скребками выносит грязь за пределы измельчителя в дополнительную емкость.

В измельчителе корнеплоды сначала режутся двумя горизонтальными ножами верхнего диска, затем доизмельчаются четырьмя вертикальными ножами нижнего диска и выгружаются лопатками 6 через выгрузную горловину 5. Для получения более мелкой фракции в измельчителе устанавливают зубчатую деку 7. При мойке корнеплодов без измельчения деку и верхний диск измельчителя снимают, а нижний диск стопорят. Частота вращения ротора электродвигателя 500мин-1.

Производительность машины 10 т/ч. Общая установленная мощность 14 кВт. Расход воды 150 дм3/т. Качество измельчения:

· на ломтики толщиной до 5 мм для свиней – 20 %, до 10 мм – 80 %

· до 15мм для КРС – 100 %.

Мойка-измельчитель корнеплодов ИКС-5М п р е д н а з н а ч е - н а для мытья и измельчения корнеплодов и картофеля на кормоучастках животноводческих ферм.

У с т р о й с т в о (рис. 63): в состав машины входит три главных узла, в том числе:

· моечное устройство;

· измельчающий аппарат;

· механизм привода рабочих органов.

 

1 – бункер; 2 – моющий шнек; 3 – патрубок; 4, 10 – электродвигатели;

5 – редуктор; 6 – цепная передача; 7 – измельчающий барабан;

8 – направляющий козырек; 9 – гребенка; 11 – сетчатые фильтры;

12 – песковый насос НП-1М; 13 – ванна мойки; 14 – грязесборник

 

Рисунок 63 – Схема технологического процесса измельчителя ИКС-5М

при использовании единичной установки

 

Моечное устройство выполнено в виде шнека 2, устанавливаемого под углом 20…45º к горизонту. Для улучшения качества мытья корнеклубнеплодов шаг спирали шнека делают переменным, увеличивающимся по мере подъема в пределах 0, 4..0, 55 м. Шнек установлен в цилиндрическом кожухе. Кожух шнека встроен в бункер 1, заполненный водой. Нижний конец моющего шнека опущен в приемный бункер, заполненный корнеплодами и водой.

Р а б о ч и й п р о ц е с с: при вращении шнек своим винтом захватывает корнеклубнеплоды из бункера и увлекает их в зону активного мытья струями воды, нагнетаемой насосом. Вымытый картофель попадает при выходе из кожуха шнека под действие молотков ротора измельчающего аппарата 7.

Загрязненная вода из шнека стекает в ванну-отстойник под бункером, где происходит осаждение из неё тяжелых примесей за счет сил гравитации. Вода, пройдя очистку с помощью сетчатых фильтров, повторно используется для мытья очередной партии корнеклубнеплодов, а крупные фракции песка и грязи собираются в грязесборнике 14.

Измельчитель - камнеуловитель универсальный ИКУ-Ф-10 п р е д н а з н а ч е н для сухой очистки от земли, растительных остатков, отделения камней, мойки и измельчения корнеклубнеплодов всех видов и размеров. Применение вместо мойки сухой очистки обеспечивает снижение расхода воды на 50л на 1т корнеплодов по сравнению с расходом воды измельчителем ИКМ-Ф-10.

У с т р о й с т в о (рис. 64): в конструктивном исполнении и технологическом процессе ИКУ-Ф-10 имеет много сходства с мойкой-измельчителем ИКМ-Ф-10. Существенное отличие заключается в наличии барабана предварительной сухой очистки 11.

Барабан предварительной сухой очистки диаметром 660 мм и длиной 950 мм представляет собой обечайку с двумя канавками для клиновых ремней, соединенную с вальцами, которые с одной стороны вварены в обечайку, а с другой – оставлены открытыми. Барабан, вращаемый электродвигателем, опирается бандажами на две пары опорных роликов, установленных на раме. Третья пара роликов размещена на кожухе и создает замкнутую систему.

1 – ванна; 2 – моющий диск; 3 – лопатка моющего диска; 4 – окно выхода примесей;

5 – транспортер для удаления примесей; 6 – кольцевая щель; 7 – кожух шнека;

8 – шнек; 9 – измельчитель; 10, 11 – барабаны сухой очистки

 

Рисунок 64 – Технологическая схема агрегата ИКУ-Ф-10

Р а б о ч и й п р о ц е с с: корнеклубнеплоды загружают во вращающийся барабан сухой очистки, где отделяется основная масса земли, соломы и растительных остатков. Из барабана 11, установленного с зазором относительно загрузочного лотка, корнеклубнеплоды попадают в ванну мойки – камнеотделителя 1, где потоком воды, создаваемым моющим диском 2 и витками шнека 8, отмываются и подаются в измельчающий аппарат 9.

Камни диаметром более 100 мм и другие тяжелые примеси отделяются от корнеклубнеплодов дополнительно на наклонной стенке лотка мойки, а попадая на лопатки 3 моющего диска, отбрасываются к наклонному транспортеру для удаления примесей 5.

Контрольные вопросы

1. Как устроен измельчитель грубых кормов ИГК-30Б-II?

2. В чем особенности принципа измельчения соломы штифтами в дисковом измельчителе?

3. Описать рабочий процесс измельчителя ИГК-30Б-II.

4. Назвать основные узлы универсального измельчителя кормов ИКВ-Ф-5А «Волгарь».

5. Какова длина фракций резки после первой и второй ступеней измельчения и как можно изменить крупность частиц резки кормов на измельчителе «Волгарь»?

6. Назвать основные узлы мойки-измельчителя ИКМ-Ф-10.

7. Описать рабочий процесс мойки-измельчителя ИКМ-Ф-10.

8. Как подготовить измельчитель ИКМ-Ф-10 для мытья корнеплодов без измельчения?

9. Назвать основные узлы мойки-измельчителя ИКС-5М.

10. Каковы принципиальные отличия между мойками-измельчителями ИКМ-Ф-10 и ИКС-5М?

11. Назначение, устройство и рабочий процесс измельчителя ИКУ-Ф-10.


Поделиться с друзьями:

mylektsii.su - Мои Лекции - 2015-2026 год. (0.607 сек.)Все материалы представленные на сайте исключительно с целью ознакомления читателями и не преследуют коммерческих целей или нарушение авторских прав Пожаловаться на материал