Студопедия

Главная страница Случайная страница

КАТЕГОРИИ:

АвтомобилиАстрономияБиологияГеографияДом и садДругие языкиДругоеИнформатикаИсторияКультураЛитератураЛогикаМатематикаМедицинаМеталлургияМеханикаОбразованиеОхрана трудаПедагогикаПолитикаПравоПсихологияРелигияРиторикаСоциологияСпортСтроительствоТехнологияТуризмФизикаФилософияФинансыХимияЧерчениеЭкологияЭкономикаЭлектроника






Первичные средства пожаротушения. 1) порошковые огнетушители – предназначены для тушения пожаров и загораний нефтепродуктов, легковоспламеняющихся

1) порошковые огнетушители – предназначены для тушения пожаров и загораний нефтепродуктов, легковоспламеняющихся, горючих жидкостей, растворителей, твердых веществ, а также электроустановок под напряжением до 1000В.

· Со встроенным источником давления. Принцип действия – при срабатывании запорно-пускового устройства прокалывается заглушка баллона с рабочим газом. Газ по трубке подвода поступает в нижнюю часть корпуса огнетушителя и создает избыточное давление. Порошок вытесняется по сифонной трубке в шланг к стволу. Нажимая на курок ствола, можно подавать порошок порциями. Порошок, попадая на горящее вещество изолирует его от кислорода воздуха.

· Огнетушители закачного типа (заряд порошка уже под давлением), отличается от предыдущего типа наличием манометра. Принцип действия – рабочий газ закачивают непосредственно в корпус огнетушителя. При срабатывании запорно-пускового устройства порошок вытесняется газом по сифонной трубке в шланг, к стволу насадки или в сопла.

Приведение в действие огнетушителя с газовым источником давления: 1 – сорвать пломбу, 2 – выдернуть чеку, 3 – поднять рычаг запорно-пускового устройства до отказа, 4 – направить ствол-насадку на очаг пожара, 5 – через 5 секунд приступить к тушению пожара, подавая порциями заряд порошка, нажимая на курок.

Приведение в действие закачного огнетушителя: 1 – направить сопло или ствол-насадку на очаг пожара, 2 – сорвать пломбу, 3 – выдернуть чеку, 4 – нажать на рычаг ЗПУ и приступить к тушению пожара.

2) огнетушитель порошковый самосрабатывающий (ОСП). Предназначен для тушения малых возгораний. Представляет из себя стеклянную колбу, запаянную с обеих сторон. Внутри колбы размещается заряд порошка и инициирующее вещество. Местом установки служит распределительный шкаф служебного отделения. Масса огнетушителя – 1кг, гарантийный срок – 5 лет, размеры 440*40мм.

На пассажирском вагоне устанавливается ОСП-1, порог срабатывания которого по температуре 100 градусов Цельсия. Если электрощит не разделен на две части, то эксплуатируется один ОСП, а если разделен на 2 части, то в каждой части должно быть по ОСП.

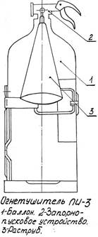
3) углекислотные огнетушители. Предназначены для тушения загораний различных веществ и материалов, электроустановок под напряжением до 1000В, двигателей внутреннего сгорания, горючих жидкостей. Запрещается тушить материалы, горение которых происходит без доступа воздуха (щелочные металлы).

 

Принцип действия основан на вытеснении двуокиси углерода избыточным давлением. При открывании запорно-пускового устройства СО2 по сифонной трубке поступает к раструбу. СО2 из сжиженного состояния переходит в твердое (снегообразное), температура резко до -70 градусов понижается; углекислота, попадая на горящее вещество изолирует его от кислорода. Приведение в действие: 1 – снять огнетушитель с кронштейна и поднести к очагу пожара, 2 – сорвать пломбу, выдернуть чеку, 3 – перевести раструб в горизонтальное положение и нажать на рычаг, 4 – направить струю заряда на огонь. ВО ИЗБЕЖАНИЕ ОБМОРОЖЕНИЯ – НЕ БРАТЬСЯ РУКОЙ ЗА РАСТРУБ ОГНЕТУШИТЕЛЯ; ЕСЛИ НА ОГНЕТУШИТЕЛЕ МЕТАЛЛИЧЕСКИЙ РАСТРУБ – КАТЕГОРИЧЕСКИ ЗАПРЕЩАЕТСЯ ТУШИТЬ ЭЛЕКТРОУСТАНОВКУ ПОД НАПРЯЖЕНИЕМ!!!

4) огнетушитель воздушно-пенный. Предназначен для тушения пожаров и загораний твердых веществ и материалов, легковоспламеняющихся жидкостей, КРОМЕ щелочных металлов и веществ, горение которых происходит без доступа воздуха, а также электроустановок под напряжением.

Принцип действия основан на вытеснении раствора пенообразователя избыточным давлением рабочего газа. При срабатывании запорно-пускового устройства прокалывается заглушка баллона с рабочим газом. Пенообразователь выдавливается газом через каналы и сифонную трубку. В насадке (генератор воздушно-механической пены) пенообразователь перемешивается с засасываемым воздухом и образуется пена, которая попадает на горящее вещество, охлаждает его и изолирует от кислорода. Огнетушащее вещество состоит из 94% воды и 6% пенообразователя (техническое мыло). Огнетушители подразделяются на закачные и с дополнительным носителем рабочего газа. Приведение в действие воздушно-пенных огнетушителей: 1 – сорвать пломбу, выдернуть чеку, 2 – нажать на рычаг, направить насадку на очаг пожара, 3 – нажать рычаг на насадке и приступить к тушению пожара.

5) огнетушитель воздушно-эмульсионный.

<== предыдущая лекция | следующая лекция ==>
Требования пожарной безопасности по хранению легковоспламеняющихся и горючих веществ установлены разделом 13 ПБ 01 – 03 “Объекты хранения”. | Способы и приемы прекращения горения
Поделиться с друзьями:

mylektsii.su - Мои Лекции - 2015-2026 год. (4.963 сек.)Все материалы представленные на сайте исключительно с целью ознакомления читателями и не преследуют коммерческих целей или нарушение авторских прав Пожаловаться на материал