Студопедия

Главная страница Случайная страница

КАТЕГОРИИ:

АвтомобилиАстрономияБиологияГеографияДом и садДругие языкиДругоеИнформатикаИсторияКультураЛитератураЛогикаМатематикаМедицинаМеталлургияМеханикаОбразованиеОхрана трудаПедагогикаПолитикаПравоПсихологияРелигияРиторикаСоциологияСпортСтроительствоТехнологияТуризмФизикаФилософияФинансыХимияЧерчениеЭкологияЭкономикаЭлектроника






Устройство и принцип действия АП – 2000.






1. Подвесная система.

Основой аппарата (рисунок 4.10) является подвесная система, служащая для монтажа на ней всех частей аппарата и его крепления на теле человека, включающая в себя основание 23, плечевые ремни 6, концевые ремни 22 и поясной ремень 21.

Рис.4.10 Аппарат дыхательный АП-2000

1 - маска; 2 - кнопка отключения легочного автомата; 3 - маховичок байпаса; 4 - легочный автомат; 5 - многофункциональная кнопка (байпаса и отключе­ния легочного автомата); 6 - плечевой ремень; 7 - шланг; 8 - баллон с венти­лем; 9 - шланг высокого давления; 10 - свисток; 11 - корпус сигнального уст­ройства; 12 - манометр; 13 - штекерный ниппель; 14 - шланг устройства для дозарядки; 15 - спасательное устройство; 16 - редуктор; 17 - кронштейн; 18 -маховичок вентиля; 19 - поясной ремень; 20 - замок подключения спасательно­го устройства; 21 - шланг для подключения спасательного устройства; 22 -концевой ремень; 23 - основание; 24 - ремень; 25 - замок; 26 - тройник.

 

На подвесной системе смонтированы следующие составные части аппарата:

- баллон с вентилем 8 (для исполнения 1, 2, 4) или два баллона с вентелями и тройником 26 (для исполнения)

- редуктор 16, закрепленный на основание 23 с помощью кронштейна 17.

- Сигнальное устройство с монометром 12, корпусом 11, свистком 10 и шлангом 9, идущим от редуктора 16 по левому плечевому ремню

- Шланг низкого давления 7, проложенный по правому плечевому ремню, соединяющий редуктор 16 с легочным автоматом 4

- Шланг 21 с легочным замком 20 для подключения спасательного устройства 15 к аппарату, идущий от редуктора 16 по правой части поясного ремня

- Шланг высокого давления 14 со штекером ниппелем 13 для дозарядки аппарата методом перепуска, идущий от редуктора 16 по левой части поясного ремня

Для более удобного крепления аппарата на теле пользователя в подвесной системе предусмотрена возможность регулировки длинны ремней.

Для регулировки положения плечевых ремней в зависимости от комплекции пользователя в верхней части основания аппарата предусмотрены две группы пазов.

 

2. Баллон с вентилем.

Баллон является емкостью для хранения запаса сжатого воздуха, пригодного для дыхания. Баллон 8 (рисунок 1) плотно уложен в ложемент основания 23, при этом верхняя часть баллона пристегивается к основанию с помощью ремня 24 с замком 25, вентели баллонов аппарата исполнения 3 соединены между собой тройником26 с резьбовыми штуцерами и маховичками.

Для защиты от повреждения поверхности металлокомпозитного баллона и продление срока его службы в процессе эксплуотации аппарата может применяться чехол. Чехол выполнен из плотной ткани красного цвета. На поверхности чехла нашита белая светоотражающая ткань, что позволяет контролировать местонахождение пользователя в условиях плохой видимости.

3. Сигнальное устройство.

Сигнальное устройство предназначено для подачи звукового сигнала, предупреждающего пользователя о снижении давления воздуха в баллоне до 5, 5 – 6, 8 МПа, и состоит из корпуса 11 (рисунок 4.10) и ввернутых в него свистка 10 и манометра 12.

Манометр аппарата предназначен для контроля давления сжатого воздуха в баллоне при открытом вентеле.

4. Редуктор.

Редуктор (рисунок 4.11) предназначен для понижения давления сжатого воздуха и подачи его к легочным автоматам аппарата и спасательного устройства.

Рис.4.11. Редуктор:

1 – корпус редуктора; 2- маховичок; 3 – резьбовой штуцер; 4 – кольцо 9В8.684.909; 5 – манжета; 6 – предохранительный клапан; 7 – пломба.

 

 

На корпусе 1 редуктора имеется резьбовой штуцер 3 с маховичком 2 для соединения с вентелем баллона (исполнение 1, 2, и 4) или тройником (исполнение 3). Встроенный предохранительный клапан 6 редуктора защищает полость низкого давления аппарата от чрезмерного роста давления на выходе редуктора.

Редуктор обеспечивает работу без регулировки в течении всего срока службы и не подлежит разборки.

Редуктор опломбирован пломбировочной пастой при нарушении сохранности пломб претензии к работе редуктора предприятием изготовителем не принимаются.

5. Маска.

В состав аппарата в зависимости от комплектации могут входить два варианта масок:

- маска ПМ –2000 с легочным автоматом 9В5.893.497 –вариант 1;

- маска «Пана Сил» из неопрена или силикона с резиновым или сетчатым оголовьем с легочным автоматом 9В5.893.460 – вариант 2;

маска (рисунки 4.12, 4.13) предназначена для изоляции органов дыхания и зрения человека от окружающей среды, подачи воздуха от легочного автомата 6 в органы дыхания человека через клапаны вдоха 3, расположенного в подмасочнике 2, и удаления выдыхаемого воздуха через клапан выдоха 8 в окружающую среду.

Рис.4.12. Маска ПМ – 2000 с легочным автоматом (вариант 1)

1 - корпус маски; 2 - подмасочник; 3 - клапаны вдоха; 4 - переговорное устройство; 5 – гайка; б - позорный автомат; 7 - многофункцио­нальная кнопка; 8 - клапан выдоха; 9 - шланг легочного автомата; 10 – лямка; 11 – замок; 12 - ремни оголовья; 13 - крышка клапанной коробки; 14 – корпус; 15-сетка; 76 - мембрана; 17- кольцо.

Рис.4.13. Маска «Пана Сил» из неопрена или силикона с резиновым или сетчатым оголовьем с легочным автоматом (вариант 2)

1 - корпус маски; 2 - подмасочник; 3 - клапаны вдоха; 4 - переговорное устройство; 5 - кнопка отключения легочного автомата; 6 - легочный автомат; 7 - маховичок устройства дополнительной подачи (байпаса); 8 - клапан выдоха; 9 - шланг легочного автомата; 10 - лямка; 11 - замок; 12- ремни оголовья; 13- фиксатор; 14- крышка клапанной коробки.

 

В корпусе маски 1 имеется встроенное переговорное устройство 4, обеспечивающее возможность передачи речевых сообщений. В конструкции маски предусмотрена возможность регулировки длинны ремней оголовья 12.

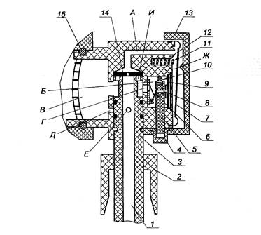
6. Легочный автомат.

Легочный автомат 6 (рисунок 4.14) предназначен для подачи воздуха во внутреннюю полость маски с избыточным давлением, включения дополнительной непрерывной подачи воздуха при отказе легочного автомата или нехватки воздуха пользователю и принудительного выключения подачи воздуха после снятия маски.

 

 

Рис. 4.14. Принципиальная схема легочного автомата.

 
 

1 - шланг легочного автомата; 2 - маховичок байпаса; 3 - шток; 4 - кноп­ка отключения легочного автомата; 5 - шток; 6 - плоская пружина; 7 -мембрана; 8 - седло; 9 - мембрана; 10 - пружина; 11 - пружина; 12 - седло; 13 - крышка; 14 - клапан; 15 - кольцо 054.111.22.

А - канал; Б, В, Ж- полости; Г, Д, Е, И - отверстия.

 

Легочный автомат крепится к маске с помощью гайки с резьбой М45х3 (вариант 1) или шарнирного соединения и фиксатора 13 (вариант 2)

 

7. Спасательное устройство.

Спасательное устройство (рисунок 4.15) предназначено для защиты органов дыхания и зрения пострадавшего человека при его спасении пользователем аппарата и выводе из зоны с непригодной для дыхания газовой средой.

Рис.4.15. Спасательное устройство

1 – маска спасательного устройства; 2 - легочный автомат; 3 - кнопка байпаса; 4 - шланг; 5 - гайка.

 

 

Спасательное устройство включает в себя:

- носимую в сумке маску 1, представляющую собой лицевую часть ШМП-1 рост 12.4.166

- легочный автомат 2 с кнопкой байпаса 3 и шлангом 4

легочный автомат крепится к маске с помощью гайки 5 с резьбой круглой 40х4.

Для подключения спасательного устройства к аппарату используется шланг 21 (рисунок 4.15) который предприятие изготовитель устанавливает на аппарате при заказе спасательного устройства.

В случае отсутствия заказа на редукторе устанавливается пробка 12 (рисунок 4.15). Конструктивно легочный автомат спасательного устройства отличается от легочного автомата аппарата (вариант 1) отсутствием возможности создания избыточного давления и типом резьбы крепления к маске.

8. Устройство для дозарядки аппарата воздухом.

Устройство для дозарядки аппарата воздухом представляет возможность не прерывая функционирования аппарата дозаряжать баллон аппарата методом перепуска.

Устройство включает в себя шланг высокого давления 14 (рисунок 4.10) со штекером ниппелем 13, устанавливаемый на аппарате предприятием изготовителем при заказе устройства для дозарядки и шланг с полумуфтой для подключения к стационарному баллону.

В случае отсутствия заказа устройства на редукторе устанавливается пробка 13 (рисунок 6).

9. Работа.

Включение в работу механизма легочного аппарата при открытом вентеле осуществляется автоматически – усилием первого вдоха пользователя. Выключение механизма легочного автомата при снятии маски с головы осуществляется принудительно – нажатием до упора на кнопку 5 (вариант 1) или на кнопку 2 (вариант 2).

Включение устройства дополнительной подачи воздуха (байпаса) осуществляется плавным нажатием на кнопку 5 и удержании ее в этом положении (вариант 1) или поворотом на 90* против часовой стрелки маховичка байпаса 3 (вариант 1).

Контроль давления воздуха осуществляется по манометру 12, смонтированному на шланге 9, который вынесен на левый плечевой ремень подвесной системы. Шкала манометра – фотолюминесцентная для использования при слабом освещении и в темноте.

Принцип работы представлен на принципиальной схеме аппарата (рисунок 4.16).

При закрытом вентеле 3.2 клапан 9.1 редуктора 9 открыт усилием пружины 9.2.

При включении в аппарат пользователь открывает вентель 3.2. Сжатый воздух, содержащийся в баллоне 3.1, через открытый вентель 3.2 (для исполнения 3 – через вентили и тройник 4) поступает на выход редуктора 9. Одновременно через шланг высокого давления 7 воздух поступает на сигнальное устройство 5.

Под действием давления воздуха, поступающего с выхода редуктора в полость Б, пружина 9.2 сжимается и клапан 9.1 закрывается. При отборе воздуха через шланг 11 давление в полости Б понижается и клапан 9.1 под действием пружины 9.2 открывается на определенную величину.

Устанавливается равновесное состояние, при котором воздух с давлением, сниженным до рабочей величены, определяемой усилием пружины 9.2, поступает по шлангу 11 на вход легочного автомата 1 и в полость шланга 8.

При отключенном легочном аппарате 1 и снятой с лица пользователя маске 2 фиксатор кнопки 1.8 находится в зацепленном с мембраной 1.4, которая усилием пружины 1.9 отведена в крайнее не рабочее положение и не касается опоры 1.6, а клапан 1.1 закрыт усилием пружины 1.2. При надетой на лицо маске в процессе первого вдоха в полости А легочного автомата 1 образуется разрежение. Под действием разности давлений мембрана 1.4 прогибается, соскакивает с фиксатора кнопки1.8 и переходит в рабочее состояние. Под действием усилия пружины 1.10 мембрана 1.4 нажимает на опору 1.6 и через шток 1.7 отклоняет клапан 1.1 от седла 1.5.

При отказе легочного автомата или при необходимости продувки подмасочного пространства клапан 1.1 открывается нажатием и удерживанием кнопки байпаса 1.8, при этом воздух идет непрерывным потоком. Следует помнить, что включение непрерывной дополнительной подачи уменьшает время защитного действия аппарата.

Легочный автомат при помощи пружины 1.10 совместно с подпружиненным клапаном выдоха 2.3 маски создает поток воздуха с избыточным давлением, который поступает вначале на панорамное стекло 2.1, предотвращая его запотевание, а затем через клапаны вдоха 2.2- в органы дыхания человека.

При выдохе в полости А давление повышается, воздействуя на мембрану 1.4 и пружину 1.10, сжимая ее. При этом клапан 1.1 закрывается, прекращая подачу воздуха, а клапан выдоха 2.3 открывается и выпускает выдыхаемый воздух в окружающею среду.

Отключение легочного автомата происходит при нажатии на кнопку 1.8 до упора, при этом фиксатор кнопки входит в гнездо мембраны 1.4, а усилие пружины 1.9 отводит мембраны в крайнее нерабочее положение.

При отключенном легочном автомате и снятой с лица пользователя маске шток 5 находится в утопленном состоянии, при этом плоская пружина 6 упирается в канавку штока и фиксирует его. Воздух по шлангу 1 поступает через отверстие в гибком клапане 14 и каналу А в подмембранную полость Ж. Давление воздуха прижимает мембрану 9 к седлу 8, при этом отверстие в мембране перекрывается, отсекая полость Ж от подмасочной полости В.

Под действием растущего в полости Ж давления мембрана 7 поворачивается на выступе крышки 13 и, преодолевая усилие пружины 11, прижимается к седлу 12. При этом канал А перекрывается, давление в канале и полости шланга 1 выравнивается, клапан 14 прижимается к седлу штока 3, перекрывая отверстие И.

При надетой на лицо маске в процессе первого вдоха в полости В и связанной с ней отверстием Г полости Б образуется разрежение.

Под действием разности давлений мембрана 9 прогибается и через седло 8 нажимает на пружину 6, которая при этом выходит из канавки штока 5, освобождая его. Под действием пружины 10 шток 5 с седлом 8 перемещается, открывает отверстие в мембране 9, соединяя полости Ж и В. Давление в полости Ж понижается, мембрана 7 под действием пружины 11 отходит из седла 12. Давление в канале А понижается, клапан 14 прогибается, и воздух через отверстие И в штоке 3 поступает в подмасочную полость В.

Подпружиненный клапан выдоха маски обеспечивает поддержание избыточного давления в полости В, в результате чего давление в полости В и связанных с ней полостях Б и Ж снова повышается. Далее процесс происходит описанным выше образом и приводит к закрытию клапана 14.

При выдохе открывается клапан выдоха маски и выпускает выдыхаемый воздух в окружающую среду.

Отключение легочного аппарата происходит при нажатии на кнопку 4, при этом шток 5 с седлом 8, перемещается, перекрывая отверстие в мембране 9, а пружина 6 попадает в канавку штока 5.

Включение дополнительной подачи воздуха осуществляется при повороте маховичка байпаса 2 против часовой стрелки на 90, отверстие Д и Е совмещаются и воздух поступает в полость В непрерывным потоком.

При понижении давления воздуха в баллоне в процессе работы до минимально допустимого значения срабатывает свисток 5.1 (рисунок 6) сигнального устройства 5, звуковым сигналом предупреждающий пользователя аппарата о том, что в баллоне остался только резервный запас воздуха и необходимо выйти из зоны с непригодной для дыхания газовой средой.

При необходимости эвакуации пострадавшего спасательное устройство 6 извлекается из сумки, ниппель 6.5 шланга 6.1 пристыковывается к замку 8.1 шланга 8. маска спасательного устройства 6.3 надевается на голову пострадавшего, в результате чего последний получает возможность дышать воздухом из аппарата.

При дозарядки баллона аппарата от стационарного баллона, оснащенного шлангом с полумуфтой, к нему пристыковывается штекерный ниппель шланга 10 аппарата.

 


 
 


1 Легочный автомат

1.1 -клапан; 1.2, 1.9, 1.10-пружина; 1.4 - мембрана; 1.5 - седло клапана; 1.6- опора, 1.7 - шток; 1.8- кнопка; 1.11 - крышка.

2 Маска:

2.1 - панорамное стекло; 2.2 - клапаны вдоха; 2.3 - клапан выдоха.

3. Баллон с вентилем:

3 1 - баллон; 3.2 - вентиль; 3.3 - маховичок; 3.4- кольцо 9В8.684.919.

4. Тройник:

4.1 - кольцо 9В8.684.909.

5 Сигнальное устройство:

5.1 - манометр; 5.2- свисток; 5.3 - стопорное кольцо; 5.4- кольцо.

6 Спасательное устройство:

6.1- шланг, 6.2- легочный автомат; 6.3 - маска; 6.4- кнопка байпаса; 6.5-ниппель.

Рисунок 4.16. Принципиальная

7. Шланг высокого давления:

7.1- кольце

8. Шланг для подключения спасательного устройства:

8.1 - замок; 8.2- втулка; 8 3 - шарик; 8.4- клапан.

9. Редуктор:

9.1 - клапан; 9.2 - пружина; 9.3 - кольцо 968.684.909.

10. Шланг со штекерным ниппелем для дозарядки баллонов

11. Шланг легочного автомата:

11.1 -кольцо

12, 13 Пробки. (Устанавливаются в зависимости от комплектации взамен поз. 8 и 10 соответственно)

А. Б. полости → вдыхаемый воздух

=> выдыхаемый воздух.

 

схема аппарата АП-2000


Указания мер безопасности.

Для обеспечения безопасности при эксплуатации аппарата необходимо соблюдать нижеприведенные требования.

1. Баллоны, находящиеся в эксплуатации, должны подвергаться повторным гидравлическим испытаниям заводом — наполнителем и иметь соответствующее клеймо, зарегистрированное госгортехнадзором.

Наполнение сжатым воздухом баллонов с просроченным испытательным сроком категорически запрещается.

2. Запрещается производить подтяжку соединений, находящихся под высоким давлением, для устранения в них течи.

3. Во время работы и при передвижении в тесных проходах необходимо оберегать аппарат от ударов и повреждений.

4. Поскольку установленное для аппаратов рабочее давление 30, 0 МПа относится к температуре + 20°С, то при заполнении баллонов необходимо учитывать температуру окружающего воздуха.

В таблице 3 приведена зависимость давления воздуха в баллоне аппарата от температуры окружающего воздуха (после того, как температура баллона сравняется с температурой окружающего воздуха).

 

Таблица 4.3

Температура окружающего воздуха, °С —30 —20 —10 0 +10 +20 +30 +40

Давление воздуха в баллоне, МПа 16, 7 17, 3 18, 0 18, 7 19, 3 20, 0 20, 7 21, 3

 

5. Баллоны для аппарата должны наполняться чистым, не имеющим вредных примесей атмосферным воздухом. Поэтому компрессоры, применяемые для накачки баллонов сжатым воздухом, должны снабжаться, кроме обычного водомаслоотделителя, специальным фильтром, поглощающим пары масла и прочие вредные газообразные примеси.

6. Безопасность при производстве работ в отравленной атмосфере должна обеспечиваться выполнением наставления по ГДЗС.

 

 


Поделиться с друзьями:

mylektsii.su - Мои Лекции - 2015-2026 год. (2.343 сек.)Все материалы представленные на сайте исключительно с целью ознакомления читателями и не преследуют коммерческих целей или нарушение авторских прав Пожаловаться на материал