Студопедия

Главная страница Случайная страница

КАТЕГОРИИ:

АвтомобилиАстрономияБиологияГеографияДом и садДругие языкиДругоеИнформатикаИсторияКультураЛитератураЛогикаМатематикаМедицинаМеталлургияМеханикаОбразованиеОхрана трудаПедагогикаПолитикаПравоПсихологияРелигияРиторикаСоциологияСпортСтроительствоТехнологияТуризмФизикаФилософияФинансыХимияЧерчениеЭкологияЭкономикаЭлектроника






КПД общий 0,27






Габариты, мм:

длина 600

ширина 350

высота 650

Масса, кг 140

 

 

Шестеренные насосы в основном применяют как навесные, предназначенные для тушения пожаров в сельской местности. Навесные шестеренные насосы устанавливают на переднем бампере автомобилей ГАЗ-51, ГАЗ-63 и ЗИЛ-130, тракторах и других транспортных средствах.

Наибольшее распространение получил навесной шестеренный самовсасывающий насос НШН-600, работающий без вакуумного аппарата от водоисточников с глубиной всасывания не более 6 м.

Подачу шестеренного насоса можно рассчитать для любой частоты вращения, если известны его геометрические параметры и объемный КПД:

 

Q = π (R2-r2)bn,

 

где R — радиус окружности выступов, м; г — радиус окружности впадин, м; b — ширина шестерни, м; n — частота вращения, с-1; η 0 — объемный КПД.

Корпус 1 шестеренного насоса НШН-600 (рис. 5.18) изготовлен из чугуна и имеет внутри две цилиндрические расточки для размещения стальных шестерен 4 с эвольвентным профилем зубьев. На ведущем и ведомом валах 2 закреплены на шпонках 3 шестерни 4. Опорами валов служат шариковые подшипники. Для прочности шестерни и валы подвергают термической обработке.

Предохранительный клапан запирает канал между всасывающей и напорной полостью насоса и состоит из корпуса 8, бронзового клапана 6, стальной пружины 7, упора 9, регулировочного болта 11 с контргайкой 10 и алюминиевого колпачка клапана 12.

В корпусе насоса предусмотрены два отверстия с заглушками 5: одно — для присоединения манометра к напорной полости; другое — для установки вакуумметра к всасывающей полости насоса или для предварительной заливки насоса и всасывающей линии водой.

Подшипники валов установлены в боковых крышках 14. От полости насоса подшипники защищены резиновыми сальниками. Снаружи подшипники закрыты крышками 13, причем верхние крышки глухие, а нижние имеют отверстия для выхода концов вала с войлочным уплотнением.

 

Рис. 5.18. Шестеренный насос НШН-600:

1 — корпус; 2— вал; 3 — шпонка; 4 — шестерня; 5 —заглушка;

6 — клапан; 7 —«пружина; S — корпус клапана; 9 — упор;

10 — контргайка; 11 — регулировочный болт; 12 — колпачок;

13 — крышка подшипника; 14 — крышка насоса.

 

Крышки 14 привинчены гайками и не имеют прокладок. Герметичность достигается затяжкой гаек. Зазор при полной затяжке гаек между крышками и торцами шестерен составляет 0, 08...0, 18 мм, что позволяет создавать достаточное разрежение в полости насоса и осуществлять подъем воды из открытых водоисточников.

Насосы НШН-600 поставляются заводами с комплектом оборудования для подвески на транспортных средствах. Кроме того, прилагается следующее пожарно-техническое оборудование: два всасывающих рукава диаметром 75мм; всасывающая сетка СВ-80; два напорных льняных рукава диаметром 66 мм и три диаметром 51 мм; трехходовое разветвление РТ-70; ручные стволы РС-70 и РС-50.

Вариант установки насоса на автомобили марки ГАЗ-51 и ГАЗ-53 представлен на рис. 5.19., а на автомобиль марки ЗИЛ-130 — на рис. 5.20. Установка насосов на тракторы Т-40 и Т-40А показана на рис. 5.21.

 

 

Рис. 5.19. Установка насоса НШН-600 на шасси автомобилей ГАЗ:

1 — шкив коленчатого вала двигателя; 2 — храповик; 3 — вал привода;

4 — кронштейн заводной рукоятки; 5 — муфта в сборе; 6 — насос;

7 — заводная рукоятка; 8—кронштейн в сборе;

9 — регулировочный болт; 10—косынка в сборе.

 

 

Рис. 5.20. Установка насоса НШН-600 на шасси автомобилей ЗИЛ:

1 — вал привода; 2 — муфта; 3 —бампер; 4 — косынка.

 

Для крепления насоса НШН-600 к бамперу автомобилей ГАЗ-51 и ГАЗ-53 (см. рис. 19) вал привода 3 пропускают через отверстие кронштейна заводной рукоятки 4. Передние отверстия основания корпуса насоса 6 должны зайти за фиксаторы, после чего фиксаторы оттягивают вниз, поворачивают на 90°, и насос перемещается до совмещения средних отверстий основания с фиксаторами. Фиксаторы под действием пружин входят в средние конусные отверстия основания корпуса насоса и закрепляют его, а вал привода своими шлицами соединяется со шлицами специального храповика 2, который прикреплен болтами к шкиву 1. После установки насоса проверяют правильность его монтажа по радиальному биению соединительной муфты 5, которое не более 0, 7мм. Затем окончательно закрепляют кронштейн 8 с косынкой 10 подтягиванием гаек. Если биение муфты превышает 0, 7 мм, необходимо отрегулировать установку насоса регулировочным болтом 9 и гайками крепления кронштейна. При необходимости пуска ДВС вручную используют рукоятку 7.

 

Рис. 5.21. Установка насоса НШН-600 на тракторы Т-40, Т-40А:

1— замковая шайба; 2 — контргайка; 3 — храповик;

4 — приводной вал; 5 —муфта; 6 — косынка;

7 — передний брус рамы; 8 — коленчатый вал двигателя.

 

Насос НШН-600 на бампере автомобиля ЗИЛ-130 (см. рис. 5.20) крепят аналогичным образом, только вал привода пропускают через отверстие в бампере, а не в кронштейне.

При установке насоса на тракторе Т-40 и Т-40А (см. рис. 5.21) его монтируют на брусе передней рамы трактора аналогично с установкой насоса на шасси автомобилей ГАЗ и ЗИЛ.

Гидроэлеватор Г-600А. Предназначен для забора воды из открытых водоисточников, которые находятся ниже уровня насоса до 20 м и удалены от пожарного автомобиля на расстояние до 100м. Гидроэлеватор может забирать воду из водоисточников с небольшой глубиной (5...10 см). Это свойство гидроэлеваторов позволяет использовать их для откачки воды, пролитой при тушении пожара.

Гидроэлеватор Г-600А (рис. 5.22) состоит из корпуса, на котором шпильками закреплены колено 1 и диффузор 5 со смесительной камерой. Внутри корпуса установлен конический насадок 4, через который проходит поток рабочей жидкости, подаваемой от центробежного насоса ПА.

 

 

Рис. 5.22. Гидроэлеватор Г-600А:

1—колено; 2—камера; 3 — решетка; 4- сопло;

5 — диффузор; 6 — головка соединительная ГМ-80;

7 — головка соединительная ГМ-70.

 

Эжектируемая жидкость из открытого водоисточника через всасывающую сетку 3 поступает в вакуумную камеру и далее вместе с потоком рабочей жидкости перемещается в смесительную камеру и диффузор. Для соединения гидроэлеватора пожарными рукавами предусмотрены на колене гидроэлеватора и диффузора муфтовые соединительные головки.

 

Эксплуатация пожарных насосов.

 

Эксплуатацию и техническое обслуживание насосов пожарных автомобилей выполняют в соответствии с «Наставлением по эксплуатации пожарной техники», инструкциями заводов-изготовителей на пожарные автомобили, паспортами на пожарные насосы и другими нормативными документами.

При получении пожарных автомобилей необходимо проверить сохранность пломб на насосном отсеке.

Перед постановкой в боевой расчет необходимо произвести обкатку насосов при работе на открытых водоисточниках. Геометрическая высота всасывания при обкатке насосов не должна превышать 1, 5 м. Всасывающая линия должна быть проложена на два рукава со всасывающей сеткой. От насоса должны быть проложены две напорные рукавные линии диаметром 66 мм, каждая на один рукав длиной 20 м. Вода подается через стволы РС-70 с диаметром насадков 19 мм. При обкатке напор на насосе необходимо поддерживать не более 50 м. Обкатка насоса осуществляется в течение 10 ч. При обкатке насосов и их установке на пожарные водоемы не допускается направлять стволы и струи воды в водоем. В противном случае в воде образуются мелкие пузырьки, которые через сетку и всасывающую линию попадают в насос и тем самым способствуют возникновению кавитации. Кроме того, параметры насоса (напор и подача) даже без кавитации будут ниже, чем в обычных условиях работы.

Обкатку насосов после капитального ремонта осуществляют также в течение 10 ч и в том же режиме, после текущего ремонта — в течение 5 ч.

Во время обкатки необходимо следить за показаниями приборов (тахометра, манометра, вакуумметра) и за температурой корпуса насоса в месте установки подшипников и сальников. Через каждый 1 ч работы насоса необходимо на 2...3 оборота повернуть масленку для смазки сальников. Перед обкаткой масленка должна быть заполнена специальной смазкой, а в пространство между передним и задним подшипниками залито трансмиссионное масло.

Целью обкатки является не только приработка деталей и элементов трансмиссии и пожарного насоса, но и проверка работоспособности насоса. Если при обкатке будут обнаружены мелкие неисправности, их следует устранить, после чего производить дальнейшую обкатку.

При обнаружении дефектов во время обкатки или в течение гарантийного срока эксплуатации необходимо составить акт-рекламацию и предъявить его заводу-поставщику пожарного автомобиля. Порядок предъявления акта-рекламации заводу-поставщику изложен в «Наставлении по эксплуатации пожарной техники». Перед составлением акта-рекламации на крупный дефект необходимо телеграммой вызвать представителя завода-поставщика. Если в трехдневный срок представитель завода не прибыл или известил телеграммой о невозможности прибытия, составляют односторонний акт-рекламацию с участием специалиста незаинтересованной стороны. Запрещается разбирать насос или другие узлы, в которых обнаружен дефект, до прибытия представителя завода или сообщения о получении акта-рекламации заводом.

Гарантийный срок для насосов пожарного автомобиля в соответствии с ОСТ 22-929-76 установлен 18 мес. со дня получения. Ресурс работы насоса ПН-40УА до первого капитального ремонта по паспорту — 950 ч.

Обкатка насосов должна заканчиваться их испытанием на напор и подачу при номинальной частоте вращения вала насоса. Испытание удобно выполнять на специальных стендах станции технической диагностики ПА в отрядах (частях) технической службы. Если таких стендов в гарнизоне пожарной охраны нет, то испытание производят в пожарной части.

В соответствии с ОСТ 22-929-76 уменьшение напора насосов при номинальной подаче и частоте вращения рабочего колеса не должно быть более 5 % номинального значения для новых насосов.

Результаты обкатки насоса и его испытаний записывают в формуляр пожарного автомобиля.

После обкатки и испытаний пожарного насоса следует провести техническое обслуживание № 1 насоса. Особое внимание необходимо уделить работам по замене масла в корпусе насоса и проверке крепления рабочего колеса. Ежедневно при смене караула водитель должен проверить:

· чистоту, исправность и комплектность узлов и агрегатов насоса и его коммуникаций внешним осмотром, отсутствие посторонних предметов во всасывающем и напорных патрубках насоса;

· работу задвижек на напорном коллекторе и водо-пенных коммуникациях;

· наличие смазки в сальниковой масленке и масла в корпусе насоса;

· отсутствие воды в насосе;

· исправность контрольных приборов на насосе;

· подсветку в вакуумном кране, лампу в плафоне освещения насосного отсека;

· насос и водо-пенные коммуникации на «сухой вакуум».

Для смазки сальников масленку заправляют смазками типа солидол С или прессолидол-С, ЦИАТИ-201. Для смазки шариковых подшипников насоса в корпус заливают трансмиссионные масла общего назначения типа: ТАп-15 В, ТСп-14. Уровень масла должен соответствовать риске на масляном щупе. Замену масла рекомендуется производить через 100...120 ч работы насоса.

При проверке насоса на «сухой вакуум» необходимо закрыть все краны и задвижки на насосе, включить двигатель и создать разрежение в насосе при помощи вакуумной системы 73...36 кПа (0, 73...0, 76 кгс/см2). Падение разрежения в насосе должно быть не более 13 кПа (0, 13 кгс/см2) за 2, 5 мин. Если насос не выдерживает испытания на вакуум, необходимо произвести опрессовку насоса воздухом под давлением 200...300 кПа (2... 3 кгс/см2) или водой под давлением 1200...1300 кПа (12...13 кгс/см2). Перед опрессовкой места соединений целесообразно смочить мыльным раствором.

Для измерения разрежения в насосе необходимо использовать приставной вакуумметр с соединительной головкой или резьбой для установки на всасывающий патрубок насоса или вакуумметр, установленный на насосе. В этом случае на всасывающий патрубок устанавливают заглушку.

При обслуживании насосов на пожаре или учении необходимо:

· поставить машину на водоисточник так, чтобы всасывающая линия была по возможности на 1 рукав, изгиб рукава был плавно направлен вниз и начинался непосредственно за всасывающим патрубком насоса (рис. 5.23);

· для включения насоса при работающем двигателе необходимо, выжав сцепление, включить коробку отбора мощности в кабине водителя, а затем выключить сцепление рукояткой в насосном отсеке;

· погрузить всасывающую сетку в воду на глубину не менее 600 мм, проследить, чтобы всасывающая сетка не касалась дна водоема;

· проверить перед забором воды закрытие всех задвижек и кранов на насосе и водо-пенных коммуникациях;

· забрать воду из водоема включением вакуумной системы, для чего выполнить следующие работы:

 

 

 

Рис. 5.23. Прокладка всасывающих рукавных линий

1 — плавный изгиб; 2 — сетка на глубине не менее 600 мм;

3 — направляющая для рукава.

 

- включить подсветку, повернуть на себя рукоятку вакуумного клапана;

- включить газоструйный вакуумный аппарат;

- увеличить частоту вращения рычагом «Газ»;

- при появлении воды в смотровом глазке вакуумного клапана закрыть его поворотом рукоятки;

- снизить рычагом «Газ» частоту вращения до холостого хода;

- плавно включить сцепление рычагом в насосном отсеке;

- выключить вакуумный аппарат;

· довести рычагом «Газ» напор на насосе (по манометру) до 30 м;

· плавно открыть напорные задвижки, рычагом «Газ» установить необходимое давление на насосе;

· следить за показаниями приборов и возможными неисправностями;

· при работе от пожарных водоемов особое внимание уделить контролю за уровнем воды в водоеме и положению всасывающей сетки;

· через каждый час работы насоса смазать сальники поворотом крышки масленки на 2...3 оборота;

· после подачи пены с использованием пеносмесителя промыть насос и коммуникации водой от цистерны или водоисточника;

· заправлять водой цистерну после пожара от используемого водоисточника рекомендуется только в том случае, если есть уверенность, что вода не имеет примесей;

· после работы слить воду из насоса, закрыть задвижки, установить заглушки на патрубки.

При использовании насосов зимой необходимо предусмотреть меры против замерзания воды в насосе и в напорных пожарных рукавах:

· при температуре ниже 0°С включить систему отопления насосного отсека и выключить дополнительную систему охлаждения двигателя;

· при кратковременном прекращении подачи воды не выключать привод насоса, держать малые обороты на насосе;

· при работе насоса закрыть дверцу насосного отсека и следить за контрольными приборами через окно;

· для предотвращения замерзания воды в рукавах не перекрывать полностью стволы;

· разбирать рукавные линии от ствола к насосу, не прекращая подачу воды (в малом количестве);

· при длительной остановке насоса слить из него воду;

· перед использованием насоса зимой после длительной стоянки провернуть заводной рукояткой вал двигателя и трансмиссию на насос, убедившись в том, что рабочее колесо не примерзло;

· замерзшую в насосе, в соединениях рукавных линий воду отогревать горячей водой, паром (от специальной техники) или выхлопными газами от двигателя.

Техническое обслуживание № 1 (ТО-1) по пожарному автомобилю производят через 1000 км общего пробега (с учетом приведенного), но не реже одного раза в месяц.

По пожарному насосу перед ТО-1 проводят ежедневное обслуживание. ТО-1 включает:

проверку крепления насоса к раме;

проверку резьбовых соединений;

проверку исправности (при необходимости разборку, смазку и мелкий ремонт или замену) кранов, задвижек, контрольных приборов;

неполную разборку насоса (снятие крышки), проверку крепления рабочего колеса, шпоночного соединения,

устранение засорения проточных каналов рабочего колеса;

замену масла и заправку сальниковой масленки;

проверку насоса на «сухой вакуум»;

испытание насоса на забор и подачу воды из открытого водоисточника.

Техническое обслуживание № 2 (ТО-2) по пожарному автомобилю производят через каждые 5000 км общего пробега, но не реже одного раза в год.

ТО-2, как правило, выполняют в отрядах (частях) технической службы на специальных постах. Перед проведением ТО-2 автомобиль, включая насосную установку, диагностируют на специальных стендах. ТО-2 включает выполнение тех же операций, что ТО-1, и, кроме того, предусматривает проверку:

правильности показаний контрольных приборов или их аттестацию в специальных учреждениях;

напора и подачи насоса при номинальной частоте вращения вала насоса на специальном стенде станции технической диагностики или по упрощенной методике с установкой на открытый водоисточник и с использованием контрольных приборов насоса. Подачу насоса измеряют по стволам-водомерам или оценивают приближенно по диаметру насадков на стволах и напору на насосе. Падение напора насоса должно быть не более 15 % номинального значения при номинальной подаче и частоте вращения вала;

герметичности насоса и водо-пенных коммуникаций на специальном стенде с последующим устранением неисправностей.

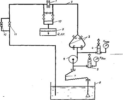
Стенд для диагностирования насоса на напор и подачу устанавливают на станции технической диагностики на посту диагностирования специальных агрегатов пожарного автомобиля. Стенд (рис. 5.24) состоит из водоема 6, на который при помощи всасывающего рукава установлен пожарный насос. Вакуумметр и манометр на пожарном насосе 8 убирают, а в отверстие подсоединяют демпферы для манометра 4 и вакуумметра 5. Этим обеспечивается точность измерений и устраняется вибрация стрелок на приборах. К патрубкам на напорном коллекторе насоса при помощи напорных рукавов 3 подсоединяют трубопровод 2 с расходомерным устройством 1. Расходомерное устройство представляет собой шайбу с конусным отверстием, установленную между двумя фланцами через прокладки. Перепад напора слева и справа от шайбы контролируется дифманометром мембранного типа 10. Электрический сигнал от дифманометра поступает к измерительному прибору 9 (потенциометру), который оттарирован по перепаду напора на величину подачи насоса Q, л/с.

 

 

Рис. 5.24. Схема стенда для испытания насоса на напор и подачу:

1 — расходомерное устройство (шайба); 2 — трубопровод;

3 — напорные рукава- 4 — демпфер для манометра;

5 — демпфер для вакуумметра; 6 — водоем; 7 — всасывающий рукав;

8 — пожарный насос; 9 — дифманометр;

10 — потенциометр (показывающий и самопишущий);

11 — регулировочная задвижка; 12 — задвижка тонкой регулировки подачи.

 

Регулировку насоса для снятия полной напорной характеристики Q—Н производят задвижками грубой 11 и тонкой регулировки подачи 12.

Частоту вращения вала насоса контролируют по тахометру на насосе или при помощи приставного тахометра.

При диагностировании насоса ПН-40УА на данном стенде напор его должен быть не ниже 85 м при подаче 40 л/с и частоте вращения вала 2700 об/мин (номинальное значение напора насоса 100 м).

Необходимо иметь в виду, что для данной установки напор насоса определяется как сумма показаний манометра и вакуумметра, выраженных в м.

Стенд для проверки герметичности насоса и водо-пенных коммуникаций также устанавливают на посту диагностики специального оборудования пожарных автомобилей станции технической диагностики в отрядах (частях) технической службы.

Стенд (рис. 5.25) имеет пять линий: линию, соединяющую пожарный насос со стендом 5; линию заполнения стенда и насоса водой от внутреннего водопровода 6; линию для слива воды 10 из стенда; переливную линию 14; линию подачи воздуха к стенду под давлением 16.

Для проведения испытаний заполняют насос и стенд водой до нулевого уровня по мерной трубке, при этом необходимо открыть краны 8, 15 и вакуумный кран на насосе (или задвижку) для выпуска воздуха. После заполнения насоса и стенда водой закрывают краны 8, 15 и проверяют закрытие всех задвижек и кранов на насосе. Через трубопровод 16 к стенду подается воздух от компрессора. Редукционный клапан 19 необходимо отрегулировать на давление воздуха для всех насосов, кроме ПН-40УА, не более 290 кПа (2, 9 кг/см2), а для ПН-40УА—не более 590 кПа (5, 9 кг/см2). Контроль давления воздуха осуществляют по манометру 20.

 

 

Рис. 5.25. Схема стенда для проверки герметичности насоса и водо-пенных коммуникаций:

1 — пожарный насос; 2 — гибкий шланг; 3 —манометр для воды;

4, 8, 11, 15, 18 — краны; 5 — линия к насосу; 6 — линия заполнения

стенда и насоса водой; 7, 17 — обратные клапаны; 9 — нижняя соединительная

коробка; 10 — сливная линия; 12 — мерная трубка; 13 — верхняя соединительная

коробка; 14 — переливная линия; 16 — линия подачи воздуха под давлением;

19 — редукционный клапан; 20 — манометр линии подачи воздуха.

 

Испытание на герметичность осуществляют открытием крана 18. Если при испытании снижается уровень воды в мерной трубке 12, то насос негерметичен. Снижение уровня воды в единицу времени не должно превышать нормативных значений.

Данный стенд выполнен в виде металлического шкафа, на переднюю панель вынесены манометры стенда и все рукоятки кранов, а также стеклянная мерная трубка. Шкала на панели у мерной трубки заранее проградуирована, для регистрации времени используют ручной секундомер.

В любой период эксплуатации насоса могут возникнуть отказы насосов пожарных автомобилей. Возможные причины отказов, их признаки и способы устранения приведены в таблице 5.2.

При консервации насосов на длительное хранение необходимо залить в насос смазку нефтегаз НГ 203-Б, провернуть вал насоса и слить смазку. Все отверстия насоса закрыть заглушками. Наружные поверхности насоса при консервации обработать смазкой ПВК (пушечная).

 

Таблица 5.2. Возможные неисправности центробежных насосов и способы их устранения.

Отказ, внешнее его проявление, признаки Вероятная причина Способ устранения
     
Насос не подает воду при пуске Насос полностью или частично заполнен воздухом Произвести вторичное всасывание воды включением вакуумной системы
Насос сначала подает воду, затем подача уменьшается и падает до нуля Неплотности во всасывающей линии. Засорение всасывающей сетки Проверить всасывающую линию, устранить неплотности. Очистить всасывающую сетку.
    Недостаточное заглубление всасывающей сетки Опустить всасывающую сетку в воду не менее чем на 600 мм
При исправном насосе мановакуумметр не показывает давление (разрежение) Мановакуумметр неисправен.     Заменить запасным (разбирать и ремонтировать запрещается)  
При работе насоса наблюдаются стуки и вибрация Ослаблено крепление насоса Подтянуть болты  
    Изношены подшипники.   Разобрать насос, проверить подшипники и заменить новыми
    Изношены шейки вала, на которые насажены подшипники Заменить вал новым  
    В насос попали камни   Разобрать насос и удалить камни
    Разрушено рабочее колесо   При разрушении и трещинах на колесе заменить его новым
    Возникла кавитация   Найти и устранить причину кавитации
При исправной коробке отбора мощности и Засорены каналы рабочего колеса Очистить каналы колеса
трансмиссии насос не подает воду Срезаны шпонки крепления рабочего колеса Разобрать насос и заменить изношенные детали
Вал насоса не прокручивается   Летом — засорение насоса Разобрать насос, очистить рабочее колесо и внутренние полости насоса.
     
    Зимой — примерзание рабочего колеса Прогреть насос горячей водой, теплым воздухом, паром
Из дренажного отверстия течет струйкой вода   В узле уплотнения не- достаточно пластичной набивки (уплотнение с пластичной набивкой). Добавить винтом пластичную набивку
    Износ манжет (вариант с манжетами) Заменить манжеты новыми
В масляную ванну насоса попадает вода Засорено дренажное отверстие. Прочистить дренажное отверстие.
  Изношены манжеты Заменить манжеты
    Изношено уплотни- тельное кольцо или недостаточно пластичной набивки Заменить уплотни тельное кольцо Добавить пластичной набивки
Из дренажного отверстия течет масло Изношены манжеты   Заменить манжету в уплотнительном стакане

 

 

При эксплуатации шестеренчатых насосов необходимо иметь в виду, что движение автомобиля или трактора с насосом, не отсоединенным от храповика коленчатого вала, запрещается.

При тушении пожара собирают всасывающую линию на один или два рукава с всасывающей сеткой. Всасывающую сетку опускают в воду на глубину не менее 0, 6 м от поверхности воды. Напорную рукавную линию собирают в зависимости от условий работы и обстановки на пожаре.

Двигатель включают при нейтральном положении рычага коробки передач и выжатой педали сцепления. Отпускают педаль сцепления и доводят педалью газа частоту вращения до 15...20с-1. Происходит всасывание воды из водоема, после чего увеличивают частоту вращения до рабочего режима 25...30 с-1.

Работа насоса без всасывающей сетки не допускается. Если насос не забирает воду из водоисточника, необходимо залить в полость насоса 100...250 г масла через всасывающий патрубок или смазать шестерни консистентной смазкой (солидолом) через пресс-масленку. Работать без воды длительное время насос не может, иначе быстро изнашиваются поверхности трения.

В транспортном положении насос с муфтой и валом привода выводят из зацепления с храповиком коленчатого вала. При помощи крайних отверстий лап и фиксаторов насос закрепляют в выключенном положении на кронштейне. После окончания работы шестеренного насоса в него заливают 200...500 г масла М10Б, прокручивают шестерни на 6...10 оборотов и закрывают заглушками штуцеры.

 

 

а)

 

 

Рис. 5.26. Схемы забора воды гидроэлеватором:

а — при подаче одного ствола; б — при подаче двух стволов (диаметр трубопровода из цистерны в насос недостаточен); в — при подаче двух стволов с применением водосборника; г, д — при подаче трех стволов.

 

Подача воды из открытых водоисточников при помощи гидроэлеватора осуществляется по различным схемам. По наиболее распространенной схеме, изображенной на рис. 5.26., емкость для воды пожарной автоцистерны используют как промежуточную. Забор и подачу воды по такой схеме осуществляют в следующем порядке:

установить АЦ и собрать рукавную линию по схеме (см. рис. 5.26), устранить резкие перегибы в рукавах, в цистерну через люк опустить напорно-всасывающие рукав и для устранения резких перегибов закрепить его рукавной задержкой;

выжав сцепление, включить коробку отбора мощности на насос и плавно отпустить педаль сцепления;

выключить сцепление рычагом из насосного отсека;

открыть одну напорную задвижку на насосе (к гидроэлеватору) и задвижку на трубопроводе от цистерны; остальные задвижки и краны должны быть закрыты;

включить сцепление;

рычагом «Газ» увеличить частоту вращения вала насоса до 2000 об/мин;

при возвращении воды от гидроэлеватора в цистерну открыть задвижку на напорном коллекторе насоса (к стволу);

установить необходимый напор на насосе (70...80м);

следить за уровнем воды в цистерне и регулировать его открыванием (закрыванием) задвижки на напорном коллекторе насоса (к стволу) и частотой вращения вала насоса рукояткой «Газ».

Способ, показанный на рис. 5.26 а, применяют для подачи на тушение одного ствола диаметром 19 или 13 мм.

В случаях когда необходимо подавать воду на тушение пожаров через два ствола (расход до 10 л/с), а диаметр трубопровода из цистерны в насос недостаточен для поддержания уровня воды в емкости и стабильной работы насосной установки, необходимо всасывающий рукав от насоса опустить в емкость через люк (рис. 5.26 б). Для насосов ПН-40 и ПН-30 в этом случае достаточно использовать водосборник, на один патрубок которого установлена заглушка, а к другому подсоединен рукав от гидроэлеватора (рис. 5.26 в). Во время запуска вакуумный клапан должен быть открыт для выпуска воздуха. После запуска такой системы необходимо закрыть задвижку от цистерны и затем подать воду к стволам.

В некоторых случаях устанавливают разветвление перед водосборником, через которое выпускают воздух при запуске системы, воздух в насос не попадает, что ускоряет запуск системы.

При подаче воды на пожар в количестве 10...20 л/с используют два гидроэлеватора, включаемые параллельно (рис. 5.26 г, д). Запускают в работу гидроэлеваторы поочередно: сначала один, потом другой.

Наиболее характерными ошибками при работе с гидроэлеваторами являются:

· перекручивание и перегибы рукавов при прокладке рукавных линий;

· резкое открывание напорных задвижек при подаче воды к стволам;

· снижение давления в рукавной линии от гидроэлеватора к водосборнику на всасывающей полости насоса;

· при использовании водосборника подача воды к стволам при открытой задвижке на трубопроводе от емкости цистерны;

· неполное открывание напорной задвижки на насосе при подаче воды к гидроэлеватору при запуске;

· превышение предельного расстояния до водоисточника.

При использовании гидроэлеваторов для забора и подачи воды к пожару необходимо знать количество воды, необходимое для запуска системы. Воды в емкости должно быть достаточно для заполнения всей рукавной системы до гидроэлеватора и от него к насосу. С учетом продолжительности запуска системы расчетный объем воды должен быть с коэффициентом запаса не менее двух.

Данные по объему воды в одном пожарном рукаве длиной 20 м при диаметре рукава: 51 мм — 40 л; 66 мм — 70 л и 77 мм — 95л.

При техническом обслуживании гидроэлеваторов необходимо проверять; наличие и исправность резиновых прокладок в соединительных головках; крепление и чистоту решеток во всасывающем отверстии; плотность фланцевых соединений и затяжку гаек; чистоту отверстия конического насадка.

 


Поделиться с друзьями:

mylektsii.su - Мои Лекции - 2015-2026 год. (0.485 сек.)Все материалы представленные на сайте исключительно с целью ознакомления читателями и не преследуют коммерческих целей или нарушение авторских прав Пожаловаться на материал