Студопедия

Главная страница Случайная страница

КАТЕГОРИИ:

АвтомобилиАстрономияБиологияГеографияДом и садДругие языкиДругоеИнформатикаИсторияКультураЛитератураЛогикаМатематикаМедицинаМеталлургияМеханикаОбразованиеОхрана трудаПедагогикаПолитикаПравоПсихологияРелигияРиторикаСоциологияСпортСтроительствоТехнологияТуризмФизикаФилософияФинансыХимияЧерчениеЭкологияЭкономикаЭлектроника






Особенности устройства механизмов АЛ






Глава 11

ПОЖАРНЫЕ АВТОЛЕСТНИЦЫ И АВТОПОДЪЕМНИКИ КОЛЕНЧАТЫЕ

 

В жилом секторе, общественных зданиях и промышленных сооружениях пожары могут возникать на различных высотах. В соответствии с требованием БУПО подъем на высоту организуется для спасания и защиты людей, имущества, сосредоточения требуемых сил и средств, подачи огнетушащих веществ и выполнения других работ.

Подъем на высоту и спуск осуществляется с использованием путей и средств эвакуации из зданий, а также различных технических средств.

К техническим средствам спасания относятся спасательные рукава, веревки, трап, специальные и ручные пожарные лестницы. К этим средствам относятся и механизированные автолестницы и автоподъемники коленчатые.

Общие положения

Спасание людей и имущества при пожарах является важнейшим видом боевых действий. Основными способами их являются перемещение людей и имущества, в том числе подъем или спуск с использованием специальных технических средств в безопасное место и защита их от опасных факторов пожара.

При проведении этих боевых действий используются немеханизированные и механизированные средства. К первым относятся стационарные и переносные пожарные лестницы, различные спасательные устройства (спасательные рукава, веревки и др.), надувные и амортизирующие устройства и т.д.

Ко вторым относятся пожарные автолестницы (АЛ) и пожарные автоподъемники коленчатые (АПК).

АЛ – это пожарный автомобиль со стационарной механизированной выдвижной и поворотной лестницей.

АПК – пожарный автомобиль со стационарной механизированной поворотной коленчатой, телескопической или коленчато-телескопической подъемной стрелой, последнее звено которой заканчивается люлькой.

АЛ и АПК являются передвижными средствами спасания: ими укомплектовываются пожарные части гарнизонов ГПС.

Первое упоминание о создании механических пожарных лестниц в России изобретателем П. Дальгреном относится к 1778 г. В последующие годы разрабатывались механические чатырехколенчатые лестницы для конной повозки, длина которых не превышала 24 м.

С 1955 г. начат промышленный выпуск АЛ с механическим приводом, а с 1963 г. – производство АЛ с гидравлическим приводом. При этом АЛ-30(ПМ 580) высотой 30 м известны почти в 50 странах мира. К концу второго тысячелетия в стране начато производство серии АЛ высотой от 17 до 62 м на шасси ЗИЛ, КамАЗ, МАЗ, «Татра».

Принцип работы АЛ и АПК заключается в подаче стрелы или люльки в необходимую точку пространства в пределах рабочей зоны.

В пределах рабочей зоны АЛ и АПК предназначены для:

доставки к месту пожара или проведения спасательных работ боевых расчетов и ПТВ;

подъема боевых расчетов, ПТВ и оборудования на высоту;

обеспечения проведения спасательных и аварийно-спасательных работ на высоте;

подачи огнетушащих веществ для тушения пожаров на высоте;

подъема и перемещения грузов при разборке конструкций.

Кроме того, грузоподъемность шасси и размеры АЛ и АПК должны быть такими, чтобы не ограничивалась их проходимость в условиях городской застройки и было возможным устанавливать и маневрировать АЛ и АПК у объектов, вблизи которых нет асфальтобетонных покрытий. Поэтому они сооружаются на высокопроходимых шасси с колесной формулой 6´ 6 или 6´ 4 (в зависимости от массы) с двигателями, обеспечивающими их эксплуатацию в транспортном и стационарном режимах.

АЛ и АПК приспособлены для установки на площадках с уклоном не более 6о (у АПК – 3о) и могут безопасно применяться при скорости ветра в любом направлении не более 10 м/с.

Пульты управления АЛ и АПК размещаются на платформе и в люльке, если она предусмотрена в конструкции. Лестницы и автоподъемники оборудуются системами автоматики и сигнализации, позволяющими контролировать и регулировать параметры, влияющие на безопасность их работы.

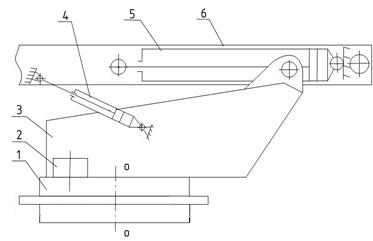
Автолестницы состоят из несущих сварных металлоконструкций, механических и гидравлических агрегатов, имеющих соединенные между собой неповоротную и поворотную части.

Неповоротная часть включает (рис. 11.1): шасси 1, опорные устройства 2, механизм блокировки рессор 3, а также размещенные под платформой шасси КОМ и гидронасос с гидрокоммуникациями.

Неповоротная и поворотные части соединены роликовым опорно-поворотным кругом 4.

Поворотная часть включает: поворотную раму 5, на которой устанавливаются механизм поворота и подъема колен лестницы и комплект колен лестницы.

 
 


Рис. 11.1. Общий вид автомобильной лестницы АЛ-30(131)-21Л:

1 – базовое шасси; 2 – опорные устройства; 3 – механизм выключения рессор;
4 – опорно-поворотный круг; 5 – поворотная рама; 6 – комплект колен лестницы

 

АЛ конструируют в различном исполнении. Так, на рис. 11.1 представлена АЛ в первом исполнении, так как она не имеет дополнительного навесного оборудования. В исполнении 2 АЛ оборудуются съемной люлькой на вершине стрелы. В исполнении 3 они оборудуются лифтом, движущимся по лестнице, а в исполнении 4 – съемной люлькой на вершине и лифтом, движущимся по лестнице (рис. 11. 2).

 

 

Рис. 11.2. Автолестница – исполнение 4:

1 – съемная люлька; 2 – комплект колен; 3 – лифт, движущийся по лестнице

 

На вершине стрелы, а также в люльках предусматривается возможность установки лафетного ствола или пеногенераторов. Рекомендуются лафетные стволы с расходом не менее 20 л/с и давлением до 0, 6 МПа или три генератора пены ГПС-600, или один пеногенератор ГПС-2000.

АЛ должны обладать статической и динамической грузоподъемностью и достаточной прочностью для безопасного проведения аварийно-спасательных работ и тушения пожаров, в том числе:

при установке их на поверхности с уклоном меньше 6о;

при рекомендованных расходах лафетным стволом и пеногенераторами;

при скорости ветра на уровне вершины лестницы не более 10 м/с.

Особенности устройства механизмов АЛ

Опорное основание служит для обеспечения устойчивости АЛ и АПК от статических и динамический усилий, возникающих при их работе. В состав опорного основания входят передняя и задние опоры, закрепленные на опорной раме, опорные гидроцилиндры и механизм блокировки рессор.

Опора (рис. 11.3) состоит из двух наружных балок 1, расположенных в горизонтальной плоскости. В каждую из них входит внутренняя балка 3. Балки прямоугольного сечения коробчатого типа. К наружной и внутренним балкам крепятся гидроцилиндры 2 выдвигания опор. На концах внутренних балок закреплены опорные гидроцилиндры 5. Принцип работы опоры заключается в следующем. При подаче гидравлической жидкости в поршневую полость гидроцилиндра 2 штоком 4 внутренние балки 3 будут выдвигаться наружу. После их выдвигания включаются гидроцилиндры 5 опор. Опоры опустятся до грунта. Гидрозамком системы жидкость будет заперта в гидроцилиндрах 5. При этом возможно осуществляеть вывешивание и выравнивание шасси.

 
 


 

Рис. 11.3. Опорное основание:

1 – балка наружная; 2 – гидроцилиндр выдвигания; 3 – балка внутренняя; 4 – шток;
5 – гидроцилиндр опоры; 6 – шасси

При постановке АЛ на рабочее место вначале необходимо включать передние опоры, одновременно с ними включаются механизмы выключения рессор.

При сдвигании опор вначале вдвигается до конца шток опорного гидроцилиндра 5, а затем – шток гидроцилиндра 3.

Конструкции выдвижных опор могут быть различными, но принцип их работы одинаков во всех АЛ и АПК.

В зависимости от исполнения, максимальная ширина опорного контура на современных автолестницах изменяется от 3 до 5, 5 м.

Механизм выключения рессор. Для увеличения жесткости всей системы и уменьшения колебания лестницы выключают (блокируют) рессоры при установке их для работы. Для этой цели служит блокировка рессор колес.

Механизм выключения рессор (рис. 11.4) состоит из гидравлического цилиндра 4 с гидрозамком и стального каната 3. Канат серьгами 2 крепится к кронштейнам 1 рессор. При выдвигании передних опор рабочая жидкость одновременно подается в поршневую полость гидроцилиндра 4. Шток выдвигается и натягивает стальной канат и блокирует рессору, не позволяя ей распрямляться.

 

 
 


 

Рис. 11.4. Механизм блокировки рессор:

1 – кронштейн; 2 – серьга; 3 – стальной канат; 4 – цилиндр

 

При сдвигании опор рабочая жидкость подается в штоковую полость гидроцилиндра 4, шток вдвигается, рессора разблокируется. Фиксация штока осуществляется запиранием полостей гидрозамком.

Гидрозамок. Для исключения самопроизвольных движений механизмов все силовые гидроцилиндры оборудованы гидрозамками. Фиксация штока гидроцилиндра в заданном положении осуществляется запиранием жидкости в поршневой и штоковой полостях гидрозамком.

Принцип работы гидрозамка уясним при рассмотрении схемы, представленной на рис. 11.5. При подаче жидкости под давлением по трубопроводу В она переместит поршень 2 гидрозамка влево и откроет клапан 3. Затем по трубопроводу Г она поступит в поршневое пространство 4 гидроцилиндра 8 и будет перемещать поршень 5 со штоком 7 в правую сторону. При этом будет включен исполнительный механизм.

Для выключения исполнительного механизма жидкость подают по трубопроводу Д в штоковую полость 6 гидроцилиндра 8 и одновременно в поршневую полость гидрозамка 1. Поршень 2 выступом а сместит клапан 3. При этом поршень 5 гидроцилиндра 8 будет перемещаться в левую часть, а жидкость из поршневого пространства 4 будет удаляться через трубопроводы Г и В на слив.

 

 

Рис. 11.5. Гидравлическая схема гидрозамка:

1 – гидрозамок; 2 – поршень гидрозамка; 3 – клапан; 4 – поршневое пространство;
5 – поршень; 6 – штоковое пространство; 7 – шток; 8 – гидроцилиндр

 

При отсутствии давления в трубопроводах В и Д клапан 3 будет закрыт (под влиянием пружины, на схеме не показано). Рабочая жидкость будет заперта в поршневой полости. Движение штока влево невозможно.

Подъемно-поворотное основание. Подъемно-поворотное устройство предназначено для подъема-опускания комплекта колен в вертикальной плоскости, выдвигания их, поворота вокруг вертикальной оси на 360о и бокового выравнивания колен лестницы.

В зависимости от механизма выдвигания колен лестницы различаются устройства подъемно-поворотного механизма.

При использовании для выдвигания колен лестницы лебедки с приводом от гидромотора подъемно-поворотное устройство имеет вид, показанный на рис. 11.6. На поворотном круге 1 установлен механизм поворота 2 и поворотная рама 3. С нею осью а соединен комплект колен 6. Поворотная рама и поворотный круг соединены цилиндром подъема поворотной рамы 3, на которой крепятся колена АЛ. На поворотной раме крепится также гидропривод 5 механизма выдвигания колен лестницы.

Такого типа подъемно-поворотные устройства применены на АЛ-30(131), АЛ-45(133ГЯ). На современных АЛ-30(4310) и других используется подъемно-поворотное устройство иного типа (рис. 11.7). На этом рисунке приняты те же обозначения, что и на рис. 11.6, только вместо гидропривода выдвигания колен лестницы показан цилиндр 5 полиспаста, обеспечивающий выдвигание и сдвигание колен лестницы.

 
 


а
5
4
6
3
1
2

 

Рис. 11.6. Подъемно-поворотное основание:

1 – поворотный круг; 2 – механизм поворота; 3 – поворотная рама; 4 – гидроцилиндр подъема; 5 – механизм выдвигания колен лестницы; 6 – комплект колен лестницы

 

Гидроцилиндр подъема 4 (их на АЛ по 2) имеет размеры 160´ 110´ 800 мм, а гидроцилиндр выдвигания – 160´ 110´ 1200 мм. Эти размеры характеризуют диаметр поршня, штока и ход поршня.

 

Рис. 11.7. Подъемно-поворотное устройство современных АЛ:

1 – поворотный круг; 2 – механизм поворота; 3 – поворотная рама; 4 – гидроцилиндр подъема (160´ 110´ 800); 5 – гидроцилиндр выдвигания (160´ 110´ 1200);
6 – подъемная рама

Привод поворота (рис. 11.8). Привод предназначен для поворота АЛ или АПК. Он обеспечивается двумя редукторами: червячным (червяк 1 и червячное колесо 2) и зубчатой передачей с внутренним зацеплением (шестерня 3 и зубчатый венец 7). При вращении шестерни 3 она будет перекатываться по зубчатому венцу 7, поворачивая плиту 4 вокруг оси 6.

 

 

Рис.11.8. Схема механизма поворота:

1 – червяк; 2 – червячное колесо; 3 – шестерня привода поворота; 4 – плита; 5 – ролик; 6 – осевой коллектор; 7 – зубчатый венец

 

Червяк 1 приводится во вращение аксиально-поршневым гидромотором со скоростью n гм, об/мин. Скорость вращения червячного колеса 2 и шестерни 3 равны n 2 = n 3 = , об/мин, где u – передаточное число червячной передачи.

Линейная скорость, м/с, оси колеса 3 (рис. 11.9) равна

(11.1)

Угловая скорость , тогда (11.2)

Ось шестерни 3 со скоростью v3 будет перемещаться по окружности, указанной пунктиром, тогда можно записать

(11.3)

Приравняв правые части формул (11.1) и (11.2), после преобразований получим

(11.4)

где z 3 и z 7 – число зубьев шестерни 3 и зубчатого венца, соответственно; u зп – передаточное число зубчатой передачи с внутренним зацеплением.

На АЛ u = 79, z 3 = 17 и z 7 = 137. На современных АЛ u = 48, z 3 = 13 и z 7 = 137. Во всех случаях при скорости n гм = 500 – 560 об/мин скорость вращения лестницы равна 60 – 65 с.

В качестве приводов механизма поворота АЛ и АПК применяют аксиально-поршневые гидромоторы типа МГП (мотор гидравлический планетарный). В большинстве случаев используются гидромоторы
МГП-80. На некоторых подъемниках, например АПК-50(6923), установлены МГП-315. Некоторые параметры их характеристик приведены в
табл. 11.1.

 

Таблица 11.1

Наименование показателя Размерность   Тип мотора
МГП-80 МГП-315
Рабочий объем Частота вращения n ном n max n min Расход масла Давление на входе Р ном Р mах Потребляемая мощность Общий КПД см3   об/мин -" - -" - л/мин   МПа МПа кВт - 80, 5   10, 2   0, 76 314, 9   88, 8 10, 2   0, 76

 

Лестницы, механизмы их выдвигания, сдвигания. Лестница изготовлена из отдельных колен, собираемых телескопически в один комплект. Каждое предыдущее колено является несущим по отношению к верхнележащим. Нижнее колено, являющееся несущим для всех остальных колен, устанавливается на подъемной раме.

Каждое колено лестницы представляет собой сварную пространственную конструкцию, состоящую из боковых ферм, соединенных в нижнем поясе 6 (рис. 11.10), ступеньками 10 и распорками.

Нижний пояс (тетива) 6 боковой фермы изготовлен из специального открытого профиля проката (стальной ленты). Профили колен одинаковы, но по размерам различны для разных колен.

Телескопическое соединение основных колен лестницы и их перемещение относительно друг друга осуществляется с помощью опорных 2, 8, 17 и направляющих 1 текстолитовых роликов, а также опорных шайб 5 и упоров 4.

 

 

Рис. 11.10. Колено лестницы:

1 – ролик направляющий; 2 – передний опорный ролик; 3 – блок; 4 – упор;
5 – опорная шайба; 6 – нижний пояс (тетива); 7 – раскос; 8 – средний опорный ролик;
9 – стойка; 10 – ступень; 11 – накладка резиновая; 12 – верхний пояс;
13 – ось качалки натяжного устройства; 14 – упор; 15 – замыкатель;
16 – ось балансирного кронштейна; 17 – задний опорный ролик

 

 

Направляющий ролик 1 и опорные ролики 8 размещены по отношению к профилю тетивы в двух плоскостях (рис. 11.11). Опорные ролики 8 в скобах закреплены на ступенях нижележащего колена и вращаются по горизонтали. Направляющие ролики 1 закреплены на кронштейнах тетив и вращаются по вертикали.

Передние и средние опорные ролики являются опорами для верхнележащего колена, тетивы которых опираются на эти ролики своими нижними горизонтальными полками. Задняя часть колена своими опорными роликами 17 катится по внутренней стороне верхней горизонтальной полки тетивы предыдущего колена. Таким образом, при выдвигании и сдвигании основные колена лестницы перемещаются относительно друг друга своими тетивами по текстолитовым роликам.

При полностью сдвинутых коленах нижние торцы тетив упираются в ограничители, закрепленные на внутренней стороне тетив нижележащих колен.

При наличии в лестнице дополнительного колена оно телескопически устанавливается в верхней части первого колена. Оно выдвигается вручную, независимо от основных колен.

Тетивы дополнительного колена перемещаются на двух передних опорных роликах, установленных с внутренней стороны тетив первого колена, а также на двух текстолитовых ползунах, укрепленных снаружи нижней части тетив дополнительного колена.

Посередине верхних двух ступенек дополнительного колена, так же, как и на первом колене всех типов лестниц, крепят лафетный ствол.

Нумерация колен принята сверху вниз. Колена соединены с помощью тросов (канатов) 2 через ролики 1, установленные на верхних концах колен (рис. 11.12). Поэтому если каким-либо механизмом тянуть за канат 3, то все колена будут синхронно перемещаться относительно друг друга. В таком случае скорость v третьего колена, м/c, будет равна скорости каната 3, т.е. v = v к, а относительная скорость второго колена будет равна v = 2 К и т.д. Тогда можно записать

v = v к(n - 1), (11.5)

где v – абсолютная скорость первого колена, м/с; n – число колен лестницы, шт.

Аналогичным образом осуществляется сдвигание лестницы
(рис. 11.13).

 

Рис. 11.13. Привод выдвигания-сдвигания колен АЛ-30(4310):

1, 3, 4, 6 – обоймы с блоками; 2 – канат выдвигания; 5 – канат сдвигания;
7 – гидроцилиндр, 8 – тросы выдвигания колен; 9 – тросы сдвигания колен

 

Механизм выдвигания и сдвигания колен лестницы, обеспечивающий движение каната 3, может быть различным. Так, в настоящее время возможно применение трех типов приводов: канатно-полиспастный с цилиндрическим гидроприводом; лебедка с гидромотором; длинноходовой цилиндр.

Привод выдвигания-сдвигания колен АЛ полиспастом. Привод (см. рис. 11.13) состоит из гидроцилиндра 7, обойм с блоками 1, 3, 4, 6 канатов 2 и 5. Гидроцилиндр и оси блоков 1, 6 закреплены в подъемной раме АЛ. На штоке гидроцилиндра закреплен кронштейн с обоймами блоков 3 и 4. Эти блоки подвижные.

Обоймы блоков 1 и 3 с канатами 2 образуют двойной шестикратный полиспаст выдвигания третьего колена. Выдвигание осуществляется двумя канатами 2.

Обоймы блоков 4 и 6 с канатом 5 образуют шестикратный полиспаст сдвигания третьего колена.

При выдвигании штока гидроцилиндра 7 вместе с обоймами 3 и 4 полиспаст выдвигания удлиняется. Полиспаст сдвигания при этом укорачивается. Канаты 2, закрепленные за конец третьего колена (на схеме показан один канат), выдвинут его на необходимую длину.

Первое и второе колена выдвигаются своими канатами 8.

Выдвигание каждого колена происходит на длину 7, 2 м (на АЛ-30(4310)), а ход штока составляет 1, 2 м, т.е. в шесть раз меньше.

При выдвигании штока гидроцилиндра будут перемещаться обоймы блоков 3 и 4, полиспаст сдвигания будет удлиняться и канат 5, закрепленный за конец третьего колена, отпустит его на необходимую высоту. Второе и первое колена будут сдвинуты канатами 9.

Приводы выдвижения с полиспастами используются на автолестницах с высотой подъема до 50 м.

Привод выдвигания лебедкой с гидромотором. Схема привода представлена на рис. 11.14. Гидромотор 1 приводит во вращение червяк 2. На одном валу с червячным колесом 3 находится барабан 4 с намотанным канатом 5.

5
1
2
3
4

 

Рис. 11.14. Механизм выдвигания лебедкой:

1 – гидромотор; 2 – червяк; 3 – червячное колесо; 4 – барабан; 5 – канат

 

Частота вращения барабана n б, об/мин, определяется отношением

, (11.6)

где n гм – частота вращения вала гидромотора, об/мин; u – передаточное отношение червячного редуктора.

Не учитывая диаметр каната, его скорость, м/с, равна

v к = , (11.7)

где D – диаметр барабана, м.

Абсолютная скорость первого колена, м/с, равна

v = v к (n - 1), (11.8)

где n – число колен лестницы, шт.

Время, с, выдвигания лестницы можно вычислить по формуле

(11.9)

где L – длина лестницы, м.

Выдвигание длинноходовым цилиндром. Принципиальная схема механизма представлена на рис. 11.15. При подаче жидкости в поршневое пространство гидроцилиндра 1 шток 3 будет выдвигать последнее колено 3. Все другие колена будут выдвигаться, как было описано раньше.

Сдвигание колен лестницы будет происходить при подаче жидкости в поршневое пространство цилиндра. Такой привод используется на АЛ-62.

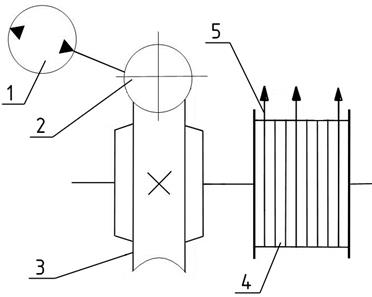
Люлька. Для АЛ рекомендуются люльки грузоподъемностью 200 кг с площадью пола не менее 0, 46 м2 или 0, 7 м2 для различных модификаций.

Принципиальная схема люльки (вид сбоку) представлена на
рис. 11.16, а. В люльках предусматривается возможность установки лафетного ствола или пеногенераторов. Вход в люльку и выход из нее осуществляется по откидной двери-трапу. На рисунке он показан с правой стороны. На люльке установлены два выключателя лобового удара 3 и гидроцилиндр 4 выравнивания люльки. Им обеспечивается отклонение пола люльки от горизонтального положения не более чем на 3о.

 
 

 

 


Выравнивание люльки происходит под тяжестью собственного веса и гидроцилиндра 4. При перемещении люльки и открытом вентиле на трубке 4 (рис. 11.16, б) жидкость перетекает из одной полости гидроцилиндра в другую.

В транспортном положении люлька кронштейном 2 крепится к вершине первого колена.

На люльках должны применяться пожарные спасательные устройства.

Устройство рукавное пожарное спасательное (УРПС). УРПС – это конструкция, состоящая из рукава спасательного и узла его крепления. Оно предназначено для эвакуации людей с высоких уровней при пожарах или аварийных ситуациях в зданиях и сооружениях.

Рукав спасательный – это конструкция, состоящая из одной или нескольких мягких цилиндрических оболочек. Он предназначен для безопасного спуска людей внутри его с высоты.

В зависимости от назначения спасательные рукава могут быть различных модификаций: одно- и двухслойные, морозостойкие и с теплоотражательной оболочкой.

Однослойный рукав выполнен из растягиваемого в поперечном направлении материала.

Рукав спасательный двухслойный изготавливается из наружного, растягиваемого в поперечном направлении материала, и внутреннего – нерастягиваемого. Наружный слой создает радиальное обжатие. Его периметр в нерастянутом состоянии меньше периметра человека.

Периметр внутреннего слоя рукава значительно превышает периметр человека. Соприкасаясь с одеждой человека, он воспринимает основную часть продольной нагрузки.

Рукав спасательный (РС) состоит из двух соосно-расположенных рукавов: наружного эластичного и внутреннего неэластичного. В верхней части они сшиты между собой. В люльке рукава закрепляются с помощью специального металлического кольца.

Для спуска в рукаве человек опускается в него ногами вниз. Движение осуществляется под действием силы тяжести. При сжатии эластичного рукава обеспечивается достаточная сила трения для безопасной скорости спуска.

Некоторые параметры технической характеристики РС приводятся в табл. 11.2.

Таблица 11.2

Показатели Размерность Величина
Полупериметр рукава: наружного эластичного; внутреннего Линейная плотность рукава Расчетное разрывное усилие Установленный ресурс   см см г/м Н Цикл   32±3 95±2 920±50

 

Некоторые параметры технических характеристик АЛ и времени маневра при работе приводятся в табл. 11.3 – 11.5.

Таблица 11.3

Показатели Размерность АЛ-30 (131) АЛ-45 (133ГЯ) АЛ-50 (53229) АЛ-3- (4310)
Марка шасси   Мощность двигателя Число мест боевого расчета Максимальная скорость Длина выдвинутой АЛ Диапазон угла подъема Вылет лестницы Нагрузка на АЛ Грузоподъемность люльки/лифта Время выполнения маневров: подъем; выдвигание; поворот на 360о -   кВт   человек км/ч м град. м кг   кг     с с с ЗИЛ-131     0 – 75   -/-     ЗИЛ-133ГЯ   -7 – 75   -/240     КамАЗ- 176, 5   -7 – 73 16/20 300/100   200/200     КамАЗ-4310   -7 – 75 18/24 350/100   200/-    

 

Таблица 11.4

Показа- тели Размерность АЛ-62 АЛ-50 АЛ-37 АЛ-31 АЛ-30 АЛ-30 АЛ-17
    Шасси - «Татра»   «МАН» «КамАЗ» ЗИЛ (4х2) КамАЗ (6х4) (6х6) ЗИЛ (6х6) «МАН» «СКАНИА» «РЕНО» «МАЗ» «Ивеко» ЗИЛ-5301 (4х2), «МАН» «РЕНО»
    «СКАНИА» (6х6) «Мерседес» «Ивеко» «РЕНО»
Высота подъема м       31, 6      
Вылет стрелы м             14, 2
Грузоподъемность люльки/ лифта м 200/180 200/200 200/- 160* 200/- 160*  
Подача лафетного ствола л/с              
Масса полная кг              
Габаритные размеры м 1, 5 х2, 5 х4, 2 х2, 5 х3, 7 11, 1 х2, х3, 73 10, 1 х2, 5 х3, 4 11, 5 х2, 5 х3, 7 х2, 5 х3, 2 7, 7 х2, 5 х2, 6

* Указаны нагрузки на стрелу.

Таблица 11.5

№ п/п   Маневры, с АЛ-30 (131) ПМ506 АЛ-45 (133ГЯ) ПМ501 АЛ-3-17 (4925) ПМ537 АЛ-30 (4310) ПМ512А АЛ-50 (53229) ПМ513
  Подъем от 0о до максимальной величины 25±5     40±5  
  Опускание 25±5     35±5  
  Выдвигание на полную длину при максимальном угле подъема   25±5       40±5  
  Сдвигание 25±5 -   35±5  
  Поворот на 360о при сдвинутой лестнице, поднятой на максимальный угол   60±10       55±5  
  Установка на выносные опоры - -      
  Подъем (опускание) люльки - -   -  

 


Поделиться с друзьями:

mylektsii.su - Мои Лекции - 2015-2026 год. (1.711 сек.)Все материалы представленные на сайте исключительно с целью ознакомления читателями и не преследуют коммерческих целей или нарушение авторских прав Пожаловаться на материал