Главная страница
Случайная страница
КАТЕГОРИИ:
АвтомобилиАстрономияБиологияГеографияДом и садДругие языкиДругоеИнформатикаИсторияКультураЛитератураЛогикаМатематикаМедицинаМеталлургияМеханикаОбразованиеОхрана трудаПедагогикаПолитикаПравоПсихологияРелигияРиторикаСоциологияСпортСтроительствоТехнологияТуризмФизикаФилософияФинансыХимияЧерчениеЭкологияЭкономикаЭлектроника
|
Электрооборудования подгруппы ПА
| Вид взрывонепроницаемого соединения
| Длина щели L, мм
| Максимальная ширина щели, мм, для объема оболочки
| | V £ 100 см3
| 100 < V £ 2000 см3
| V > 2000 см3
| | Плоские и цилиндрические соединения
| 6, 0 £ L < 12, 5
| 0, 30
| -
| -
| | 12, 5 £ L < 25, 0
| 0, 30
| 0, 20
| | 25, 0 £ L
| 0, 40
| 0, 40
| 0, 40
| | Тяги управления и валики
| 6, 0 £ L < 12, 5
| 0, 30
| -
| -
| | 12, 5 £ L < 25, 0
| 0, 30
| 0, 20
| | 25, 0 £ L
| 0, 40
| 0, 40
| 0, 40
| | Валы с подшипниками скольжения
| 6, 0 £ L < 12, 5
| 0, 30
| -
| -
| | 12, 5 £ L < 25, 0
| 0, 40
| 0, 40
| 0, 40
| | 25, 0 £ L < 40, 0
| 0, 35
| 0, 30
| 0, 20
| | 40, 0 £ L
| 0, 50
| 0, 50
| 0, 50
| | Валы с подшипниками качения
| 6, 0 £ L < 12, 5
| 0, 45
| -
| -
| | 12, 5 £ L < 25, 0
| 0, 50
| 0, 45
| 0, 30
| | 25, 0 £ L < 40, 0
| 0, 60
| 0, 60
| 0, 60
| | 40, 0 £ L
| 0, 75
| 0, 75
| 0, 75
|
Таблица П5.3.
Параметры взрывонепроницаемых соединений оболочек
Электрооборудования подгруппы II В
| Вид взрывонепроницаемого соединения
| Длина щели L, мм
| Максимальная ширина щели, мм, для объема оболочки
| | V £ 100 см3
| 100 < V £ 2000 см3
| V > 2000 см3
| | Плоские и цилиндрические соединения
| 6, 0 £ L < 12, 5
| 0, 20
| -
| -
| | 12, 5 £ L < 25, 0
| 0, 20
| 0, 15
| | 25, 0 £ L
| 0, 20
| 0, 20
| | Тяги управления и валики
| 6, 0 £ L < 12, 5
| -
| -
| | 12, 5 £ L < 25, 0
| 0, 20
| 0, 15
| | 25, 0 £ L
| 0, 20
| | Валы с подшипниками скольжения
| 6, 0 £ L < 12, 5
| -
| -
| | 12, 5 £ L < 25, 0
| 0, 25
| 0, 20
| 0, 15
| | 25, 0 £ L < 40, 0
| 0, 30
| 0, 25
| 0, 20
| | 40, 0 £ L
| 0, 40
| 0, 30
| 0, 25
| | Валы с подшипниками качения
| 6, 0 £ L < 12, 5
| 0, 30
| -
| -
| | 12, 5 £ L < 25, 0
| 0, 40
| 0, 30
| 0, 20
| | 25, 0 £ L < 40, 0
| 0, 45
| 0, 40
| 0, 30
| | 40, 0 £ L
| 0, 60
| 0, 45
| 0, 40
|
Таблица П5.4.
Параметры взрывонепроницаемых соединений оболочек
Электрооборудования подгруппы IIС
| Вид взрывонепроницаемого соединения
| Длина щели L, мм
| Максимальная ширина щели, мм, для объема оболочки
| | V £ 100 см3
| 100 < V £ 500 см3
| 500 < V £ 200 см3
| V > 2000 см3
| | Плоские
| 6, 0 £ L < 9, 5
| 0, 10
| -
| -
| -
| | 9, 0 £ L
| 0, 10
| -
| -
| | Цилиндрические (рисунки П5.5-П5.7)
| 6, 0 £ L < 12, 5
| 0, 10
| 0, 10
| -
| -
| | 12, 5 £ L < 25, 0
| 0, 15
| 0, 15
| 0, 15
| -
| | 25, 0 £ L < 40, 0
| 0, 15
| | 40, 0 £ L
| 0, 20
| 0, 20
| 0, 20
| 0, 20
| | Плоскоцилиндри- ческие**
(рисунок П5.8)
С ³ 6 мм, d ³ 0, 5L, L = C + d; f £ 1 мм
| 12, 5 £ L < 25, 0
| 0, 15
| 0, 15
| 0, 15
| -
| | 25, 0 £ L < 40, 0
| 0, 18
| 0, 18
| 0, 18
| 0, 18
| | 40, 0 £ L
| 0, 20
| 0, 20
| 0, 20
| 0, 20
| | Тяги управления и валики
| 6, 0 £ L < 9, 5
| 0, 10
| -
| -
| -
| | 9, 5 £ L < 12, 5
| 0, 10
| -
| -
| | 12, 5 £ L < 25, 0
| 0, 15
| 0, 15
| 0, 15
| -
| | 25, 0 £ L < 40, 0
| 0, 15
| | 40, 0 £ L
| 0, 20
| 0, 20
| 0, 20
| 0, 20
| | Валы с подшипниками качения
| 6, 0 £ L < 9, 5
| 0, 15
| -
| -
| -
| | 9, 5 £ L < 12, 5
| 0, 15
| -
| -
| | 12, 5 £ L < 25, 0
| 0, 25
| 0, 25
| 0, 25
| -
| | 25, 0 £ L < 40, 0
| 0, 25
| | 40, 0 £ L
| 0, 30
| 0, 30
| 0, 30
| 0, 30
|
* Для взрывоопасных смесей ацетилена с воздухом плоские соединения не допускаются.
** Если размер фаски f £ 0, 5 мм, то вместо 0, 18 и 0, 20 мм допускается принимать соответственно 0, 20 и 0, 25 мм.
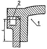
Рис. П5.5-П5.7 – Цилиндрические взрывонепроницаемые соединения для электрооборудования подгруппы IIC
Рис.П5.5
|
Рис.П5.6
|
Рис.П5.7
| 1- внутренняя часть оболочки;
2 – только для подгруппы IIС;
3 – металлическая или покрытая металлом упругая прокладка
|
Рис. П5.8 – Плоскоцилиндрическое взрывонепроницаемое соединение
| L = c + d;
c < 6 мм;
d < 0, 5 L;
f £ 1 мм
|
|
Таблица П5.5.
|