Студопедия

Главная страница Случайная страница

КАТЕГОРИИ:

АвтомобилиАстрономияБиологияГеографияДом и садДругие языкиДругоеИнформатикаИсторияКультураЛитератураЛогикаМатематикаМедицинаМеталлургияМеханикаОбразованиеОхрана трудаПедагогикаПолитикаПравоПсихологияРелигияРиторикаСоциологияСпортСтроительствоТехнологияТуризмФизикаФилософияФинансыХимияЧерчениеЭкологияЭкономикаЭлектроника






Технология разработки лесосек на рубках леса






 

5.1. Для разработки лесосек рекомендуются различные схемы. На выбор схемы оказывают влияние: принятый технологический процесс и вид рубки; вид трелюемой и вывозимой древесины, комплекс машин; рельеф местности и несущие способности почвогрунтов; размеры вырубаемых лесных площадей и пасек.

Схемы разработки лесосек определяют схемы их планировки, размещения трелевочных волоков и валки деревьев на пасеках и лентах.

При выборке схемы разработки лесосек необходимо предусматривать обеспечение безопасных условий труда, возможность создания межоперационных запасов древесины и обеспечения высокопроизводительной работы, машин и оборудования.

Для составления технологической схемы разработки лесосеки можно использовать блочно-модульный принцип формирования из модулей технологических схем:

– разработки делянок, пасек и лент;

– устройство лесопогрузочных пунктов и верхних складов.

5.2. Условия проведения рубок леса (главного пользования, рубок ухода и других) имеют сходство. По этой же причине для различных видов рубок могут использоваться однотипные технологические процессы и машины.

 

Сплошные рубки главного пользования

 

5.3. Разработка лесосек с сохранением подроста при валке деревьев на подкладочное дерево бензиномоторной пилой и их трелевка тракторами МЛ-126/127 возможна по технологической схеме, приведенной на рис. 12. Рекомендуется к применению в сосновых насаждениях со средним объемом хлыста до 0, 5 м3 при наличии жизнеспособного подроста главной породы более 4000 шт./га. Если очистка деревьев от сучьев выполняется сучкорезной машиной типа ЛП-30Б, а погрузка хлыстов на лесовозный транспорт челюстным лесопогрузчиком, то погрузочные пункты размером 40х60 м размещаются вдоль лесовозного уса из условия обеспечения нужного направления комлей хлыстов для вывозки и среднего расстояния трелевки.

В первую очередь разрабатывается 50-метровая зона безопасности. Лесосека (делянка) разбивается на пасеки шириной 35…40 м. Пасечные волоки шириной 4…5 м прокладываются посередине. Валка деревьев начинается с дальнего конца. Расстояние между одновременно разрабатываемыми пасеками должно быть не менее 50 м.

5.4. Разработка лесосек с сохранением подроста методом узких пасек представлена на рис. 13.

 

Схема разработки лесосек с сохранением подроста при валке леса

на подкладочное дерево бензопилой и трелевке тракторами МЛ-126/127

 

 

Рис. 12

 

Схема разработки лесосек методом узких лент с сохранением подроста при валке деревьев бензиномоторной пилой и трелевке хлыстов тракторами

 

 

Рис. 13

После валки деревьев и обрезки сучьев бензиномоторной пилой трелевка хлыстов осуществляется за вершины. Данная технология рекомендуется в насаждениях со средним объемом хлыста до 0, 5 м3, с преобладанием ели, где имеется жизнеспособный подрост хвойных и других ценных пород высотой более 1 м в количестве не менее 1500 шт./га.

Почвенно-грунтовые условия должны обеспечивать проходимость трелевочного трактора по волоку, укрепленному порубочными остатками. Размеры погрузочного пункта 30х40 м. Ширина пасек 25…30 м.

Разработку полупасек, после прорубки волоков, начинают с ближнего конца. При работе двумя трелевочными тракторами и достаточных размерах лесосеки возможна организация работ по челночному способу.

5.5. Разработка лесосек порослевого происхождения представлена на рис. 14. Рекомендуется в чернольховых, березовых и других насаждениях, растущих гнездами (группы сросшихся между собой деревьев, от двух до девяти штук от одного корневища) и имеющих развилки на высоте около 1, 5 м от поверхности почвы.

 

Схема разработки лесосек порослевого происхождения при валке леса

бензопилами и трелевке тракторами

 

 

Рис. 14

 

В этом случае работы выполняются по правилам разработки буреломно-ветровальных лесосек методом постепенно-выборочной рубки. Очередность валки групп растущих деревьев определяется исходя из конкрентных условий.

Разработку лесосеки ведет бригада в составе двух-трех валочно-сучкорезных звеньев, обслуживающих один трелевочный трактор. Вальщики работают на разных пасеках одновременно, соблюдая очередность разработки и 50-метровую зону безопасности.

Трелевка хлыстов осуществляется как за комель, так и за вершину. Волоки проходят посередине пасек и могут быть криволинейными, поскольку они прокладываются в направлении наибольших просветов между корневищами. На криволинейных участках ширина волока должна быть не менее 7 м.

Разработка пасек звеном, как правило, начинается с того места, где имеются наибольшие просветы между кронами деревьев или отсутствует стена леса. Деревья в гнездах вырубают за два приема. Сначала вырубаются деревья, имеющие естественный наклон стволов в сторону погрузочного пункта (рис. 14, б). При подходе трактора звено участвует в чокеровке хлыстов, которые трелюются за вершину. Во второй прием в этих же гнездах валят оставшиеся стволы в сторону естественного наклона комлями по направлению трелевки. Как и при выполнении первого приема постепенной рубки, может осуществляться последовательная валка всех оставшихся стволов на пасеке или чередование валки с обрезкой сучьев (рис. 14, а). При этом трелевка осуществляется за комель. От каждого звена трелевка хлыстов осуществляется поочередно.

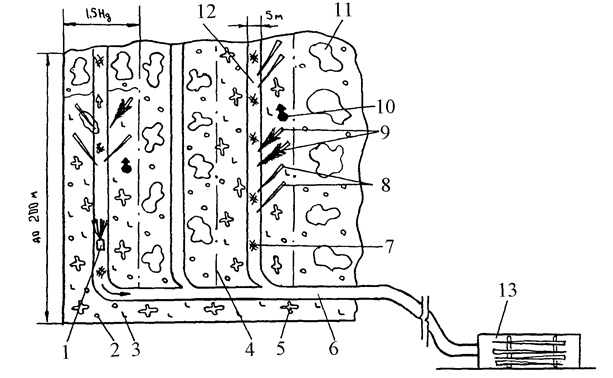
5.6. Технология лесосечных работ с заготовкой хлыстов и технологической и щепы представлена на рис. 15. Данную технологию целесообразно применять при разработке разновозрастных, двухярусных лесонасаждений со средним объемом хлыста больше или равным 0, 2 м3. Суть технологии заключается в том, что в процессе трелевки производят подсортировку деревьев на две сортгруппы. В первую включают деревья, подлежащие очистке от сучьев и вывозке хлыстами на лесные склады (крупномерные), а во вторую – тонкомерные деревья, не пригодные для заготовки деловых сортиментов.

Лесосека разбивается на пасеки шириной 35…40 м. На них прокладывается волок шириной 4…5 м. Валка деревьев на полупасеках производится в два приема: сначала валятся тонкомерные деревья вершинами от волока под углом 20…300 к нему, затем на них, как на подкладочные, валятся крупномерные деревья вершинами к волоку под тем же углом. В результате крупномерные деревья будут лежать по отношению к тонкомерным под углом 40…600. После валки в объеме рейсовой нагрузки трактора крупномерные деревья вытрелевываются на погрузочный пункт к сучкорезной машине, где очищаются от сучьев. Полученные хлысты отгружаются челюстным лесопогрузчиком.

Тонкомерные деревья (вторая сортгруппа) вытрелевываются в последнюю очередь, когда будет обеспечено безопасное расстояние от зоны валки. Они располагаются перпендикулярно или под некоторым углом в отдельном штабеле на свободной части погрузочной площадки и в последующем измельчаются вместе с кусковыми лесосечными отходами на щепу. Полученная щепа по щепопроводу подается непосредственно в кузов автощеповоза.

Схема разработки лесосек с заготовкой хлыстов и технологической щепы

 

 

1 - пасека; 2 - трелевочный трактор; 3 - трелевочный волок; 4 - бензиномоторная пила; 5 - рубительная машина; 6 - щеповоз; 7 - тонкомерные и низкокачественные деревья, подлежащие переработке на щепу; 8 - погрузочный пункт; 9 - деревья, подлежащие вывозке в хлыстах; 10 - отходы; 11 - сучкорезная машина ЛП-ЗОВ; 12 - хлысты; 13 - челюстной погрузчик; 14 - лесовозный автопоезд; 15 - лесовозный ус

 

Рис. 15.

 

Несплошные рубки главного пользования

 

5.7. Разработка лесосек при добровольно-выборочных и равномерно-постепенных рубках возможна по схеме, приведенной на рис. 16.

Разработку лесосеки начинают с разработки погрузочных площадок и магистральных волоков. Далее разрабатывается пасечный волок, затем поочередно за 1-2 захода полупасеки. При разработке полупасеки за два прохода сначала ведут валку деревьев на ленте шириной 7…10 м, примыкающей к волоку. После ее разработки (обрезка сучьев и вытрелевка хлыстов) проводится валка на удаленной от волока ленте под углом 25…45°. Валка деревьев на лентах полупасек начинается с ближнего конца лесосеки. На волоке проводится сплошная заготовка деревьев, на полупасеках – выборочная (заготавливаются намеченные в рубку деревья).

 

Схема разработки лесосеки с применением на трелевке леса

тракторов с канатно-чокерной оснасткой

 

 

1 - трелевочный трактор; 2 - подрост; 3 - пни; 4 - граница пасеки; 5 - деревья, вырубаемые во второй и последующие приемы; 6 - магистральный трелевочный волок; 7 - порубочные остатки; 8 - хлысты; 9 - деревья; 10 - вальщик; 11 - растущий лес; 12 - пасечный волок; 13 - погрузочный пункт

 

Рис. 16

 

Валка леса при несплошных рубках проводится вдвоем. Валку ведут таким образом, чтобы повреждение подроста и оставляемых на доращивание деревьев было минимальным. Деревья валят в просветы. Для образования просвета вначале проводится валка ближайших к волоку клейменных деревьев. Деревья, которые нельзя повалить вершиной в сторону направления трелевки, валят в том направлении, из которого легче обеспечить вытаскивание хлыста на волоках.

Очистка деревьев от сучьев по данной технологии проводится легкими бензиномоторными пилами (при их отсутствии допускается применение ручной обрубки сучьев топорами).

При всех способах рубок трелевка леса тракторами проводится только по волокам. Пачка собирается за несколько приемов. За один прием сбор хлыстов ведется с одной из полупасек. В целях предотвращения уширения волоков, сохранения подроста на поворотах пасечных, разворотах магистральных волоков следует оставлять отбойные деревья из числа назначенных в рубку, которые вырубаются после завершения работ на пасеке. Неправильно поваленные деревья, крупные хлысты во избежание повреждений молодняка и подроста вытаскивают на волок по одному. Деревья, поваленные под углом к волоку более 45°, раскряжевывают и вытаскивают по частям. Ширина пасек должна быть не более полуторной высоты древостоя – 30…35 м.

5.8. Технология разработки лесосек на участках с подростом, предусматривающая комбинированную технологию, представлена на рис. 17. Средняя лента полосы разрабатывается валочно-пакетирующей машиной, а боковые по традиционной технологии бензопилами с привалом деревьев к волоку, проложенному валочно-пакетирующей машиной на средней ленте и последующей трелевкой хлыстов трелевочным трактором. Обрезка сучьев производится легкими бензиномоторными пилами на месте валки. Сучья укладываются на волок. Вначале подготавливают волок шириной 5 м: спиливают заподлицо все деревья и вырубают подрост. Далее разрабатывается средняя лента. После вытрелевки хлыстов поочередно разрабатываются боковые ленты. Деревья валят на изреженную часть пасеки вершиной на волок. Ширина пасек должна быть не более 30…35 м, что обеспечивает валку деревьев вершиной на волок под углом не более 35°. Это сохраняет подрост при вытрелевывании хлыстов на волок и формировании пачек.

 

Схема разработки лесосеки с сохранением подроста по комбинированной технологии на базе ВПМ

 

1 - магистральный трелевочный волок; 2 - трелевочный трактор; 3 - ленты, разработанные валочно-пакетирующей машиной; 4 - хлысты; 5 - ленты, разработанные по традиционной технологии; 6 - деревья; 7 - порубочные остатки; 8 - пасечный волок; 9 - вальщик; 10 - подрост; 11 - граница пасеки; 12 - растущий лес; 13 - валочно-пакетирующая машина; 14 - деревья, вырубаемые во второй и последующие приемы; 15 - пни; 16 - погрузочный пункт; Ü - направление валки; - направление трелевки

 

Рис. 17

5.9. При группово-постепенных рубках разработка лесосек ведется по технологическим схемам, где на валке леса и очистке деревьев от сучьев применяют бензиномоторные пилы. Первоначально разрубают волоки. После вытрелевки леса с волоков приступают к валке деревьев в " окнах" и " лесовозобновительных кольцах". Деревья валят вершинами в направлении трелевки в сторону " окна". Очистка деревьев от сучьев производится на лесосеке легкими пилами, сучья укладываются на волок, хлысты трелюют за вершину.

В сосняках с наличием группового подроста сосны разработка лесосеки ведется по схеме, приведенной на рис. 18, а. Пасечные волоки прорубают так, чтобы они проходили с двух сторон " окна". В сосняках на песчаных почвах без наличия подроста разработка лесосеки ведется по схеме, приведенной на рис. 18, б.

Схема разработки лесосек при группово-постепенных рубках

с групповым подростом сосны (а) и без подроста (б)

 

 

1 – трелевочный волок; 2 – подрост; 3 – пень; 4 – поваленное дерево; 5 – окно; 6 – лесовозобновительное кольцо; 7 – хлыст; 8 – порубочные остатки; 9 – погрузочная площадка; 10 – лесовозная дорога

 

Рис. 18.

Расстояние между пасечными трелевочными волоками 50…60 м. " Окна" с " лесовозобновительными кольцами" закладывают с таким расчетом, чтобы волок проходил через середину " окна". В первый прием проводят разработку " окон" и разреживание " лесовозобновительных колец". В последующие приемы " окна" расширяют до полной вырубки материнского полога леса.

5.10. Проведение полосно-постепенных рубок, особенно в насаждениях со вторым ярусом и крупным подростом, с использованием трелевочных тракторов ТТР-401 (МТП-441), МЛ-126/127 возможно по схемам, приведенным на рис. 19.

 

Схема разработки лесосек при полосно-постепенных рубках (первый прием)

 

1 - лесовозный ус; 2 - магистральный волок; 3 - пасечный волок; 4 - поваленные деревья; 5 - вальщик; 6 - растущий лес; 7 - пни; 8 - трактор; 9 - подрост; 10 - порубочные остатки; 11 - погрузочный пункт; (а - двухприемные рубки без сохранения подроста; б - трехприемные рубки с сохранением подроста)

 

Рис. 19

Древостой на лесосеке вырубается в два-три приема. За один прием проводится сплошная заготовка деревьев на полосах, предназначенных в рубку. Волок устраивается в средней части полосы. В порослевых лиственных древостоях предпочтительнее иметь два волока, прокладываемые по границам полосы.

На полосах шириной 15 - 17 м подготавливается один волок по одной из их границ. Полосы разрабатываются узкопасечным методом: валка деревьев ведется вершинами к волоку в направлении трелевки, очистка деревьев от сучьев на полосе, сучья укладываются на волок, хлысты трелюются вершинами вперед.

 

Технологические схемы разработки лесосек

с применением харвестеров

 

5.11. Харвестер работает в комплексе с одним или двумя форвардерами. В состав технологического процесса входят следующие операции: валка деревьев, обрезка сучьев, раскряжевка хлыстов и пакетирование сортиментов харвестером; сбор и погрузка сортиментов (минипачек) на грузовую платформу форвардера, подвозка и разгрузка их с подсортировкой сортиментов в штабели у лесовозной дороги.

5.12. На сплошной рубке однозахватному (грейферному) харвестеру наиболее подходит веерный способ работы. Ширина пасек (разрабатываемой ленты) должна быть около 10…15 м. Расстояние между волоками должно быть не менее двух длин бревна.

Машина устанавливается на расстоянии примерно в две ширины харвестера от края делянки в нескольких метрах от деревьев. Валят деревья в такой последовательности, чтобы сучья не оказались на пачках сортиментов. Их можно валить по одной из схем, приведенных на рис. 20. Способ, когда деревья валят, если смотреть из кабины, веерообразно и формируют пачки в противоположной от машины стороне либо под стрелой, представлен на рис. 20, а. Способ, когда деревья валят крест-накрест перед машиной, откуда они легко могут быть перемещены к ближайшим пачкам, показан на рис. 20, б.

Плоскость пропила должна быть чуть выше шейки верхнего корня, чтобы пень остался как можно более низким и не образовывались расщепления и сколы. Если дерево не может быть повалено харвестером без повреждения, его следует повалить бензиномоторной пилой вручную. Нельзя двигать грейферный агрегат во время пиления. Ствол необходимо перепиливать полностью, не ломая его. При глубоком снеге агрегат опускают вдоль ствола вальцами.

Основная цель при работе грейферным харвестером заключается в том, чтобы производить обработку деревьев с минимальным их перемещением. Необходимое перемещение дерева осуществляется в процессе обрезки сучьев (подачи). Если грунты слабые, то обработку дерева следует выполнять перед машиной таким образом, чтобы из сучьев образовался защищающий почвенный покров хворостяной настил. На хороших грунтах деревья обрабатываются по обе стороны от машины.

 

Способы и очередность валки деревьев харвестером

 

Рис. 20

При выполнении сплошнолесосечных рубок без сохранения подроста обе полупасеки могут разрабатываться после прорубки волока либо одновременно с ним. В последнем случае вначале валят деревья, расположенные на волоке. Очередность и направление валки деревьев показаны на рис. 20, в. Они планируются на каждой стоянке харвестера. Необходимо обрабатывать с одной стоянки все доступные деревья, используя для этого вылет манипулятора. Деревья, которые расположены далее 4 м от края волока, как правило, обрабатываются на той же стороне полупасеки. Обрезка сучьев в этом случае производится под стрелой, что сокращает перемещения манипулятора и увеличивает производительность харвестера.

Направление валки выбирается так, чтобы дерево было не только легко обрабатывать, но и удобно формировать пачки сортиментов. В целях облегчения их подбора и подсортировки форвардером оператор харвестера должен укладывать пиловочник и балансы в разные пачки, желательно перпендикулярно к волоку. Место укладки сортиментов определяется до начала валки. Обрабатываемое дерево должно удерживаться как можно ближе к земле, но все же настолько высоко, чтобы срезанные сучья могли свободно падать на землю, не зависая на технологическом оборудовании. При обрезке сучьев необходимо использовать инерцию и массу дерева. Работая на постоянных оборотах двигателя и добавляя их при необходимости, когда обрезаются толстые сучья, рекомендуется дополнительно делать встречное движение стрелой манипулятора при подаче дерева. Раскряжевку следует производить без расщеплений и сколов, помня, что правильное ее выполнение сохраняет ценность древесины.

5.13. При проведении несплошных рубок харвестером особенно важно всеми способами избегать повреждения почвы, стволов и корней, так как, например, основной целью прореживания является предоставление лучшим деревьям дополнительного пространства для роста. При прореживании однозахватным харвестером деревья не подвергаются предварительному клеймению. У оператора имеется возможность и без клеймения выбирать самые подходящие с биологической и технической точки зрения деревья для прореживания. Однако поврежденные с вершины или в других частях деревья следует все же размечать. Прореживание начинают с разметки волока (технологического коридора) бумажными лентами. Разметку следует произвести с такой частотой, чтобы из кабины одновременно были видны 2–3 ленты. Подходящее расстояние между волоками составляет 25…30 м. Их ширина должна быть 4 м. Волоки следует прокладывать по возвышенным, хорошо несущим местам, избегая боковых уклонов. При их прокладке следует использовать в полную меру лесные поляны, края лесосек и прореженные участки.

Деревья спиливают и валят с учетом расположения групп подроста и оставляемого на доращивание древостоя. Волок при этой технологии может быть как прямолинейным (рис. 21, а), что упрощает трелевку, так и непрямолинейным (рис. 21, б) вследствие огибания харвестером куртин подроста, одиночных деревьев хозяйственно ценных пород и других препятствий. Непрямолинейные волоки снижают ветровую нагрузку на насаждение, однако уменьшают расстояние между технологическими стоянками машины по причине необходимости обеспечения доступности и ограничения повреждений деревьев, остающихся на лесосеке.

В полностью машинизированном методе расстояние между волоками принято 20 м (рис. 21, а). При максимальной зоне обработки звеньев харвестер может обрабатывать всю зону между волоками, где выборочно срезают отдельные деревья. Ширина пасечного волока, с которой полностью удаляют деревья, составляет 4 м.

При втором полностью машинизированном методе расстояние между волоками достигает 30 м. При этом необработанную зону между волоками рубят с так называемой промежуточной зоны, когда харвестер едет между волоками и срезает деревья, которые не достает с них.

Технология с заездами харвестера на полупасеки (рис. 21, в) может рассматриваться как вариант технологии с волоком посередине пасеки с увеличенной ее шириной до четырех эффективных вылетов манипулятора (4R). Заезды на смежных полупасеках необходимо выполнять по дуге, что обеспечивает плавное их примыкание к волоку со смещением на два эффективных вылета манипулятора (2R).

 

 

Схемы разработки лесосеки грейферным харвестером

при полностью машинизированном методе

Рис. 21

 

Возможность использования харвестера при работе в трех режимах позволяет увеличить расстояние между пасечными волоками до четырех вылетов манипулятора (рис. 21, г). Ширина пасеки по такой технологии равна 6R. Вначале разрабатываются смежные пасечные волоки, отстоящие друг от друга на расстоянии 4R, и прилегающие к ним ленты, досягаемые для манипулятора харвестера. Работа при этом ведется в режиме валка – обрезка сучьев – раскряжевка. Затем харвестер переходит для работы на оставленную между волоками полосу леса. Перемещаясь по центру этой полосы таким образом, чтобы наносимый ущерб лесу был минимальным, харвестер выполняет только валку деревьев, назначенных в рубку, под прямым углом к волоку вершинами по направлению к ближайшему из волоков. Обрезка сучьев и раскряжевка этих деревьев осуществляется во время повторного прохода харвестера с волоков. Обрезка сучьев производится при этом от вершины к комлю, а раскряжевка – в обратном направлении. Данная технология позволяет сосредоточить на волоке повышенное количество порубочных остатков, сократить трудозатраты на очистку лесосеки от них и рекомендуется на грунтах с невысокой несущей способностью.

Уменьшить длину пасечных волоков на лесосеке позволяет метод работы харвестера со вспомогательным коридором (импровизированным волоком) (рис. 21, д). При работе харвестера на вспомогательном коридоре, как и на волоке, выполняется весь цикл операций: валка, обрезка сучьев, раскряжевка и пакетирование сортиментов. Пачки при этом укладываются на максимальном удалении от машины. Этим обеспечивается доступность пачек, сформированных харвестером при работе на вспомогательном коридоре, для манипулятора форвардера. Форвардер, на который приходится основная часть повреждения почвы, подроста и оставляемого древостоя, работает лишь на волоках, удаленных друг от друга на расстояние примерно 3, 5 эффективных вылета манипулятора харвестера.

5.14. В полумеханизированном методе расстояние между волоками составляет 30 м. Харвестер работает на волоке, срезает и обрабатывает деревья на волоке и выборочно по обе стороны от него в зоне вылета манипулятора. Деревья, расположенные в промежуточной зоне, срезают вручную с помощью бензопилы в направлении волока (рис. 22, а) или все деревья в сторону каждого второго волока. Последний вариант уменьшает число проходов харвестера при обработке деревьев. После этого машина с волока раскряжевывает их на сортименты. Сначала харвестерная головка очищает ствол от сучьев в направлении от вершины к комлю. Затем, опустив хлыст, она подхватывает его за комель и, протаскивая его осуществляет отмер длин, раскряжевку и укладку сортиментов у волока. Для нормальной обработки деревьев, поваленных бензиномоторной пилой при полумеханизированном методе, грейферным харвестером сначала прорезают полосу собственно трелевочного волока, а затем прореживают рабочую зону, доступную данному типу гидроманипулятора.

Потребность в ручной валке можно уменьшить путем выезда машины за пределы волока (рис. 22, б), обеспечивая, таким образом, агрегату больший доступ к деревьям. Этот метод целесообразно применять при интенсивной выборке деревьев, когда от волока уже имеются проходы в лес. Оставшиеся в промежуточной зоне деревья валят бензиномоторной пилой и обрабатывают харвестером при повторном проходе (рис. 22, в).

5.15. На рубках ухода с использованием харвестера можно применять трехступенчатую технологию (рис. 23). На 1-й ступени работы харвестер прорубает трассы трелевочных волоков шириной 3, 5 м, расстояние между которыми не менее 40 м. На 2-й ступени ведут выборочную рубку деревьев в зонах, расположенных по обеим сторонам трелевочного волока в зоне манипулятора. На 3-й ступени вальщик леса бензиномоторной пилой осуществляет выборочную рубку деревьев в зонах, находящихся за пределами радиуса действия манипулятора. Подтаскиванием сваленных бензиномоторной пилой деревьев занимается тот же вальщик, который использует для этих целей радиоуправляемую лебедку, установленную на тракторе. В этом случае функции харвестера сводятся к очистке деревьев от сучьев, раскряжевке стволов и укладке сортиментов у волока. Все три ступени разделены во времени.

 

Схемы разработки лесосеки харвестером при полумеханизированном методе

1 – харвестер; 2 – поваленные бензопилой деревья; 3 – растущий лес; 4 – волок; 5 – сортименты; 6 – пеньки

Рис. 22

 

Трехступенчатая технология рубок ухода за хвойными насаждениями

с использованием харвестера

1 – харвестер; 2 – пачка сортиментов; 3 – технологический коридор для харвестера и форвардера; 4 – лесовозная дорога; 5 – пачки деревьев; 6 – бензиномоторная пила; 7 – радиоуправление лебедкой; 8 – лебедка

Рис. 23

 

5.16. При сплошных рубках главного пользования в крупных лесонасаждениях на лесосеках с хорошей несущей способностью грунтов в пересеченной местности харвестер флангового действия либо полноповоротный харвестер могут разрабатывать ленту шириной около 10 м (рис. 24, а). При использовании валочно-сучкорезно-раскряжевочной машины флангового действия дерево сначала захватывают и срезают валочной головкой, а затем подают в процессорную головку для обрезки сучьев и раскряжевки. Срезание деревьев, как и одномодульным харвестером, осуществляется перед собой и слева по ходу движения машины. Заготовленные сортименты раздельно укладываются в пачки вдоль трелевочного волока справа по ходу движения харвестера. Порубочные остатки возможно укладывать на волок или вдоль него.

5.17. При санитарных или группово-постепенных рубках разработка лесосек также может вестись " узкими лентами" по технологической схеме, приведенной на рис. 24, б. Валка деревьев, их очистка от сучьев и раскряжевка начинается харвестером вдоль границы окна на ленте шириной 6…10 м перед собой и справа по ходу движения машины. На этой же ленте справа по ходу движения харвестера раздельно укладываются и пачки сортиментов. По мере удаления харвестера на безопасное расстояние в работу вступает форвардер, который перемещается по волоку, выстланному порубочными остатками, и загружает на себя сортименты, также расположенные справа по его ходу. В такой последовательности разработка лент в окне (пораженной зоне) продолжается до последней ленты. На ней направление валки и обработки деревьев меняется на противоположное, с таким расчетом, чтобы выпиленные сортименты и порубочные остатки оказались в границах окна.

 

Схемы заготовки сортиментов харвестерами узкими лентами

 

а б
   
в  

Рис. 24

 

5.18. При заготовках полухлыстов или комбинированных кряжей для вытрелевки могут использоваться тракторы для бесчокерной трелевки с пачковым захватом (скидеры). Возможная технология работ такой системы машин приведена на рис. 24, в. Расстояние между волоками 6…10 м определяется вылетом манипулятора харвестера, который укладывает сортименты (долготье и короткомерные) в раздельные пачки на смежную от разрабатываемой ленту. При достижении безопасного расстояния от харвестера скидером, начиная с ближнего конца лесосеки, осуществляется трелевка пачек долготья в направлении, перпендикулярном к оси волока. По мере обеспечения фронта и безопасных условий работы оставшиеся пачки короткомерных сортиментов загружает на себя и вывозит к месту штабелевки и отгрузки форвардер, который перемещается по пасечным волокам. Ввиду повреждения машинами лесных почвогрунтов на значительной площади лесосеки такая технология работ допускается при последующем искусственном лесовозобновлении.

5.19. Разработка ветровально-буреломных лесосек может осуществляться лентами 6…10 м (рис. 25). Срезание деревьев перед собой и справа по ходу харвестера осуществляется преимущественно на стену леса (за исключением первой разрабатываемой ленты). Пачки сортиментов формируются при обработке деревьев на свободной от леса ленте. Порубочные остатки укладываются под колеса харвестера на месте пасечных трелевочных волоков. В зависимости от характера взаиморасположения деревьев в отдельных случаях допускается, после их срезания или перерезания, обработка в любом направлении. Используя усилие гидроманипулятора харвестера или, целесообразнее, форвардера, рекомендуется возвращать в исходное положение пни с корнями вывернутых деревьев.

 

Схема разработки ветровально-буреломных лесосек

 

Рис. 25

 

5.20. Схемы разработки лент харвестером, осуществляющим обрезку сучьев после срезания дерева и последующую раскряжевку на сортименты в вертикальном положении (МЛ-20), представлены на рис. 26. Технологический цикл машины при обработке деревьев складывается из следующих приемов: переезда машины со стоянки на стоянку; наводки обрабатывающей головки на дерево; зажима, натяжения, срезания, переноса дерева к месту обрезки сучьев и поднятия на высоту не менее длины выпиливаемого сортимента, вертикальной подачи вниз и обрезки сучьев, переноса дерева к месту отпиливания (раскряжевки) и укладки сортиментов. Операции обрезки сучьев и отпиливания сортиментов с укладкой их в пачки повторяются до полной обработки дерева.

 

Схема заготовки сортиментов машиной МЛ-20

 

1 – волок; 2 – границы ленты; 3 – растущий лес; 4 – машина МЛ-20; 5 – порубочные остатки; 6 – сортименты

Рис. 26

После обработки деревьев в зоне действия манипулятора машина перемещается на очередную стоянку. Сучья обрезают, когда дерево в вертикальном положении протаскивают через сучкорезное устройство. Такой способ позволяет использовать также силы гравитации, создающие дополнительное усилие протаскивания.

Разработку лесосеки харвестер ведет на полную ширину вылета манипулятора. Схемы возможной работы отличаются между собой местом укладки сортиментов, порубочных остатков на лесосеке и расстоянием между валами порубочных остатков. На рис. 26, а представлена схема, когда и выпиленные сортименты, и сучья укладываются на границе ленты справа по ходу движения машины. Несмотря на некоторое увеличение производительности, данная схема не исключает засорения пачек сортиментов сучьями и затрудняет набор пачки форвардером. Схема, представленная на рис. 26, в, лишена этих недостатков. После прохода машины и разработки ленты с одной стороны остается вал из сучьев, с другой – сортименты. Если на лесосеке допускается одноразовый проход харвестера, то можно рекомендовать технологическую схему, когда сучья укладываются за машиной на волоке (рис. 26, б). Порубочные остатки укрепляют волок и обеспечивают многократные проходы форвардера.

5.21. При всех рассмотренных схемах (рис. 20-26) на труднодоступных для харвестеров участках и при невозможности обработки деревьев с помощью машин (большой диаметр, неправильная форма или неудобный наклон ствола и т.п.) валку деревьев, обрезку сучьев и раскряжевку хлыстов осуществляет вальщик с помощью бензиномоторной пилы. Предварительная уборка кустарника, валежника, а при сплошных рубках и маломерных деревьев (d1, 3 £ 12 см), которые заготавливаются в первый прием иными системами машин (например, бензиномоторная пила и малогабаритный трелевочный трактор), позволяет увеличить производительность харвестеров до 5…23 % за счет улучшения условий труда (доступности, обзорности и др.) и увеличения среднего объема хлыста. Повышает эффективность работы системы харвестер – форвардер устройство на лесосеке объездных волоков.

 

Технология рубок ухода в молодняках

 

5.22. По способу изъятия из насаждения (уничтожения) нежелательных деревьев или способу выполнения основных операций выделяются технологии, которые объединяются по применяемым в них основным базовым машинам или инструментам в следующие группы.

Технологические процессы на базе ручных мотоинструментов, обеспечивающие срезание деревьев сплошными полосами (коридорами) или выборочно отдельных деревьев.

Технологические процессы на базе машин (катков, кусторезов) фронтального типа, обеспечивающие вырубку (уничтожение) деревьев сплошными полосами (коридорами).

Технологические процессы на базе машин (катков, кусторезов) фронтального типа и ручных мотокусторезов, обеспечивающие вырубку (уничтожение) деревьев сплошными полосами (коридорами) и выборочное срезание нежелательных деревьев в технологических полосах (или рядах культур).

Технологические процессы на базе катков, кусторезов фронтального типа и кусторезов манипуляторного типа, обеспечивающие прокладку коридоров и выборочное срезание деревьев в технологических полосах или на базе одного кустореза манипуляторного типа.

Технологические процессы на базе кусторезов-комбайнов манипуляторного типа, обеспечивающие уничтожение нежелательных деревьев путем измельчения их в щепу, накопление ее и перевозку к транспортным путям.

5.23. При проведении рубок ухода в сложных молодняках целесообразно применять кусторезы-осветлители. Для работы с их применением в культурах необходимо иметь ширину междурядий не менее 3-х метров. Если до создания культур не проведено понижение пней, то на вырубках с количеством их менее 500 шт./га, в зависимости от ширины междурядий, возможно применение кусторезов-осветлителей в агрегате с колесным трактором МТЗ 80/82 (100/102). Поросль древесных пород срезается сплошь около рядов главной породы с оставлением защитной полосы вдоль ряда шириной 0, 5-0, 7 м.

В культурах на вырубках с количеством пней более 500 штук на 1 га используются кусторезы в агрегате с гусеничным трактором типа ЛХТ-55.

При необходимости уход в оставляемых защитных полосах ведется ручным мотокусторезом.

5.24. При проведении ухода в сложных культурах с шириной междурядий менее 3 м для срезания стволиков применяются ручные мотокусторезы или легкие бензопилы. Срезанные деревья разделываются, как правило, на пасеке. Ликвидная древесина выносится к предварительно прорубленным волокам, а затем трелюется малогабаритными тракторами на верхний склад.

При промышленном использовании древесной зелени производится трелевка деревьев с кронами.

5.25. Для проведения рубок ухода в естественных смешанных и сложных молодняках при равномерном размещении и достаточном количестве главной породы по площади можно проводить сплошное удаление всех пород кусторезами-осветлителями фронтального действия 3-4 метровыми полосами с оставлением таких же кулис.

При групповом расположении главной породы кусторезами срезают всю растительность параллельными взаимно перпендикулярными полосами с образованием 250-300 биогрупп на гектаре. В дальнейшем уход в кулисах или биогруппах при необходимости проводится ручными мотокусторезами.

5.26. В перегущенных чистых культурах допускается выборка целого (каждого 4-го или 8-го) ряда деревьев и трелевка срубленных деревьев с кронами на верхний склад для последующей заготовки хвойной лапки.

5.27. Основные способы разработки лесосек при проведении рубок ухода в молодняках приведены на рис. 27-33.

Схема разработки лесосек при проведении рубок ухода в смешанных

и сложных молодняках при наличии ликвидной древесины

 

 

Рис. 27

 

Технологические коридоры в смешанных и сложных молодняках устраиваются через 20 метров и только при наличии ликвидной древесины. В качестве технологических коридоров, лесовозных усов и т.д. в первую очередь используются имеющиеся дороги. В насаждениях искусственного происхождения в качестве технологических коридоров используются, как правило, междурядья (при ширине их более 3 м). Ширина волока должна быть не более 5 м. Срезанные деревья разделываются, как правило, на полупасеках. Ликвидная древесина после очистки ее от сучьев выносится (подтрелевывается) и складируется в пачки вдоль технологического коридора, а затем вывозится потребителю или вытрелевывается на погрузочную площадку.

 

 

Схема разработки лесосек при проведении рубок ухода в чистых

молодняках при наличии ликвидной древесины

 

 

Рис. 28

 

Технологические коридоры в чистых молодняках прорубаются через 40 м. Их устраивают только при наличии ликвидной древесины.

При подготовке лесосек максимально используются существующие лесные дороги, прогалины вырубки, технологические разрывы. Ширина подготовленного волока для тракторной трелевки леса должна быть не более 5 м.

Ликвидная древесина разделывается, как правило, на полупасеках, а затем выносится (подтрелевывается) и складируется в пачки вдоль волока, для последующей вывозки потребителю или вытрелевывается на погрузочную площадку.

 

 

Схема разработки лесосек при проведении рубок ухода в сложных

молодняках (культурах) кусторезами-осветлителями с количеством

пней на вырубке менее 500 шт./га

 

 

Рис. 29

 

Уход в сложных молодняках по данной схеме при ширине междурядий не менее 3-х метров осуществляется с применением кусторезов-осветлителей фронтального действия. Если до создания культур не произведено понижение пней, то на вырубках с количеством их менее 500 шт./га, в зависимости от ширины междурядий, применяются кусторезы типа РКР-1, 5 или КОМ (КОН)-2, 3 в агрегате с тракторами MTЗ-80/82. Поросль древесных пород при этом срезается сплошь с оставлением около рядов главной породы защитной полосы вдоль ряда 0, 5-0, 7 метра.

При необходимости уход в оставляемых защитных полосах ведется ручными мотокусторезами.

 

 

Схема разработки лесосек при проведении рубок ухода в сложных

молодняках (культурах) кусторезами-осветлителями с количеством

пней на вырубке более 500 шт./га

 

 

Рис. 30

 

Данная схема рекомендуется для применения в культурах с шириной междурядий не менее 3-х метров, созданных по вырубкам с количеством пней более 500 шт./га. Для этих целей применяются кусторезы типа КОК-2, 0 или КОГ-2, 3 в агрегате с трактором ЛХТ-55. Сплошное срезание поросли древесных пород производится коридором шириной 2, 0 или 2, 3 м с оставлением защитной полосы вдоль ряда 0, 5-1, 0 м.

При необходимости уход в оставляемых защитных полосах ведется ручными мотокусторезами.

 

Схема разработки лесосек при проведении рубок ухода в естественных

смешанных и сложных молодняках при равномерном размещении

и достаточном количестве главной породы

 

 

 

Рис. 31

 

Данная схема применяется при проведении рубок ухода в естественных смешанных и сложных молодняках при равномерном и достаточном количестве главной породы по площади.

Для организации территории в участке молодняка делается разметка трассы направления движения агрегата. Трактор с кусторезом-осветлителем фронтального действия проводит сплошное удаление всех пород в 3-4 метровой полосе с оставлением таких же кулис.

При необходимости уход в оставляемых кулисах ведется ручными мотокусторезами или легкими бензиномоторными пилами.

 

 

Схема разработки лесосек при проведении рубок ухода в естественных

молодняках при групповом размещении главной породы кусторезами

параллельными взаимно перпендикулярными полосами

 

 

Рис. 32

 

Данная схема применяется при групповом расположении главной породы на участке. Кусторезами фронтального действия проводится сплошное срезание всей растительности параллельными взаимно перпендикулярными полосами с образованием (оставлением) 250-300 биогрупп главных пород на гектаре. В дальнейшем уход в кулисах или биогруппах при необходимости проводится ручными мотокусторезами.

 

Схема разработки лесосек при проведении рубок ухода

в перегущенных чистых культурах

 

Рис. 33

Уход в перегущенных чистых культурах состоит в том, что изреживание насаждения проводят путем сплошной вырубки каждого 4-го или 8-го ряда. В оставленных рядах проводят селекционную выборку. Расстояние между вырубленными рядами определяют в зависимости от условий местопроизрастания, полноты и густоты насаждений, ширины междурядий. В загущенных чистых культурах можно уменьшить число рядов в оставляемых кулисах.

Валка деревьев производится легкими бензиномоторными пилами или ручными мотокусторезами.

Для трелевки пачек заготовленной древесины используют колесные малогабаритные тракторы с бесчокерным трелевочным приспособлением. Трелевку срубленных деревьев с кронами осуществляют по вырубленному ряду для последующей заготовки хвойной лапки.

При определении интенсивности рубок ухода следует особое внимание обращать на возможность снеголома в рядах, прилегающих к образованным технологическим коридорам.

 

5.35. Вытаскивание хлыстов, полухлыстов и сортиментов на технологический коридор осуществляется без их разворота в пасеках. Пачки хлыстов и сортиментов формируются на технологическом коридоре.

5.36. Угол примыкания пасечных волоков к магистральному устанавливается в зависимости от формы участка и рельефа местности, вида трелюемой древесины (сортименты, хлысты, полухлысты). При угле примыкания более 45 градусов должен обеспечиваться плавный переход от пасечного волока к магистральному (по дуге) с минимальной вырубкой деревьев и созданием условий для производительной и безопасной работы. Примыкание двух пасечных технологических коридоров к магистральному в одной точке не допускается.

5.37. Движение трелевочных механизмов разрешается по технологическим коридорам и погрузочным площадкам. В чистых древостоях без подроста и подлеска допускается заезд механизмов на пасеку при бесчокерной трелевке. Трелевка деревьев с кроной допускается при проведении прочисток и прореживаний в случае промышленного использования древесной зелени или переработки древесных отходов на щепу.

5.38. В насаждениях с влажными и сырыми почвами при проведении рубок ухода должна предусматриваться укладка порубочных остатков на технологические коридоры с целью их укрепления.

5.39. Для погрузки древесины от рубок ухода могут применяться передвижные краны промышленного назначения, лесные гидроманипуляторы, челюстные погрузчики.

5.40. При проведении всех видов рубок ухода принимаются меры предосторожности против повреждения оставляемых на корню деревьев. Используются для этой цели защитные колья и отбойные деревья, которые вырубаются в последнюю очередь.

5.41. Технологии раскряжевки хлыстов, сортировки, штабелевки и погрузки лесоматериалов должны способствовать наиболее рациональному использованию древесины и оказывать минимально вредное воздействие на почву, подрост, оставляемый на доращивание древостой и окружающую лесную среду.

5.42. Основные способы разработки лесосек при прореживаниях и проходных рубках приведены на рис. 34-39.

 

Схема разработки лесосек при проведении рубок ухода

при валке деревьев бензомоторной пилой и трелевке

хлыстов тракторами в насаждениях при наличии подроста

 

 

Рис. 34

 

Если организация территории проводится впервые, то ширина пасек во всех насаждениях принимается равной 40 м. Посредине пасек намечают волоки шириной не более 5 метров.

Рубку деревьев на пасеках начинают с ближнего конца лесосеки. Валят деревья вершинами на волок под углом к нему не более 40° в просветы между растущими деревьями. При такой валке и трелевке повреждается меньше подроста и деревьев. При валке по данной схеме работают две бригады. Соблюдая зону безопасности 50 м, каждая бригада валит на полупасеке отобранные деревья, затем обрезает сучья. Трелевка хлыстов производится поочередно. Сучья укладываются на волок. В процессе трелевки они уплотняются колесами (гусеницами), перемешиваются с землей и сравнительно быстро перегнивают, не создавая пожарной и санитарной опасности. В зимнее время их сжигают в кучах. До тех пор, пока с одной части полупасеки не будут стрелеваны все хлысты, валить деревья с другой ее части на один и тот же волок не следует.

Хлысты с пасек трелюют за вершину. Трактор при трелевке перемещается только по волоку, разворачивается на нем в тех местах, где нет подроста.

Для уменьшения повреждаемости оставляемого древостоя в возрасте проходных рубок обрезку сучьев и раскряжевку хлыстов необходимо производить на пасеках с последующей трелевкой сортиментов или полухлыстов.

 

Схема разработки лесосек при проведении рубок ухода

с разбивкой полупасек на полосы при валке деревьев бензопилой

и трелевке древесины в насаждениях с наличием подроста

 

 

Рис. 35

 

Полупасеку разрабатывают двумя полосами (в два захода). В первый заход валят деревья в полосе шириной 7-9 м, примыкающей к волоку. После трелевки деревьев с этой полосы деревья валят на удалённой от волока полосе (ширина 12-14 м) в просветы между стоящими деревьями. Валка деревьев производится вершиной на волок под углом к нему не более 40 градусов.

При работе по данной схеме обеспечивается лучшее сохранение подроста и второго яруса под пологом леса.

Для облегчения обрезки и чокеровки хлыстов (для предотвращения завалов и перехлестывания вершин) вначале валят деревья с одной стороны полупасеки, а с другой только по окончании трелевки с первой полупасеки.

При работе одной бригадой (звеном) вальщик после валки на первой полосе переходит на очередную, соблюдая расстояние безопасности, а на первой приступают к очистке деревьев от сучьев и трелевке. Это позволяет снизить технологические простои и работать в безопасных условиях.

При работе двумя звеньями трелевка осуществляется поочередно, при этом звено после валки деревьев, обеспечивающей формирование воза, приступает к обрезке сучьев.

Для снижения повреждаемости оставляемых на корню деревьев, особенно на поворотах, по краям волоков оставляют " отбойные" деревья из числа назначенных в рубку. Валку и трелевку таких деревьев производят после завершения всех работ на пасеке.

 

Схема разработки лесосек при проведении рубок ухода с трелевкой

деревьев с кронами на погрузочный пункт (верхний склад) для

промышленного использования древесной зелени или

переработки древесных отходов на щепу

 

 

Рис. 36

 

Валка деревьев комлем к волоку с трелевкой деревьев с кронами производится при отсутствии подроста. Деревья валят в промежутки между растущими таким образом, чтобы разворот их был минимальным. На трелевке деревьев используются легкие марки колесных тракторов.

С целью предосторожности повреждения оставляемых на корню деревьев используются защитные колья и отбойные деревья, которые вырубаются в последнюю очередь.

Ширина трелевочного волока должна быть не более 5 м. Ширина пасеки зависит от высоты древостоя, но не должна быть меньше 20 метров.

Деревья на верхнем складе очищаются от сучьев. При этом древесная зелень и отходы идут для промышленного использования или переработки на щепу.

 

Схема разработки лесосек при проведении рубок

ухода с трелевкой сортиментов

 

 

Рис. 37

 

На полупасеках деревья валят в промежутки между растущими, кронами на волок. Сучья складируют на волоке, что делает его более проходимым при трелевке. Хлысты раскряжевываются на пасеке и полученные сортименты окучиваются в пачки и трелюются малогабаритными тракторами на верхний склад (погрузочную площадку).

При проведении рубок приминаются меры предосторожности против повреждения оставляемых на корню деревьев. Используются для этой цели защитные колья и отбойные деревья, которые вырубаются в последнюю очередь.

 

Схема разработки лесосек при проведении рубок ухода в насаждениях

с отсутствием подроста без прокладки волоков

 

Рис. 38

 

Данная схема применяется в насаждениях с полнотой 0, 7 и ниже при отсутствии подроста. Рубки в таких насаждениях проводятся без прокладки технологических коридоров (если последние не были проложены ранее).

Повал деревьев осуществляется бензиномоторной пилой в просветы между кронами растущих деревьев.

Для уменьшения повреждаемости оставляемого древостоя обрезку сучьев и раскряжевку хлыстов необходимо производить на пасеках.

Подтрелевка сортиментов к лесным дорогам осуществляется малогабаритными колесными тракторами с бесчокерным приспособлением.

Очистка мест рубок проводится в зависимости от условий местопроизрастания и возможности сбыта порубочных остатков.

При валке, трелевке и вывозке древесины должна соблюдаться 50-и метровая опасная зона.

 

 

Схема разработки лесосек при проведении рубок ухода с применением

поквартального или блочного способа

 

Рис. 39

 

При производстве работ на лесосеке должна быть обеспечена безопасность всего комплекса лесосечных работ, включающих подготовительные и вспомогательные работы, валку и трелевку леса, очистку деревьев от сучьев, раскряжевку хлыстов, погрузку леса, очистку лесосек.

При поквартальном или блочном методе организации рубок ухода технологическая сеть каждого участка создается таким образом, чтобы она являлась составной частью единой технологической сети квартала или блока кварталов и могла использоваться при проведении всех видов рубок ухода, рубок главного пользования и лесовосстановительных, а также для проведения других лесохозяйственных мероприятий.

Для технологической организации участков должны использоваться в первую очередь имеющиеся волоки, дороги, просеки, пустыри, прогалины и другие не покрытые лесом земли.

 

 

Технология рубок ухода в средневозрастных и приспевающих

насаждениях

 

5.28. В средневозрастных и приспевающих насаждениях технологические процессы прореживаний и проходных рубок, как правило, разрабатываются на базе мотоинструментов для валки деревьев, обрезки сучьев и раскряжевки и тракторов для трелевки деревьев, хлыстов или сортиментов, или тех же мотоинструментов для валки, обрезки сучьев и раскряжевки, и машин для сбора и подвозки сортиментов (форвардеров). Могут также применяться технологии с использованием оборудования (лебедок и др.), в т.ч. на форвардерах, или специальных машин для подтрелевки древесины к технологическим коридорам.

5.29. При прореживаниях в сложных насаждениях каждый четный или нечетный волок закрывается, а остальные расширяются до 5 м. Если организация территории проводится впервые, то ширина пасек во всех насаждениях принимается равной 40 м. Повал деревьев осуществляется бензопилами, а трелевка – колесными тракторами, оборудованными трелевочными приспособлениями.

5.30. Валка деревьев на волоке начинается с дальнего от погрузочного пункта конца с расчетом трелевки деревьев за комель. После валки деревьев и трелевки лесоматериалов на волоках производится их валка и трелевка в пасеках.

В насаждениях с наличием подроста валка деревьев производится вершиной на волок под углом к нему не более 40 градусов. При отсутствии подроста валка деревьев производится под тем же углом, но комлем к волоку. Во всех случаях валка деревьев производится в просветы между кронами растущих деревьев таким образом, чтобы разворот хлыстов или деревьев был минимальным. Запрещается валка деревьев на стену леса.

5.31. При организации рубок ухода с использованием ручного и бензомоторного инструмента не разрешается:

- начинать работу в густых зарослях;

- сгибать деревья и кустарники до сильного напряжения;

- срезать деревья диаметром более 8 см без подпила;

- срезать кустарники и тонкие деревья, не видя рабочего органа инструмента;

- осуществлять переход от дерева к дереву с движущимся рабочим органом;

- очищать рабочий орган при работающем двигателе.

5.32. Высота пней деревьев диаметром до 30 см не должна превышать 10 см, а более 30 см – одной трети диаметра пня. На волоках высота пней не должна превышать 10 см.

5.33. Обрезка сучьев и раскряжевка в зависимости от способа трелевки (хлысты, полухлысты, сортименты) производится на пасеках, волоках или погрузочном пункте (верхнем складе) бензомоторными пилами. При объеме хлыста 0, 3-0, 5 м3 целесообразно применение на верхних складах процессоров и сучкорезных машин. Технология очистки деревьев от сучьев в зависимости от условий и оборудования должна обеспечить: равномерное размещение порубочных остатков на лесосеке при оставлении их для перегнивания; накопление и использование их для укрепления волоков, лесовозных усов, рабочих мест лесозаготовительных машин; сбор и измельчение их на технологическую щепу.

5.34. Для уменьшения повреждаемости оставляемого древостоя в возрасте проходной рубки обрезку сучьев и раскряжевку хлыстов необходимо производить на пасеках с последующей трелевкой сортиментов или полухлыстов.

 

Технология рубок ухода с применением многооперационных машин

 

5.43. Использование на работах по уходу за лесом многооперационных лесозаготовительных машин типа харвестер (валочно-сучкорезно-раскряжевочная машина) и форвардер (сортиментовоз) обеспечивает высокую производительность труда при соблюдении лесоводственных и природоохранных требований. Особенностями проведения рубок ухода за лесом с использованием этих машин являются:

- повышенная интенсивность выборки запаса;

- увеличенный срок повторяемости ухода;

- механизация всех операций лесозаготовительного процесса;

- сортиментная заготовка древесины;

- вырубка деревьев без предварительного отбора и клеймения;

- ограничение использования харвестеров и форвардеров в категориях лесов, где допускаются только рубки ухода и санитарные рубки.

5.44. Многооперационные лесозаготовительные машины используются преимущественно при выполнении прореживаний и проходных рубок. Полнота насаждений после проведения рубок не должна быть ниже 0, 6. Интенсивность рубки в зависимости от первоначальной густоты древостоев составляет 10-40 процентов. В насаждениях, в которых начальные рубки ухода проводятся с опозданием, особенно при их высокой полноте, а также в древостоях подверженных ветровалу, интенсивность рубки по сравнению с указанной выше снижается на 10 процентов. Повторяемость рубок ухода в хвойных и твердолиственных насаждениях – 15-25 лет, мягколиственных – 10-15 лет.

5.45. Основным условием разработки лесосек с использованием многооперационных машин является «организованное насаждение» с обязательной разбивкой лесосек на пасеки и подготовкой технологических коридоров и погрузочных пунктов (рис. 40, 41).

5.46. Если в участке леса ранее не были прорублены прямолинейные технологические коридоры, то они устраиваются извилистыми в обход биогрупп главных пород с максимальным использованием для этих целей прогалин и редин.

 

Схема разработки лесосек многооперационными машинами

при ширине полупасеки, равной вылету стрелы манипулятора

с сортиментной вывозкой

Рис. 40

 

Подготовительные работы выполняются перед началом основных лесосечных работ. Опасные деревья спиливаются и приземляются машиной в процессе разработки лесосеки. Не допускается спиливать деревья, диаметр которых больше предусмотренного техническим паспортом машины. Такие деревья спиливаются бензиномоторной пилой.

Разработка лесосеки начинается с ближнего конца. Ширина полупасеки равна длине вылета стрелы манипулятора и обычно не должна превышать 10 метров. Технологический коридор по середине пасеки шириной 5 м прокладывается машиной в процессе работы. По обе стороны от технологического коридора условно планируется 3-х метровая сортиментная полоса без сплошной вырубки, в которой складируются сортименты, исключая при этом повреждения растущих на ней деревьев. Объем пачки должен быть не менее 0, 5 м3. Расстояние между пачками сортиментов одного назначения устанавливается не менее 5 м. Отбор деревьев на пасеке, срезание их, обрезка сучьев, раскряжевка хлыстов производится процессором, управляемым специально обученным оператором.

Вывозка заготовленных сортиментов до ближайшей трассы или потребителю производится самопогружающейся машиной (форвардером).

 

Схема разработки лесосек при проведении рубок ухода

многооперационными машинами при ширине полупасеки,

превышающей вылет стрелы манипулятора

с сортиментной вывозкой

 

Рис. 41

 

Ширина технологических коридоров – 5 м. По обе стороны располагаются 3-х метровые сортиментные полосы, на которых окучивают заготовленные сортименты.

Деревья в коридорах и на пасеках в пределах досягаемости манипулятора вырубаются одновременно специально обученным оператором. Срезание сучьев со спиленных деревьев производится на волоке. Сортименты укладываются в сортиментных полосах по обе стороны технологического коридора. Сортименты должны размещаться в сортиментной полосе так, чтобы были досягаемые для захвата гидроманипулятором при сборе и погрузке их и исключать возможность повреждения при этом растущих в ней деревьев. Объем пачки должен быть не менее 0, 5 м3 с расстоянием между сортиментами одного назначения не менее 5 м.

Деревья за пределами возможного захвата гидроманипулятора спиливаются бензиномоторной пилой. Валка деревьев производится в направлении технологического коридора в промежутки между кронами растущих деревьев с таким расчетом, чтобы ликвидная древесина легла вблизи сортиментной полосы. Поваленные деревья раскряжевываются на сортименты, сучья укладываются на коридор, а сортименты окучивают в сортиментной полосе.

Валка деревьев бензиномоторной пилой производится с соблюдением. 50-ти метровой опасной зоны от места работы многооперационной' машины.

Заготовленные и собранные в пачки сортименты вывозятся форвардерами на верхние склады (погрузочные площадки) или до ближайшей трассы, или потребителю.

 

5.47. Ширина пасек устанавливается с учетом доступности манипулятора с харвестерной головкой к срезаемым деревьям и обычно не должна превышать 20 м. Ширина технологических коридоров – 5 м, по обе стороны располагаются 3-х метровые (без сплошной вырубки) сортиментные полосы, на которых окучивают заготовленные сортименты.

5.48. Отбор деревьев в рубку и срезание их производится одновременно специально обученным оператором харвестера. Деревья на коридорах и пасеках вырубаются одновременно. Оператор во время работы перемещает харвестер по коридору от одной стоянки к другой, при помощи стрелы и грейфера захватывает растущие деревья, спиливает, выносит их к технологическому коридору, выполняет обрезку сучьев и раскряжевку хлыстов. Пачки сортиментов укладываются в сортиментных полосах по обе стороны технологического коридора. Объем пачки должен быть не менее 0, 5 м3. Размещаться они должны в зоне досягаемости захвата гидроманипулятора так, чтобы не было помех при сборе и погрузке их и исключать возможность повреждения при этом растущих деревьев, т.е. нельзя укладывать пачки сортиментов за, между растущими деревьями, между пнями, кучами сучьев и т.п. Расстояние между пачками сортиментов одного назначения устанавливается не менее 5 м.

5.49. Если технологические коридоры были прорублены до применения многооперационных машин, а ширина пасек составляет 25-30 м, то вырубка деревьев на пасеках ведется комбинировано, т.е. деревья вдоль коридоров срезаются и разделываются ха


Поделиться с друзьями:

mylektsii.su - Мои Лекции - 2015-2026 год. (3.777 сек.)Все материалы представленные на сайте исключительно с целью ознакомления читателями и не преследуют коммерческих целей или нарушение авторских прав Пожаловаться на материал