Студопедия

Главная страница Случайная страница

КАТЕГОРИИ:

АвтомобилиАстрономияБиологияГеографияДом и садДругие языкиДругоеИнформатикаИсторияКультураЛитератураЛогикаМатематикаМедицинаМеталлургияМеханикаОбразованиеОхрана трудаПедагогикаПолитикаПравоПсихологияРелигияРиторикаСоциологияСпортСтроительствоТехнологияТуризмФизикаФилософияФинансыХимияЧерчениеЭкологияЭкономикаЭлектроника






Посадка крышки в корпус






Посадка крышки в корпус зависит от:

1. конструкции крышки – глухая, с отверстием для выхода вала;

2. поля допуска отверстия в корпусе, которое выполнено под подшипник;

3. необходимости обеспечить возможность легкой сборки – разборки;

4. требований к точности центрирования манжетного уплотнителя (крышка с отверстием).

Исходные данные соответствуют примеру 1.

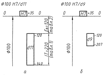
Решение. Требуемым условием удовлетворяют поля допусков предпочтительного применения (табл.5) d11 – для глухих крышек и d9 – для крышек с отверстием. Таким образом, получаем комбинированные посадки 100 H7/d11 и 100 H7/d9. В случае более высоких классов точности подшипника может возникнуть необходимость применения более высоких квалитетов точности и уменьшения предельных зазоров. Схемы расположения полей допусков представлены на рис. 4 а и б, где основные отклонения определены потабл.2, а допуски по табл.1.


Рис. 4


Поделиться с друзьями:

mylektsii.su - Мои Лекции - 2015-2026 год. (1.922 сек.)Все материалы представленные на сайте исключительно с целью ознакомления читателями и не преследуют коммерческих целей или нарушение авторских прав Пожаловаться на материал