Студопедия

Главная страница Случайная страница

КАТЕГОРИИ:

АвтомобилиАстрономияБиологияГеографияДом и садДругие языкиДругоеИнформатикаИсторияКультураЛитератураЛогикаМатематикаМедицинаМеталлургияМеханикаОбразованиеОхрана трудаПедагогикаПолитикаПравоПсихологияРелигияРиторикаСоциологияСпортСтроительствоТехнологияТуризмФизикаФилософияФинансыХимияЧерчениеЭкологияЭкономикаЭлектроника






Трансформаторы с ярмовым рассеянием






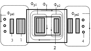
В простейшем случае такие трансформаторы (рис. 2.16.) имеют по одной первичной 1 и вторичной 2 обмотки, расположенных на различных стержнях. Потоки рассеянная замыкаются не только по воздуху в окне (Фр1 и Фр2), но также между верхнем и нижнем ярмом (Фря1 и Фря2).

 

Рис. 2.16. Схема трансформатора электромагнитная с ярмовым рассеянием

В связи с тем, что первичная и вторичная обмотки разнесены относительно друг друга, это обеспечивает возникновение повышенных магнитных потоков рассеяния, а, следовательно, и повышенное внутреннее индуктивное сопротивление.

Поэтому трансформатор имеет падающую внешнюю характеристику. Отличается этот трансформатор способом настройки тока. Она осуществляется изменением коэффициента трансформации и применением дополнительных реактивных обмоток, устанавливаемых на пути потоков рассеяния, в которых индуктируется ЭДС только этими потоками. Ступенчатая настройка тока осуществляется изменением числа витков первичной или вторичной обмоток, которое обеспечивает сравнительно узкий диапазон изменения тока с одновременным изменением напряжения холостого хода. Для расширения пределов изменения тока используют дополнительную обмотку 3, охватывающую весь трансформатор, а для плавного изменения тока еще и сварочный кабель 4, наматываемый в одну или другую сторону поверх кожуха трансформатора.

В режиме холостого хода потоки рассеяния невелики и ЭДС наводится только в первичной 1 и вторичной 2 обмотках (U02). Дополнительная обмотка 3 и витки кабеля 4 не влияют на напряжение холостого хода, так как по ним не протекает ток. В режиме нагрузки ярмовые потоки рассеяния наводят в дополнительной обмотке ЭДС Едоп, в витках кабеля ЭДС Екаб. Если дополнительную обмотку соединить последовательно со вторичной, то их ЭДС будут либо складываться (согласное включение обмоток), либо вычитаться (при встречном включении обмоток). Подобным же образом с ЭДС вторичной обмотки может складываться или вычитаться ЭДС сварочного кабеля.

U 2 = E 2E р2 ± E доп ± E каб

Уравнение внешней характеристики трансформатора в этом случае имеет вид:

U 2= U 0I 2т ±Хдоп ±Хкаб) (2.29)

Падающая внешняя характеристика у трансформатора с ярмовым рассеянием получается за счет увеличенного магнитного рассеяния, вызванного размещением первичной и вторичной обмоток на разных стержнях. Наклон характеристики зависит также от согласного или встречного включения дополнительной обмотки и направления намотки сварочного кабеля.

Использование дополнительной обмотки обеспечивает три ступени изменения тока: при встречном включении со вторичной обмоткой - диапазон малых токов; при отключении дополнительной обмотки - средних токов; при согласованном включении - больших токов. Плавное регулирование кабелем определяется числом витков - обычно не более 3...5. При секционировании дополнительной обмотки число ступеней увеличивается. Дополнительная обмотка может также включаться последовательно с первичной, в этом случае при их согласном соединении вторичный ток уменьшается.

Серийно выпускаются трансформаторы типа ТСМ-250 и ТСМ-500 конструкции Института электросварки им. Е.О. Патона. Трансформатор ТСМ-250 предназначен для использования на монтаже. Он имеет две дополнительные обмотки, последовательно соединенные со вторичной, обеспечивающие 4 ступени изменения тока. Плавное изменение тока осуществляется навивкой кабеля на кожух трансформатора четырех витков.

Дополнительная обмотка может устанавливаться на пути потоков рассеяния в окно магнитопровода или наматываться на магнитный шунт, может включаться последовательно с первичной обмоткой, в этом случае при их согласном соединении ток уменьшается. По такой схеме изготовляется бытовой трансформатор ТСБ-101 на три ступени регулирования. Большой серией выпускаются трансформаторы “Разряд” и ТДК-315, состоящие из трансформатора с ярмовым рассеянием и импульсного стабилизатора дуги переменного тока на 100 Гц. Трансформатор имеет дополнительную обмотку из трёх секций. Переключатель диапазонов, обеспечивающий сначала согласное, а затем встречное включение дополнительной обмотки с первичной. Это обеспечивает получения семи ступеней настройки тока. Плавное изменение тока выполняется намоткой до 5 витков сварочного кабеля.


Поделиться с друзьями:

mylektsii.su - Мои Лекции - 2015-2026 год. (0.425 сек.)Все материалы представленные на сайте исключительно с целью ознакомления читателями и не преследуют коммерческих целей или нарушение авторских прав Пожаловаться на материал