Студопедия

Главная страница Случайная страница

КАТЕГОРИИ:

АвтомобилиАстрономияБиологияГеографияДом и садДругие языкиДругоеИнформатикаИсторияКультураЛитератураЛогикаМатематикаМедицинаМеталлургияМеханикаОбразованиеОхрана трудаПедагогикаПолитикаПравоПсихологияРелигияРиторикаСоциологияСпортСтроительствоТехнологияТуризмФизикаФилософияФинансыХимияЧерчениеЭкологияЭкономикаЭлектроника






Электрические аппараты

 

3.1. Автоматический выключатель

Автоматический выключатель (автомат) служит для нечастых включений и отключений электрических цепей и защиты электроустановок от перегрузки и коротких замыканий, а также недопустимого снижения напряжения. По сравнению с плавкими предохранителями автоматический выключатель обеспечивает более эффективную защиту, особенно в трёхфазных цепях, так как в случае, например, короткого замыкания производится отключение всех фаз сети. Предохранители в этом случае, как правило, отключают одну или две фазы, что создаёт неполнофазный режим, который также является аварийным.

Автоматический выключатель (рис. 1, 2) состоит из следующих элементов: корпуса, дугогасительных камер, механизма управления, коммутирующего устройства, расцепителей.

 

Рис. 1. Внешний вид

Рис. 2. Автоматический выключатель, серия ВА 04-36 (устройство выключателя): 1- основание, 2- камера дугогасительная, 3, 4-пластины искрогасительные, 5-крышка, 6-пластины. 7-звено, 8-звено, 9-рукоятка, 10-рычаг опорный, 11-защелка, 12- рейка отключающая, 13- пластина термобиметаллическая, 14-расцепитель элетромагнитный, проводник гибкий, 16-токопровод, 17- контактодержатель, 18-контакты подвижные

Для включения автоматического выключателя, находящегося в расцепленном положении (положение «Отключено автоматически»), механизм должен быть взведен путем перемещения рукоятки 9 выключателя в направлении знака «О» до упора. При этом происходит зацепление рычага 10 с защелкой 11, а защелки – с отключающей рейкой 12. Последующее включение осуществляется перемещением рукоятки 9 в направление знака «1» до упора. Провал контактов и контактное сжатие при включении обеспечивается за счет смещения подвижных контактов 18 относительно контактодержателя 17.

Автоматическое отключение автомата происходит при повороте отключающей рейки 12 любым расцепителем независимо от положения рукоятки 9 выключателя. При этом рукоятка занимает промежуточное положение между знаками «О» и «1», указывая, что выключатель отключен автоматически. Дугогасительные камеры 2 установлены в каждом полюсе выключателя и представляют собой деионные решетки, состоящие из ряда стальных пластин 6. Искрогасители, содержащие искрогасительные пластины 3 и 4, закреплены в крышке 5 выключателя перед отверстиями для выхода газов в каждом полюсе автоматического выключателя. Если в защищаемой цепи, хотя бы одного полюса ток достигает величины равной или превышающей значение уставки по току, срабатывает соответствующий расцепитель и выключатель отключает защищаемую цепь независимо от того, удерживается ли рукоятка во включенном положении или нет. Электромагнитный максимальный расцепитель тока 14 устанавливается в каждом полюсе выключателя. Расцепитель выполняет функцию мгновенной защиты от короткого замыкания.

Дугогасительные устройства необходимы в электрических аппаратах, коммутирующих большие токи, так как возникающая при разрыве тока электрическая дуга вызывает подгорание контактов. В автоматических выключателях применяются дугогасительные камеры с деионным гашением дуги. При деионном гашении дуги (рис. 3.) над контактами 1, помещенными внутри дугогасительной камеры 2, располагается решетка из стальных пластин 3. При размыкании контактов образовавшаяся между ними дуга потоком воздуха выдувается вверх, попадает в зону металлической решетки и быстро гасится.

Рис. 3. Устройство дугогасительной камеры автоматического выключателя: 1- контакты, 2- корпус дугогасительной камеры, 3 - пластины.

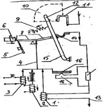
Схема и основные элементы автоматического выключателя представлены на рисунке 4.

Рис. 4. Устройство автоматического выключателя: 1 - максимальный расцепитель, минимальный расцепитель, независимый расцепитель, 4 - механическая связь с расцепителем, 5- рукоятка ручного включения, 6- электромагнитный привод, 7, 8- рычаги механизма свободного расцепления, 9- отключающая пружина, 10- дугогасительная камера, 11- неподвижный контакт, 12- подвижный контакт, 13- защищаемая цепь, 14- гибкая связь, 15- контактный рычагу, 16- тепловой расцепитель, 17- добавочное сопротивление, 18- нагреватель.

Механизм управления предназначен для обеспечения ручного включения и выключения аппарата при помощи кнопок или рукоятки.

Коммутирующее устройство автоматического выключателя состоит из подвижных и неподвижных контактов (силовых и вспомогательных). Пара контактов (подвижный и неподвижный) образуют полюс автоматического выключателя, количество полюсов бывает от 1 до 4. Каждый полюс комплектуется отдельной дугогасительной камерой.

Механизм, который отключает автоматический выключатель при аварийных режимах, называется расцепителем. Различают следующие виды расцепителей:

- электромагнитный максимального тока (для защиты электроустановок от токов короткого замыкания),

- тепловой (для защиты от перегрузок),

- комбинированный, имеющий электромагнитный и тепловой элементы,

- минимального напряжения (для защиты от недопустимого снижения напряжения),

- независимый (для дистанционного управления автоматическим выключателем),

- специальный (для реализации сложных алгоритмов защиты).

Электромагнитный расцепительавтоматического выключателя представляет собой небольшую катушку с обмоткой из медного изолированного провода и сердечником. Обмотка включается в цепь последовательно с контактами, то есть по ней проходит ток нагрузки.

В случае возникновения короткого замыкания ток в цепи резко возрастает, в результате создаваемое катушкой магнитное поле вызывает перемещение сердечника (втягивание в катушку или выталкивание из неё). Сердечник при перемещении действует на отключающий механизм, который вызывает размыкание силовых контактов автоматического выключателя. Существуют автоматические выключатели с полупроводниковыми расцепителями, реагирующими на максимальный ток.

Тепловой расцепительавтоматического выключателя представляет собой биметаллическую пластину, изготовленную из двух металлов с различными коэффициентами линейного расширения, жестко соединенных между собой. Пластина не является сплавом металлов, их соединение производится обычно прессованием. Биметаллическая пластина включается в электрическую цепь последовательно с нагрузкой и нагревается электрическим током. В результате нагрева происходит изгибание пластины в сторону металла с меньшим коэффициентом линейного расширения. В случае возникновения перегрузки, то есть при небольшом (в несколько раз) увеличении тока в цепи по сравнению с номинальным, биметаллическая пластина, изгибаясь, вызывает отключение автоматического выключателя. Время срабатывания теплового расцепителя автоматического выключателя зависит не только от величины тока, но и от температуры окружающей среды, поэтому в ряде конструкций предусмотрена температурная компенсация, которая обеспечивает корректировку времени срабатывания в соответствии с температурой воздуха.

Независимый расцепитель минимального напряжения по конструкции аналогичны электромагнитному и отличаются от него условиями срабатывания. В частности, независимый расцепитель обеспечивает отключение автомата при подаче пониженного напряжения на расцепитель независимо от наличия аварийных режимов.

Указанные расцепители являются дополнительными и могут отсутствовать в конструкции автоматического выключателя. Имеются также выключатели без каких-либо расцепителей, в этом случае они называются выключателями- разъединителями.

В настоящее время распространены автоматические выключатели типов АП50Б, АЕ10, АЕ20, АЕ20М, ВА04-36, ВА-47, ВА-51, ВА-201, ВА88 и др. Автоматические выключатели АП50Б выпускают на номинальные токи до 63А, АЕ20, АЕ20М – до 160А, ВА-47 и ВА-201 – до 100А, ВА04-36 – до 400 А, ВА88 – до 1600А.

 

 

<== предыдущая лекция | следующая лекция ==>
Список экзаменационных вопросов на 3-ю группу по электробезопасности. | Сооружения
Поделиться с друзьями:

mylektsii.su - Мои Лекции - 2015-2026 год. (1.906 сек.)Все материалы представленные на сайте исключительно с целью ознакомления читателями и не преследуют коммерческих целей или нарушение авторских прав Пожаловаться на материал