Студопедия

Главная страница Случайная страница

КАТЕГОРИИ:

АвтомобилиАстрономияБиологияГеографияДом и садДругие языкиДругоеИнформатикаИсторияКультураЛитератураЛогикаМатематикаМедицинаМеталлургияМеханикаОбразованиеОхрана трудаПедагогикаПолитикаПравоПсихологияРелигияРиторикаСоциологияСпортСтроительствоТехнологияТуризмФизикаФилософияФинансыХимияЧерчениеЭкологияЭкономикаЭлектроника






Обработка результатов испытания.






Оборудование и аппаратура для испытания ДВС

Цель работы:

1. Изучить оборудование для испытания топливной аппаратуры высокого давления и ДВС.

2. Освоить методику обработки экспериментальных данных.

3. Изучить меры безопасности при испытании ДВС.

Оборудование и аппаратура:

1. Стенды для испытания ТНВД, форсунок, ДВС.

2. ТНВД, комплект форсунок.

3. Аппаратура для замера расхода топлива, частоты вращения коленчатого вала, вращающего момента.

Последовательность выполнения работы

Общие положения. Стенды для испытания топливной аппаратуры обеспечивают проверку технического состояния ТНВД и форсунок, выполнять в соответствии с техническими условиями завода-изготовителя необходимые регулировки.

Стенд КИ-2205. Стенд предназначен для испытания и регулирования ТНВД с числом секций до8. Стенд состоит из корпуса, привода с механическим вариатором, электронного блока с фотодатчиком, системы топливоподачи, электрооборудования, приборов контроля и измерения

Схема стенда представлена на рис.1.

 

Рис.1 Схема стенда КИ-2205 для испытания ТНВД

1. Клиноременный вариатор 4. ТНВД 7. Топливный фильтр

2. Электро-мотор 5. Редуктор 8. Манометр

3. Топливоподкачивающий насос 6. Форсунки. 9. Топливный бак

Привод испытуемого ТНВД осуществляется от электродвигателя (3 КВт, 1430 мин) через механическую передачу с вариатором. Вариатор позволяет менять частоту вращения кулачкового вала ТНВД в соответствии с условиями испытания. Топливный бак (емкость 38л), расположенный в нижней части стенда снабжен топливомером и термометром для измерения температуры топлива. Топливо из бака к ТНВД поступает с помощью лопастного насоса марки Г12-21А с приводом от электродвигателя (0, 6КВт, 1350 мин).Насос создает повышенное давление топлива (5 МПа) для испытания узлов и приборов топливной аппаратуры, определения геометрического угла опережения впрыскивания топлива. На главном валу привода ТНВД закреплен подвижный прозрачный диск, вращающий в прорези корпуса фотодатчика 19 (рис.2).

 

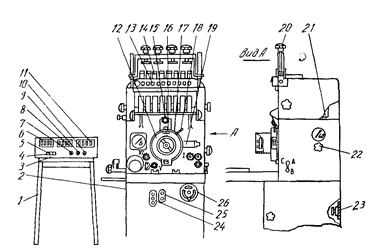
Рис. 2. Контрольно-измерительный стенд КИ-22205:

1 — подставка электронного измерительного блока; 2 — тумблер включения стенда в сеть; 3—блок электроники; 4—клавиша «Угол»; 5 — клавиша «По­дача»; б—индикаторные лампы «Частота вращения»; 7 — кнопка «Пуск»;

8—индикаторные лампы «Число циклов»; 9—кнопка «Стоп»; 10—тумблер включения блока электроники в сеть; 11—переключатель циклов; 12—кожух;

13—тумблеры управления датчиками начала впрыскивания; 15 — маховичок зажима кожуха; 16—стрелка-указатель; 17—контрольные риски; 18—ручка поворота кожуха; 19—фотодатчик; 20—прижим датчиков начала вспрыски­вания; 21 — электрошкаф; 22 — рукоятка вентиля; 23 — заземляющее устрой­ство; 24 — трехэлементная кнопочная станция управления электродвигателем вала привода стенда; 25—двухэлементная кнопочная станция управления электродвигателем привода насоса высокого давления; 26 — маховичок изме­нения частоты вращения вала привода стенда.

 

На диске имеются две дорожки: на одной нанесены по окружности 720 рисок, на другой- риска ВМТ, которая соответствует плоскости симметрии первого кулачка вала ТНВД.

При испытании ТНВД тумблером 10 включить электронный блок в сеть.

Контроль за частотой вращения кулачкового вала ТНВД производится по индикаторным лампам 6. Для определения угла опережения впрыскивания топлива нажать клавишу 4 " Угол" и включить один из тумблеров 13 соответствующей секции ТНВД. Индикаторные лампы 8 покажут значения угла опережения впрыскивания топлива. При определении цикловой подачи топлива секциями насоса необходимо переключателем 11 набрать потребное число циклов (частота вращения кулачкового вала), нажать клавишу 5 " Подача" и включить кнопку 7 " Пуск ". При этом электромагнит отодвинет заслонку, преграждающую доступ топлива в мензурки. Топливо польется в мензурки. После того, как кулачковый вал ТНВД совершит заданное количество оборотов (число циклов), электромагнит обесточится и заслонка перекроет доступ топлива в мензурки. Контроль отсчета количества циклов производится по индикаторным лампам 8. Для подготовки следующего замера нажать на кнопку " Стоп".

 

Стенд КИ-15706. Стенд предназначен для регулирования и испытания форсунок автотракторных двигателей. Схема стенда представлена на рис.3

 

Рис.3. Схема стенда КИ-3333 для испытания форсунок.

1. Топливный бак. 2. Топливный фильтр.3. Насос (с ручным приводом).4. Кран.5. Манометр.6. Ресивер.7. Форсунка.8. Камера впрыска.

 

 

Стенд для испытания ДВС. Испытательный стенд должен иметь оборудование для измерения следующих показателей: вращающего момента, частоты вращения коленчатого вала, расхода топлива. Для измерения вращающего момента двигателя применяют механические, гидравлические и электрические тормоза постоянного и переменного тока. Электрические тормоза используют не только для торможения, но и для пуска двигателя. Они нашли наибольшее применение для учебных и производственных целей. Принципиальная схема электротормозного стенда постоянного тока представлена на рис.4

Рис.4.Схема электротормозного стенда

 

 

5 6 8

                           
             
 
 
 
 

 


7

 
 


3 1

2

 
 


4

                       
     
 
     
 
   
 

 

 


Приборы и оборудование, представленные на рис.4.

1--Двигатель внутреннего сгорания; 2—Электрическая машина (балансирная); 3—Весовой механизм; 4—Пульт управления; 5—Реостат; 6—Бак топливный;

7—Кран топливный; 8—Весы циферблатные.

 

 

В качестве нагрузки на этом стенде используется электрическая машина (балансирная машина) способная работать как в режиме электродвигателя (при пуске двигателя), так и в режиме генератора (при загрузке ДВС). Статор балансирной машины 2 установлен на подшипники качения и может свободно поворачиваться вокруг своей продольной оси. При работе машины в качестве тормоза ДВС (т.е. в режиме генератора) на статоре этой машины возникает реактивный момент, противоположно направленный и равный моменту, передаваемому от испытуемого ДВС. Уравновешивается реактивный момент весовым механизмом 3, оборудованным шкалой измерения. Величина момента на статоре балансирной машины, уравновешивающего вращающий момент ДВС, достигается регулированием величины тока в обмотке возбуждения с помощью реостата 5. Для замера расхода топлива стенд оборудован весами 8 и емкостью с навеской топлива

Обработка результатов испытания.

Обработка результатов испытаний включает в себя выполнение расчетной части, построение графика и анализа.

Расчетная часть. Закончив испытания двигателя, результаты наблюдений записывают в протокол испытаний и расчетным способом определяют основные показатели двигателя: вращающий момент, мощность, часовой и удельный расход топлива.

Расчетные формулы

 

Мощность двигателя кВт;

где F—показание весового устройства стенда в кг;

п ---частота вращения коленчатого вала, соответствующая показанию F в мин .

Вращающий момент кНм;

Часовой расход топлива ;

где --объем расходываемого топлива в см ;

--плотность топлива в

t— время расходываемого топлива в с.

Удельный расход топлива

 

г

Построение графика. По результатам выполненных расчетов строится график зависимости частоты вращения п, вращающего момента Те, часового расхода топлива Вт, удельного расхода топлива от мощности двигателя.

Величины п, Те, Вт, bе на графике изображаются в виде маленьких окружностей диаметром 1…2 мм, треугольников, ромбов, крестиков (o, D, ¨, §)

Полученные точки соединяют кривой так, чтобы на ней находилось наибольшее количество опытных точек. Не следует соединять их прямыми линиями, так как в этом случае получается ломанная линия, искажающая характер протекания действительного процесса работы двигателя.

Анализ результатов испытаний. Анализ регуляторной характеристики дизельного двигателя позволяет определить его технико-экономические показатели и рекомендуемые режимы эксплуатации.

Провести анализ---это значит:

1.Определить максимальные значения Ре, Те и сопоставить их с данными завода-изготовителя. Если имеются расхождения по этим величинам, то дать этому объяснение.

2.Определить характерные скоростные режимы двигателя (пмах.х.х.; пр.мах.; п )

3. Определить перегрузочный режим двигателя (работа корректора цикловой подачи топлива).


Поделиться с друзьями:

mylektsii.su - Мои Лекции - 2015-2026 год. (2.724 сек.)Все материалы представленные на сайте исключительно с целью ознакомления читателями и не преследуют коммерческих целей или нарушение авторских прав Пожаловаться на материал