Студопедия

Главная страница Случайная страница

КАТЕГОРИИ:

АвтомобилиАстрономияБиологияГеографияДом и садДругие языкиДругоеИнформатикаИсторияКультураЛитератураЛогикаМатематикаМедицинаМеталлургияМеханикаОбразованиеОхрана трудаПедагогикаПолитикаПравоПсихологияРелигияРиторикаСоциологияСпортСтроительствоТехнологияТуризмФизикаФилософияФинансыХимияЧерчениеЭкологияЭкономикаЭлектроника






Системы зажигания автомобилей - общее устройство и типы

Система зажигания предназначена для воспламенения рабочей смеси в цилиндрах бензиновых двигателей. Основными требованиями к системе зажигания являются:

1. Обеспечение искры в нужном цилиндре (находящемся в такте сжатия) в соответствии с порядком работы цилиндров.

2. Своевременность момента зажигания. Искра должна происходить в определенный момент (момент зажигания) в соответствии с оптимальным при текущих условиях работы двигателя углом опережения зажигания, который зависит, прежде всего, от оборотов двигателя и нагрузки на двигатель.

3. Достаточная энергия искры. Количество энергии, необходимой для надежного воспламенения рабочей смеси, зависит от состава, плотности и температуры рабочей смеси.

4. Общим требованием для системы зажигания является ее надежность (обеспечение непрерывности искрообразования).

Неисправность системы зажигания вызывает неполадки как при запуске, так и при работе двигателя:

- трудность или невозможность запуска двигателя;

-неравномерность работы двигателя - " троение" или прекращение работы двигателя при пропусках искрообразования в одном или нескольких цилиндрах;

- детонация, связанная с неверным моментом зажигания и вызывающая быстрый износ двигателя;

- нарушение работы других электронных систем за счет высокого уровня электромагнитных помех и пр.

Существует множество типов систем зажигания, отличающихся и устройством и принципами действия. В основном системы зажигания различаются по:

- системе определения момента зажигания.

- системе распределения высоковольтной энергии по цилиндрам.

При анализе работы систем зажигания исследуются основные параметры искрообразования, смысл которых практически не отличается в различных системах зажигания:

- угол замкнутого состояния контактов (УЗСК, Dwell angle) - угол, на который успевает повернуться коленчатый вал от момента начала накопления энергии (конкретно в контактной системе - момента замыкания контактов прерывателя; в других системах - момента срабатывания силового транзисторного ключа) до момента возникновения искры (конкретно в контактной системе - момента размыкания контактов прерывателя). Хотя в прямом смысле данный термин можно применить только к контактной системе - он условно применяется для систем зажигания любых типов.

- угол опережения зажигания (УОЗ, Advance angle) - угол, на который успевает повернуться коленчатый вал от момента возникновения искры до момента достижения соответствующим цилиндром верхней мертвой точки (ВМТ). Одна из основных задач системы зажигания любого типа - обеспечение оптимального угла опережения зажигания (фактически - оптимального момента зажигания). Оптимально поджигать смесь до подхода поршня к верхней мертвой точке в такте сжатия - чтобы после достижения поршнем ВМТ газы успели набрать максимальное давление и совершить максимальную полезную работу на такте рабочего хода. Также любая система зажигания обеспечивает взаимосвязь угла опережения зажигания с оборотами двигателя и нагрузкой на двигатель.

При увеличении оборотов, скорость движения поршней увеличивается, при этом время сгорания смеси практически не изменяется - поэтому момент зажигания должен наступать чуть раньше - соответственно при увеличении оборотов, УОЗ надо увеличивать.

На одной и той же частоте вращения коленчатого вала двигателя, положение дроссельной заслонки (педали газа) может быть различным. Это означает, что в цилиндрах будет образовываться смесь различного состава. А скорость сгорания рабочей смеси как раз и зависит от ее состава. При полностью открытой дроссельной заслонке (педаль газа " в полу") смесь сгорает быстрее и поджигать ее нужно позже - соответственно при увеличении нагрузки на двигатель, УОЗ надо уменьшать. И наоборот, когда дроссельная заслонка прикрыта, скорость сгорания рабочей смеси падает, поэтому угол опережения зажигания должен быть увеличен.

- напряжение пробоя - напряжение во вторичной цепи в момент образования искры - фактически - максимальное напряжение во вторичной цепи.

- напряжение горения - условно-установившееся напряжение во вторичной цепи в течение периода горения искры.

- время горения - длительность периода горения искры.

Обобщенно структуру системы зажигания можно представить следующим образом:

Рассмотрим подробнее каждый из элементов системы:

1. Источник питания для системы зажигания - бортовая сеть автомобиля и ее источники питания - аккумуляторная батарея (АКБ) и генератор.

2. Выключатель зажигания.

3. Устройство управления накоплением энергии - определяет момент начала накопления энергии и момент " сброса" энергии на свечу (момент зажигания). В зависимости от устройства системы зажигания на конкретном авто может представлять из себя:

* Механический прерыватель, непосредственно управляющий накопителем энергии (первичной цепью катушки зажигания). Данный компонент нужен для того, чтобы замыкать и размыкать питание первичной обмотки катушки зажигания. Контакты прерывателя находятся под крышкой распределителя зажигания. Пластинчатая пружина подвижного контакта постоянно прижимает его к неподвижному контакту. Размыкаются они лишь на короткий срок, когда набегающий кулачок приводного валика прерывателя-распределителя надавит на молоточек подвижного контакта.

Параллельно контактам включен конденсатор (condenser). Он необходим для того, чтобы контакты не обгорали в момент размыкания. Во время отрыва подвижного контакта от неподвижного, между ними хочет проскочить мощная искра, но конденсатор поглощает в себя большую часть электрического разряда и искрение уменьшается до незначительного. Но это только половина полезной работы конденсатора - когда контакты прерывателя полностью размыкаются, конденсатор разряжается, создавая обратный ток в цепи низкого напряжения, и тем самым, ускоряет исчезновение магнитного поля. А чем быстрее исчезает это поле, тем больший ток возникает в цепи высокого напряжения. При выходе конденсатора из строя двигатель нормально работать не будет - напряжение во вторичной цепи получится недостаточно большим для стабильного искрообразования.

Прерыватель располагается в одном корпусе с распределителем высокого напряжения - поэтому распределитель зажигания в такой системе называют прерывателем-распределителем. Такая система зажигания называется классической системой зажигания. Общая схема классической системы:

Это наиболее старая из существующих систем - фактически она является ровесницей самого автомобиля. За границей такие системы прекратили серийно устанавливать в основном к концу 1980-х годов, у нас такие системы на " классику" устанавливаются до сих пор. Кратко принцип работы выглядит следующим образом - питание от бортовой сети подается на первичную обмотку катушки зажигания через механический прерыватель. Прерыватель связан с коленчатым валом, что обеспечивает замыкание и размыкание его контактов в нужный момент. При замыкании контактов начинается зарядка первичной обмотки катушки, при размыкании первичная обмотка разряжается, но во вторичной обмотке наводиться ток высокого напряжения, который, через распределитель, также связанный с коленчатым валом, поступает на нужную свечу.

Также в этой системе присутствуют механизмы корректировки опережения зажигания - центробежный и вакуумный регуляторы.

Центробежный регулятор опережения зажигания предназначен для изменения момента возникновения искры между электродами свечей зажигания, в зависимости от скорости вращения коленчатого вала двигателя.

 

Расположение деталей регулятора: 1 - кулачок прерывателя 2 - втулка кулачков 3 - подвижная пластина 4 - грузики 5 - шипы грузиков 6 - опорная пластина 7 - приводной валик 8 - стяжные пружины Верхний рис. - грузики вместе Нижний рис. - грузики разошлись
Устройство и схема работы центробежного регулятора угла опережения зажигания

Центробежный регулятор опережения зажигания находится в корпусе прерывателя-распределителя. Он состоит из двух плоских металлических грузиков, каждый из которых одним из своих концов закреплен на опорной пластине, жестко соединенной с приводным валиком. Шипы грузиков входят в прорези подвижной пластины, на которой закреплена втулка кулачков прерывателя. Пластина с втулкой имеют возможность проворачиваться на небольшой угол относительно приводного валика прерывателя-распределителя. По мере увеличения числа оборотов коленчатого вала двигателя, увеличивается и частота вращения валика прерывателя-распределителя. Грузики, подчиняясь центробежной силе, расходятся в стороны, и сдвигают втулку кулачков прерывателя " в отрыв" от приводного валика. То есть набегающий кулачок поворачивается на некоторый угол по ходу вращения навстречу молоточку контактов. Соответственно контакты размыкаются раньше, угол опережения зажигания увеличивается.

При уменьшении скорости вращения приводного валика, центробежная сила уменьшаются и, под воздействием пружин, грузики возвращаются на место - угол опережения зажигания уменьшается.

Вакуумный регулятор опережения зажигания предназначен для изменения момента возникновения искры между электродами свечей зажигания, в зависимости от нагрузки на двигатель.

 

А Б а) угол опережения зажигания - уменьшен б) угол опережения зажигания - увеличен
Вакуумный регулятор угла опережения зажигания

Вакуумный регулятор крепится к корпусу прерывателя - распределителя. Корпус регулятора разделен диафрагмой на два объема. Один из них связан с атмосферой, а другой, через соединительную трубку, с полостью под дроссельной заслонкой. С помощью тяги, диафрагма регулятора соединена с подвижной пластиной, на которой располагаются контакты прерывателя. При увеличении угла открытия дроссельной заслонки (увеличение нагрузки на двигатель) разряжение под ней уменьшается. Тогда, под воздействием пружины, диафрагма через тягу сдвигает на небольшой угол пластину вместе с контактами в сторону от набегающего кулачка прерывателя. Контакты будут размыкаться позже - угол опережения зажигания уменьшится. И наоборот - угол увеличивается, когда вы уменьшаете газ, то есть, прикрываете дроссельную заслонку. Разряжение под ней увеличивается, передается к диафрагме и она, преодолевая сопротивление пружины, тянет на себя пластину с контактами.

Это означает, что кулачок прерывателя раньше встретится с молоточком контактов и разомкнет их. Тем самым мы увеличили угол опережения зажигания для плохо горящей рабочей смеси.

* Механический прерыватель с транзисторным коммутатором. В этом случае механический прерыватель управляет только транзисторным коммутатором, который, в свою очередь, управляет накопителем энергии. Такая конструкция имеет существенное преимущество перед прерывателем без транзисторного коммутатора - оно заключается в том, что здесь контактный прерыватель обладает большей надежностью за счет того, что в этой системе через него протекает существенно меньший ток (соответственно практически исключается пригорание контактов прерывателя во время размыкания). Соответственно и конденсатор, подключенный параллельно контактам прерывателя стал не нужным. В остальном система полностью аналогична классической системе. Обе описанные системы зажигания с механическим прерывателем имеют общее название - контактные системы зажигания.

Управление первичной обмоткой катушки зажигания в системе с механическим прерывателем и транзисторным коммутатором:

* транзисторный коммутатор с бесконтактным датчиком - генератором импульсов (индуктивного типа, типа Холла или оптического типа) и преобразователем его сигналов. В этом случае вместо механического прерывателя используется датчик - генератор импульсов с преобразователем сигналов, который управляет только транзисторным коммутатором, который, в свою очередь, управляет накопителем энергии.

В системах зажигания с транзисторным коммутатором используются датчики трех типов:

- датчик Холла (такая модификация системы называется TI-h) содержит пластинку кремния, к двум боковым граням которой приложено небольшое напряжение. Если пластинку поместить в магнитное поле, то на двух других гранях пластинки также появится напряжение В этом состоит эффект Холла.

Изменение магнитного поля вызовет изменение напряжения Холла, которое можно использовать для управления коммутатором. Магнитное поле, создаваемое постоянным магнитом, может прерываться лопастями обтюратора, вращающегося на валу распределителя зажигания. Через кремниевую пластинку пропускается ток примерно 30 мА, тогда как напряжение Холла составляет около 2 мВ, увеличиваясь с ростом температуры. Пластинка обычно составляет одно целое с интегральной схемой, осуществляющей усиление и формирование сигнала.

При открытом зазоре между постоянным магнитом и датчиком Холла пластинка выдает напряжение. Если зазор перекрывается лопастью обтюратора, магнитное поле замыкается через лопасть и не попадает на пластинку Холла. Напряжение при этом падает.

Сигнал с граней пластинки попадает в усилитель и формирователь импульсов, после чего он может управлять коммутатором (включением и выключение катушки).

 

1 - обтюратор с лопастями, 2 - постоянный магнит, 3 - чувствительный элемент, 4 - провода датчика.
Конструкция генератора Холла

- индуктивный датчик (такая модификация системы называется TI-i) - включает в себя постоянный электромагнит с обмоткой и зубчатый диск. При вращении диска магнитное поле замыкается либо через зуб, либо через впадину. Магнитный поток, проходящий через обмотку, то увеличивается, то уменьшается, в результате чего в обмотке индуцируется ЭДС переменного знака. Сигналы датчика проходят через формирователь импульсов и далее поступают в коммутатор для управления первичной обмоткой катушки зажигания. При увеличении скорости возрастет частота импульсов, а также само выходное напряжение датчика - с долей вольта до сотни вольт.

- оптический датчик (такая модификация системы называется TI-o) - представляет из себя сегментированный диск, закрепленный на валу распределителя, который перекрывает инфракрасный луч, направленный на фототранзистор. В течение промежутка времени, пока фототранзистор освещен, через первичную обмотку катушки идет ток. Когда диск перекрывает луч, датчик посылает в коммутатор импульс, который прерывает ток в катушке и таким образом генерирует искру. Существует несколько разновидностей такого рода устройств: запуск искры может происходить как при открытии так и наоборот, при закрытии светового источника. Обычно такие генераторы задают постоянный угол включенного состояния катушки, но качество зажигания от этого не страдает, поскольку на это не оказывает влияния динамика подвижного контакта и он остается всегда постоянный, независимо от скорости.

Датчик-генератор импульсов, как правило, конструктивно располагается внутри распределителя зажигания (конструкция самого распределителя от контактной системы не отличается) - поэтому узел в целом называют " датчик-распределитель ".

Коммутатор управляет замыканием первичной цепи катушки зажигания на массу. При этом коммутатор не просто разрывает первичную цепь по сигналу с импульсного датчика - коммутатор должен обеспечить предварительную зарядку катушки необходимой энергией. То есть, до управляющего импульса с датчика, коммутатор должен предугадать, когда нужно замкнуть катушку на землю, для того чтобы её зарядить. Причём, он должен это сделать так, чтобы время заряда катушки было приблизительно постоянным (достигался максимум накопленной энергии, но не допускался перезаряд катушки). Для этого коммутатор вычисляет период импульсов приходящих с датчика. И в зависимости от этого периода, вычисляет время начала замыкания катушки на землю. Другими словами, чем выше обороты двигателя, тем раньше коммутатор будет начинать замыкать катушку на землю, но время замкнутого состояния будет одинаковым.

Одна из модификаций этой системы с механическим распределителем и катушкой зажигания, отдельно стоящей от распределителя и коммутатора получила устоявшееся название " бесконтактная система зажигания (БСЗ) ". Общая схема бесконтактной системы зажигания:

Естественно, существует множество модификаций данной системы - с применением других типов датчиков, с применением нескольких датчиков и пр.

* микропроцессорный блок управления зажиганием (или блок управления двигателем с подсистемой управления зажиганием) - с датчиками и коммутатором. Системы зажигания, в которых применяется такой вариант управления зажиганием имеют общее название микропроцессорные системы зажигания. В этом случае блок управления получает информацию о работе двигателя (обороты, положение коленчатого вала, положение распределительного вала, нагрузка на двигатель, температура охлаждающей жидкости и пр.) от датчиков и по результатам алгоритмической обработки этих данных управляет коммутатором, который, в свою очередь, управляет накопителем энергии. Регулировка опережения зажигания реализована программно в блоке управления.

Коммутаторы в микропроцессорных системах зажигания также называются " воспламенитель" (igniter).

Электронный блок управления (ЭБУ, ECU, PCM) - именно он выполняет в системе главную роль. Его работа состоит в сборе информации от датчиков (для управления зажиганием основными датчиками являются датчик положения коленчатого вала, датчик положения распределительного вала, датчик детонации, датчик угла открытия дроссельной заслонки), расчете оптимального момента зажигания и времени зарядки катушки и конкретно управление через коммутатор первичной цепью катушки. На современных автомобилях блок управления системой зажигания объединен с блоком управления впрыском топлива.

Кратко рассмотрим основные датчики микропроцессорной системы управления зажиганием:

- Датчики положения коленчатого и распределительного вала. Эти датчики необходимы ЭБУ для определения текущих оборотов двигателя, а также текущего положения распределительного вала (для идентификации цилиндра, который находится в такте сжатия). В разных модификациях электронных систем управления используется разный набор датчиков для решения этих задач. При этом также используются датчики разных типов - но наиболее часто индуктивные датчики и датчики Холла.

- Датчик детонации - устанавливается на блоке двигателя. Во время работы двигателя датчик генерирует сигнал с частотой и амплитудой, зависящей от частоты и амплитуды вибрации двигателя. При возникновении детонации электронный блок корректирует угол опережения зажигания.

- Датчик угла открытия дроссельной заслонки - определяет нагрузку на двигатель.

Коммутатор (" воспламенитель", igniter) - это транзисторные ключи, которые в зависимости от сигнала с ЭБУ включают или отключают питание первичной обмотки катушки (катушек) зажигания. В зависимости от устройства конкретной системы зажигания коммутатор может быть как один, так их может быть и несколько (если в системе зажигания используется несколько катушек). Существует несколько типов систем с разным расположением ключей:

- ключи объединены в один блок с ЭБУ.

- ключи стоят отдельно для каждой катушки и не объединены ни с ЭБУ, ни с катушками.

- ключи объединены в отдельный блок, но стоят отдельно и от ЭБУ и от катушек.

- ключи объединены с катушками соответствующих цилиндров (особенно характерно для системы COP - см. далее).

Микропроцессорная система управления зажиганием может применяться практически с любыми модификациями систем накопления и распределения энергии.

4. Накопитель энергии. Накопители энергии, используемые в системах зажигания делятся на две группы:

* С накоплением энергии в индуктивности - катушка или катушки зажигания (разг. бобина, англ. ignition coil, inductor). В этом случае энергия накапливается в первичной обмотке катушки зажигания и при размыкании первичной цепи во вторичной цепи индуцируется высокое напряжение, подаваемое на свечи. Это наиболее распространенная система.

Простейшая катушка зажигания имеет три клеммы:

- на первую подается питание (+ 12 В) от выключателя зажигания. Эта клемма соединена с первичной обмоткой катушки.

- на вторую коммутируется масса автомобиля через цепи управления накоплением энергии. В классической системе зажигания эта клемма соединена с массой через контактный прерыватель зажигания. В момент прокрутки распределителя зажигания, когда бегунок находится между контактами токосъемника распределителя, происходит замыкание прерывателя на землю, через первичную обмотку катушки начинает течь ток - идёт накопление энергии в катушке. В момент прохода бегунка распределителя над токосъёмником свечи, контакт прерывателя и, соответственно, цепь первичной обмотки катушки размыкается. При этом во вторичной обмотке и высоковольтном выходе катушки индуцируется ток высокого напряжения (до 25 кВ), а в первичной обмотке ток самоиндукции (не менее 250 В). В более современных системах первичная цепь катушки управляется транзисторными коммутаторами, которые, в свою очередь, управляются либо непосредственно бесконтактными датчиками положения распределительного вала, либо микропроцессорными блоками управления.

- третья клемма - высоковольтный выход катушки, соединенный со вторичной обмоткой. С этой клеммы высоковольтное напряжение в системе зажигания с одной катушкой поступает в распределитель зажигания; в системах зажигания с несколькими катушками - непосредственно на свечи зажигания (через высоковольтные провода или без них).

Катушка зажигания простейшей конструкции:

В одном из популярных, особенно на японских и американских автомобилях, типе системы зажигания катушка зажигания объединяется в одном корпусе с распределителем зажигания (иногда также и с коммутатором и датчиками положения коленчатого и распределительного вала). Системы зажигания такого типа получили названия " катушка в распределителе" (CID - Coil In Distributor), " катушка в крышке распределителя" (CIC - Coil in Cap) и " система зажигания высокой энергии" (HEI - High Energy Ignition). Центральный провод, соединяющий катушку зажигания с распределителем в этой системе недоступен. Как правило, такая система устанавливается уже на автомобили с микропроцессорной системой управления.

В зависимости от применяемой на конкретном авто системы распределения высоковольтной энергии на автомобиле могут устанавливаться не одна, а несколько катушек зажигания, а также катушки зажигания сложной конструкции (например, с двойной первичной обмоткой и пр.).

* С накоплением энергии в емкости - конденсаторе. В этом случае энергия накапливается в конденсаторе, а в необходимый момент проходит через катушку зажигания как через трансформатор. Во вторичной цепи также индуцируется высокое напряжение, подаваемое на свечи. Такое устройство накопителя энергии получило аббревиатуру CDI - Capacitor Discharge Ignition (" зажигание от разряда конденсатора") или конденсаторное зажигание или тиристорное зажигание (по названию радиоэлемента выполняющего функции коммутации). На автомобилях эта система используется, но не широко (очень широко эта система применяется на мотоциклах, гидроциклах, скутерах и пр.). Отличительным преимуществом данной системы является то, что энергия искры не зависит от оборотов двигателя и пр.

5. Система распределения зажигания. На автомобилях применяются два типа систем распределения - системы с механическим распределителем и системы статического распределения.

* Системы с механическим распределителем энергии. Распределитель зажигания, трамблер (англ. distributor, нем. ROV - Rotierende hochspannungsVerteilung) - распределяет высокое напряжение по свечам цилиндров двигателя. На контактных системах зажигания, как правило, объединен с прерывателем, на бесконтактных - с датчиком импульсов, на более современных либо отсутствует, либо объединен с катушкой зажигания, коммутатором и датчиками (системы HEI, CID, CIC).

После того, как в катушке зажигания образовался ток высокого напряжения, он попадает (по высоковольтному проводу) на центральный контакт крышки распределителя, а затем через подпружиненный контактный уголек на пластину ротора. Во время вращения ротора ток " соскакивает" с его пластины, через небольшой воздушный зазор, на боковые контакты крышки. Далее, через высоковольтные провода, импульс тока высокого напряжения попадает к свечам зажигания. Боковые контакты крышки распределителя пронумерованы и соединены (высоковольтными проводами) со свечами цилиндров в строго определенной последовательности. Таким образом, устанавливается " порядок работы цилиндров", который выражается рядом цифр. Как правило, для четырехцилиндровых двигателей, применяется последовательность: 1 - 3 - 4 - 2. Это означает, что после воспламенения рабочей смеси в первом цилиндре, следующий " взрыв" произойдет в третьем, потом в четвертом и, наконец, во втором цилиндре.

Такой порядок работы цилиндров установлен для равномерного распределения на грузки на коленчатый вал двигателя.

С помощью поворота корпуса прерывателя-распределителя выставляется и корректируется первоначальный угол опережения зажигания (угол до коррекции центробежным и вакуумным регуляторами)

 

1 - диафрагма вакуумного регулятора 2 - корпус вакуумного регулятора 3 - тяга 4 - опорная пластина 5 - ротор распределителя (" бегунок") 6 - боковой контакт крышки 7 - центральный контакт крышки 8 - контактный уголек 9 - резистор 10 - наружный контакт пластины ротора 11 - крышка распределителя 12 - пластина центробежного регулятора 13 - кулачек прерывателя 14 - грузик 15 - контактная группа 16 - подвижная пластина прерывателя 17 - винт крепления контактной группы 18 - паз для регулировки зазоров в контактах 19 - конденсатор 20 - корпус прерывателя-распределителя 21 - приводной валик 22 - фильц для смазки кулачка
Прерыватель-распределитель

* Системы со статическим распределением энергии. В процессе разработки новых систем зажигания одной из главных задач было отказаться от всех наиболее ненадежных компонентов системы - не только от контактного прерывателя, но и от механического распределителя зажигания. От контактного прерывателя удалось отказаться путем внедрения микропроцессорных систем управления (см. выше). От распределителя удалось отказаться разработкой так называемых систем зажигания со статическим распределением энергии или статических систем зажигания (статическим - потому что в этих системах отсутствует движущиеся части, имеющиеся в распределителе). Так как распределитель в этих системах отсутствует, эти системы также имеют общее обозначение DLI (DistributorLess Ignition), DIS (DistributorLess Ignition System) (" система без распределителя"), DI (Direct Ignition), DIS (" система прямого зажигания", " непосредственное зажигание").

Примечание. Различные авторы используют разную терминологию, мы, чтобы избежать лишней путаницы, предлагаем остановиться на таком варианте: DLI - относиться ко всем систем без высоковольтного распределителя; DI - относиться только к системам с индивидуальными катушками (DI = COP + EFS); DIS - относиться только к системе синхронного зажигания с двухвыводными катушками (DIS = DFS). Такой подход, может быть, и не совсем правильный, но употребляется наиболее часто.

С внедрением этих систем пришлось вносить существенные изменения и в конструкцию катушки зажигания (использовать двух- и четырехвыводные катушки) и/или использовать системы с несколькими катушками зажигания. Все системы зажигания без распределителя делятся на два блока - системы независимого зажигания с индивидуальными катушками зажигания на каждый цилиндр двигателя (EFS и COP системы) и системы синхронного зажигания, где одна катушка обслуживает, как правило, два цилиндра (DFS-системы).

Систему EFS (нем. Einzel Funken Spule) называют системой независимого зажигания, так как в ней (в отличие от систем синхронного зажигания) каждая катушка и управляется независимо и дает искру только для одного цилиндра. В этой системе каждая свеча имеет свою индивидуальную катушку зажигания. Кроме отсутствия в системе механических движущихся частей, дополнительным преимуществом является то, что при выходе и строя катушки перестанет работать только один " ее" цилиндр, а система в целом сохранит работоспособность.

Как уже говорилось при рассмотрении микропроцессорных систем управления зажиганием, коммутатор в таких системах может представлять собой один блок для всех катушек зажигания, отдельные блоки (несколько коммутаторов) для каждой катушки зажигания, а, кроме того, он может быть как интегрирован с электронным блоком управления, так и может устанавливаться отдельно. Катушки зажигания также могут стоять как отдельно, так и единым блоком (но в любом случае они стоят отдельно от ЭБУ), а кроме того, могут быть объединены с коммутаторами. Общая схема систем независимого зажигания:

Общая схема системы EFS с высоковольтными проводами:

Одной из наиболее популярных разновидностей EFS-систем является так называемая COP система (Coil on Plug - " катушка на свече") - в этой системе катушка зажигания ставится прямо на свечу. Таким образом, стало возможным полностью избавится еще от одного не вполне надежного компонента системы зажигания - от высоковольтных проводов. Общая схема системы COP:

Устройство катушки зажигания в системе COP (с интегрированным воспламенителем):

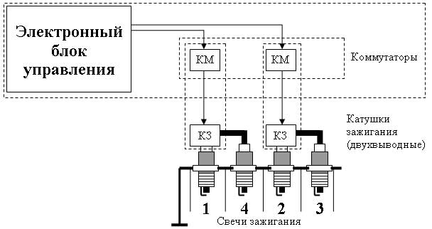
Система статического синхронного зажигания с двухвыводными катушками зажигания (одна катушка на две свечи) - DFS (нем. Doppel Funken Spule) система. Кроме систем, с индивидуальными катушками, используются и системы, где одна катушка обеспечивает высоковольтный разряд на двух свечах одновременно. При этом получается, что в одном из цилиндров, который находится в такте сжатия, катушка дает " рабочую искру", а в сопряженном с ним, который находится в такте выпуска) дает " холостую искру" (поэтому такая система часто называется системой зажигания с холостой искрой - " wasted spark"). Например, в 6-цилиндровом V-образном двигателе на цилиндрах 1 и 4 поршни занимают одно и то же положение (оба находятся в верхней и нижней мертвой точке одновременно) и движутся в унисон, но находятся на разных тактах. Когда цилиндр 1 находится на компрессионном ходу, цилиндр 4 - на такте выпуска, и наоборот. Общая схема системы DFS (DIS):

Высокое напряжение, вырабатываемое во вторичной обмотке, подается напрямую на каждую свечу зажигания. В одной из свечей зажигания искра проходит от центрального электрода к боковому электроду, а в другой свече искра проходит от бокового к центральному электроду:

Напряжение, необходимое для образования искры, определяется искровым промежутком и давлением сжатия. Если искровой промежуток между свечами обоих цилиндров равен, для разряда необходимо напряжение, пропорциональное давлению в цилиндре. Вырабатываемое высокое напряжение разделяется в соответствии с относительным давлением цилиндров. Цилиндр на ходу сжатия требует и использует больший разряд напряжения, чем на ходу выпуска. Это происходит потому, что цилиндр на ходу выпуска находится примерно под атмосферным давлением, поэтому расход энергии гораздо ниже.

По сравнению с системой зажигания с распределителем, общий расход энергии в системе без распределителя практически такой же. В системе зажигания без распределителя потеря энергии от искрового промежутка между ротором распределителя и клеммой колпачка заменяется потерей энергии на холостую искру в цилиндре на ходу выпуска.

Катушки зажигания в системе DFS могут устанавливаться как отдельно от свечей и связываться с ними высоковольтными проводами (как в системе EFS), так и прямо на свечах (как в системе COP, но в этом случае высоковольтные провода все равно используются для передачи разряда на свечи смежных цилиндров - условно такую систему можно назвать " DFS-COP"). Общая схема системы " DFS-COP":

Также в этой системе коммутаторы могут быть объединены с соответствующими катушками - вот как выглядит такой вариант на примере Mitsubishi Outlander:

6. Высоковольтные провода - соединяют накопитель энергии c распределителем или свечами и распределитель со свечами. В системах зажигания COP отсутствуют.

7. Свечи зажигания (spark plug) - необходимы для образования искрового разряда и зажигания рабочей смеси в камере сгорания двигателя. Свечи устанавливаются в головке цилиндра. Когда импульс тока высокого напряжения попадает на свечу зажигания, между ее электродами проскакивает искра - именно она воспламеняет рабочую смесь. Как правило, устанавливается по одной свече на цилиндр. Однако, бывают и более сложные системы с двумя свечами на цилиндр, причем не всегда свечи срабатывают одновременно (например, на Honda Civic Hybrid используется система DSI - Dual Sequential Ignition - при малых оборотах две свечи одного цилиндра срабатывают последовательно - сначала та из них, что ближе к впускному клапану, а затем вторая - чтобы топливовоздушная смесь сгорала быстрее и полнее).

Любая система зажигания четко делится на две части:

- низковольтную (первичную, англ. primary) цепь - включает первичную обмотку катушки зажигания и непосредственно связанные с ней цепи (прерывателя, коммутатора и других компонентов в зависимости от устройства конкретной системы).

- высоковольтную (вторичную, англ. secondary) цепь - включает вторичную обмотку катушки зажигания, систему распределения высоковольтной энергии, высоковольтные провода, свечи.

Учитывая все возможные модификации и комбинации приведенных Выше элементов, на автомобилях используются не менее 15-20 разновидностей систем зажигания.

 

<== предыдущая лекция | следующая лекция ==>
 | Предмет региональной экономики. Понятие и типологизация регионов.
Поделиться с друзьями:

mylektsii.su - Мои Лекции - 2015-2026 год. (0.659 сек.)Все материалы представленные на сайте исключительно с целью ознакомления читателями и не преследуют коммерческих целей или нарушение авторских прав Пожаловаться на материал